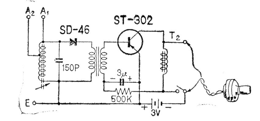
Este simple receptor de ondas medias se vendía en los años 60 en Japón. El circuito usaba transistores de germanio y la escucha hecha en auriculares de cristal. La alimentación era hecha por dos pilas. La bobina consiste en 20 + 80 espiras de hilo 28 a 32 en un bastón de ferrita.




