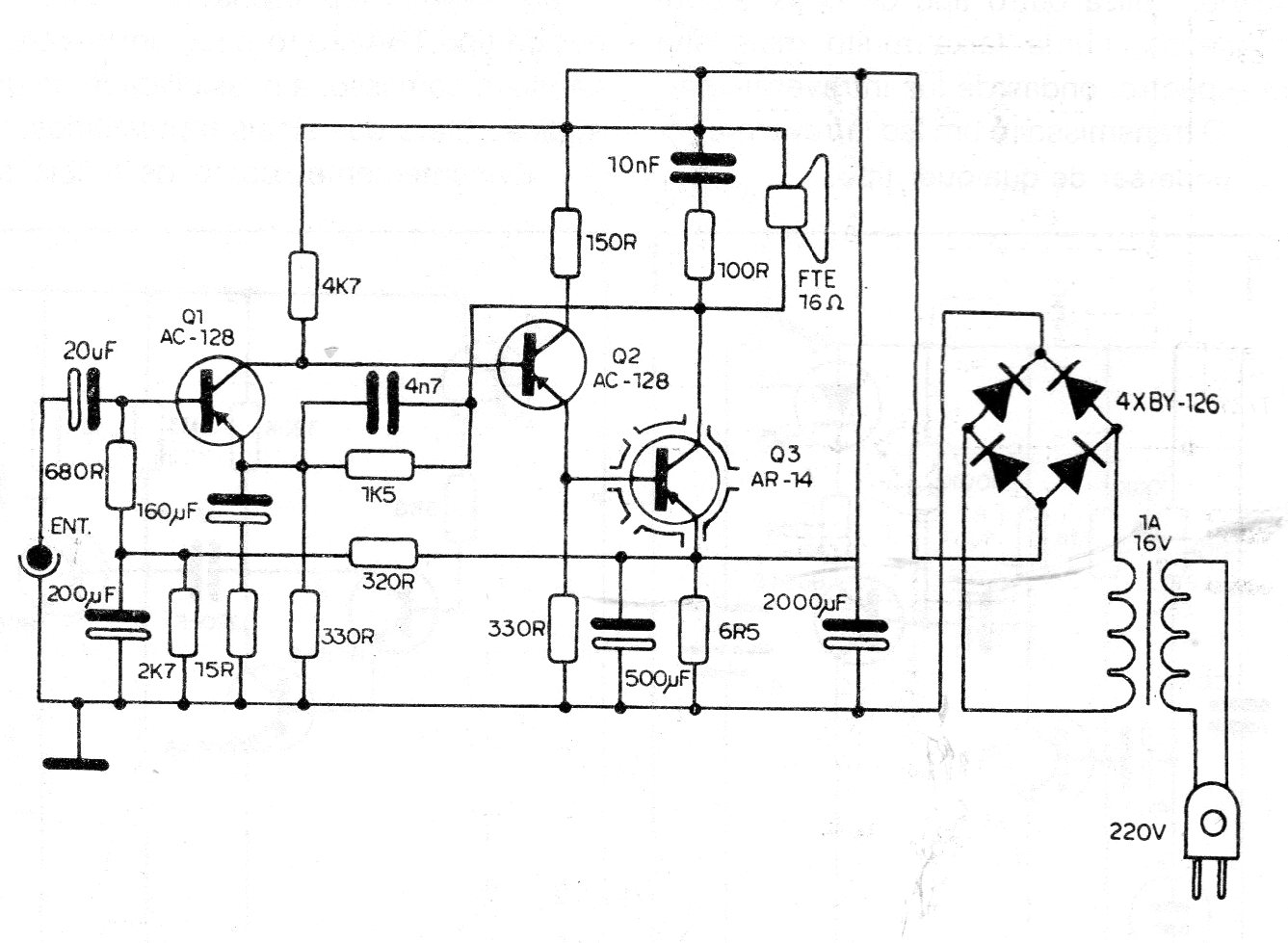
Esta configuración de amplificador poco común es de 1986. El circuito tiene una alta corriente de reposo dada la salida no complementaria y el transistor usado debe ser dotado de disipador de calor. Este transistor de salida puede ser reemplazado por un TIP42. El transformador es de 12 V con 2 A de corriente.




