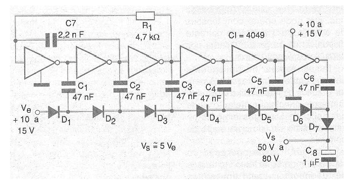
En este circuito tenemos la multiplicación de la tensión por 5, obteniéndose entre 50 y 80 V de salida cuando la tensión de entrada varía entre 10 y 15 V. Observe que el teorema de la conservación de energía es válido aquí, como en cualquier otro caso en que ocurren transformaciones de ese tipo. Cuanto mayor sea la tensión de salida, menor será la intensidad de la corriente obtenida. La frecuencia de operación depende de R1 y C7, componentes que pueden tener sus valores alterados en el sentido de obtener mejor rendimiento. También es importante observar que otros inversores pueden ser usados ??en la misma configuración y que varios de estos pasos pueden ser asociados en el sentido de aumentar aún más la tensión de salida. Por ejemplo, si se conecta D6 a la entrada de una etapa con otros seis inversores (sin osciladores), podemos multiplicar por 10 la tensión de entrada, obteniendo entre 100 y 150 V de salida cuando la tensión de entrada varía entre 10 y 15 V. Un circuito de este tipo se puede utilizar perfectamente para encender una lámpara de neón en serie con una resistencia de 220 k ohms a 1 M ohms en un sistema de señalización.




