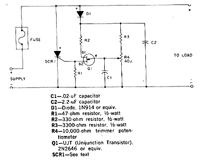
En una publicación de 1976, este circuito aprovecha el punto de disparo del unijuntura, que se puede ajustar en R4 para activar un SCR que pone en corto una fuente quemando el fusible. Así, podemos quemar el fusible cuando la tensión sobrepasa el valor ajustado, Protegiendo la carga alimentada. El SCR puede ser el TIC106 y la tensión de alimentación del circuito puede quedar en el rango de 9 a 30 V típicamente.




