Este dispositivo puede ser usado en instalaciones industriales, dentro de chimeneas, para activar automáticamente equipos anticontaminación o simplemente facilitar la monitorización del funcionamiento de hornos. Otra aplicación es como detector de incendios. El dispositivo actúa a través de un sistema óptico, que activa un relé cuando la intensidad de la luz incidente se altera debido a la presencia de humo.
La presencia de humo en un local altera su transparencia y por lo tanto, en capacidad para permitir el paso de la luz. Este hecho es aprovechado en este aparato para permitir la detección de humo o vapores.
Tenemos entonces un sensor sensible, que es activado por la luz que incide a partir de una lámpara común. El paso de la humareda disminuye la luz incidente, activando así el circuito que dispara un relé.
EI circuito es bastante sencillo, y puede controlar cargas de buena potencia como por ejemplo sistemas de alarma o incluso dispositivos anticontaminación (filtros electroestáticos).
El ajuste de sensibilidad permite llevar el circuito a la condición de disparo con el mínimo de cantidad de humo,
La alimentación, a partir de la red local, con su consumo muy bajo, permite que en funcionamiento sea permanente.
El circuito
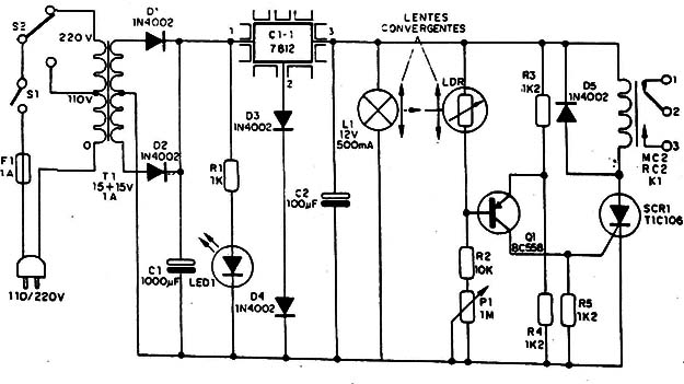
El sistema detector de humo se basa en una lámpara común de baja tensión y en un LDR. La lámpara ilumina el LDR, a través de un sistema de luces convergentes, de modo que la luz pase por el local donde puede haber humo.
EI LDR está conectado a la base de un transistor BC558, de modo tal que este transistor se mantenga en el corte en la presencia total de luz en el sensor.
El potenciômetro P1, conectado en el circuito de base del transistor, permite ajustar la polarización de modo que quede próximo a la conmutación. Con el corte de la luz, o mismo su reducción, el transistor pasa a conducir la corriente, polarizando así la compuerta del SCR.
Una pequeña cantidad de humo es suficiente para que obtengamos en el transistor una comente capaz de provocar el disparo del SCR. Con el disparo, el relé K1 cierra sus contactos, activando así el elemento externo, que puede ser una alarma o también un dispositivo anti-contaminación (como un filtro electroestático).
La fuente de alimentación puede hacerse a partir de un transformador de 15 + 15V x 1A. La tensión del secundario del transformador es rectificada y filtrada, para después ser disminuida a aproximadamente 13,2V en el integrado 7812.
Los 1,2V obtenidos de más, ya que el integrado es de 12V, son conseguidos gracias a D3 y D4 conectados en el terminal de tierra de este componente.
Precisamos una tensión un poco mayor que 12V para compensar los 2V de caída en el SCR, facilitando así el disparo del relé. La lámpara usada para excitar el sensor es del tipo usada en automóviles de 12V, con corriente máxima de 500 mA.
Nota: se puede usar LEDs remplazando la lámpara.
Montaje
Comenzamos por dar el diagrama completo de la alarma en la figura 1.

En la figura 2 tenemos nuestra sugerencia de placa de circuito impreso. Observe la necesidad de un disipador de calor en el integrado regulador de tensión.

Los resistores son todos de 1/8 ó 1/4W con 5 ó 10% de tolerancia, y el electrolítico C1 es de 25V. El C2 puede ser para 16V. El LED es opcional, y sirve sólo para indicar que el aparato está funcionando.
El potenciômetro de 1M puede ser lineal o logarítmico, y los diodos D1y D2 pueden ser sustituidos por equivalentes de mayor tensión.
El SCR puede ser el TlC106 o equivalente, con tensión de trabajo partir de 50V.
El relé, del tipo de 12V, que tiene corriente máxima de contactos de 2A. Para mayores corrientes en el sistema activado se debe usar un relé apropiado.
En la figura 3 tenemos el modo de hacer la instalación del sensor de la lámpara en el caso de una chimenea.

Los lentes son del tipo convergente, de modo de obtener un buen foco sobre el sensor.
Es importante que la lámpara y el sensor queden fuera de la misma chimenea, de modo que no sufran un eventual calentamiento que pueda alterar sus características eléctricas o incluso dañarlos.
Prueba y uso
En la figura 4 damos el modo de hacer la conexión de una carga externa, en el caso una chicharra común, que se disparará en cuanto se detecte humo.

Para probar el aparato es simple: coloque la lámpara de modo que ilumine el LDR. La distancia máxima de la lámpara al LDR puede ser de 3 metros aproximadamente.
El LDR en cuestión es del tipo redondo común de cualquier tamaño.
Conecte la alimentación y ajuste el Pt de modo que el relé abra sus contactos. Déjelo en el límite del disparo. Enseguida pase la mano entre el LDR y la lámpara. Debe ocurrir la activación del relé.
Experimente Soplando un poco de humo entre los dos elementos para verificar la sensibilidad, recordando que en este caso se debe evitar la luz ambiente.
Una vez comprobado el funcionamiento, sólo queda por hacer la instalación definitiva, y ajustar el equipo en P1 para el limite preciso de operación.
Como alarma de incendio, la instalación puede hacerse como muestra la figura 5.

Colocando el LDR y la lámpara en pequeños tubos opacos podemos separarlos a distancias de hasta 20 metros, ya que el circuito es bastante sensible. En caso de incendio el humo perturbará el pasaje de la luz al sensor, ocasionando así el disparo del circuito.
Vea que, como tenemos un SCR en circuito de corriente continua, una vez disparado, incluso aunque reajustemos P1 o restablezcamos la luz en el sensor, el disparo se mantendrá.
Para rearmar el circuito es preciso desconectar por un momento la alimentación. Este hecho debe ser considerado en el ajuste del funcionamiento.
Llegando al punto de disparo del relé, vuelva un poco al ajuste de P1 y desconecte por un instante la alimentación. En caso contrario el relé no abrirá sus contactos.
Dependiendo de su aplicación podrán ser monitorizadas dos o más chimeneas, con la conexión de dos LDRs en serie.




