El diseño descrito en este artículo es simple, pero de gran utilidad: una cerradura electrónica que sólo abre si un conjunto de llaves se coloca en una combinación secreta de posiciones. Si el botón de accionamiento se presiona en una combinación diferente, una alarma suena. El dispositivo está diseñado para funcionar con cerraduras conectadas a la red de energía, pero puede adaptarse a otros tipos de cerraduras.
Las cerraduras de código son dispositivos interesantes, sobre todo si el lector ha leído el libro Código Da Vinci y tiene una especial atracción por este tipo de dispositivo. La cerradura que describimos utiliza 4 llaves (o más) que deben colocarse en una combinación secreta de posiciones para que, al presionar el botón de apertura la cerradura abra, como muestra la figura 1.

Si se activa una combinación diferente, al presionar el botón toca una llamada o una alarma.
Como funciona
El circuito se basa en la operación de las llamadas llaves o interruptores de dos vías que se utilizan en el accionamiento de lámparas de corredores y escaleras, como muestra la figura 2.

En este circuito, podemos encender o apagar la lámpara controlada actuando sobre cualquiera de los dos interruptores (o llaves), colocados en las extremidades de un pasillo o escalera. Para obtener este tipo de accionamiento se utilizan llaves de 1 polo x 2 posiciones que se pueden encontrar con instalaciones en las casas de materiales eléctricos. La idea es utilizar estas claves para programar un código de accionamiento del tipo binario, como 0101 donde el 0 significa una posición y la otra posición, como muestra la figura 3.

Así, si las llaves se colocan en las posiciones que corresponden al código programado, la corriente encuentra un recorrido para la cerradura que se completa cuando presionamos el interruptor de presión de accionamiento. En una versión simple sólo podemos utilizar la combinación para accionar la cerradura, pero podemos usar las funciones adicionales para activar una alarma. Para este propósito se utilizan 4 diodos que, si una de las llaves no está en la posición correcta, al accionarse el botón de presión, quien recibe la alimentación es el timbre o la alarma.
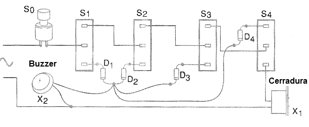
Montaje
En la figura 4 tenemos el diagrama completo de nuestra cerradura de código.

El aspecto real del montaje se muestra en la figura 5. Observe que no necesitamos placa de circuito impreso, ya que se trata de un montaje muy simple.

Las llaves son del tipo de dos vías, debiendo ser colocadas en un panel para fijación externa. Si el lugar está expuesto al tiempo se debe cuidar para que no haya peligro de penetración de agua de lluvia. Los diodos son rectificadores 1N4004 si la red es de 110 V y 1N4007 si la red es de 220 V.
La cerradura es del tipo magnético de puertas a las que hace uso de un solenoide. Evidentemente, el dispositivo también se puede utilizar para hacer el accionamiento de otras cosas como sistemas de llamada, desactivar una alarma, etc. La cigarra es del tipo de acuerdo con la red local. Existe la posibilidad de bloquear el circuito tocando una alarma si se coloca la combinación errónea de llaves y el botón de accionamiento presionado. Esto se hace con el circuito de la figura 6 que utiliza un SCR.

Para restablecer el circuito basta presionar el interruptor en paralelo con el SCR. Evite utilizar alarmas con simples cigarrillos que pueden quemarse si se tocan por mucho tiempo tocando. Recordamos finalmente que este circuito está conectado directamente a la red de energía y que todos los cuidados deben ser tomados para que no queden partes expuestas capaces de causar choques peligrosos.
D1 a D4 - 1N4004 o 1N4007 - diodos de silicio
S1 a S4 - Llaves o interruptores de dos vías
S5 - Interruptor de presión NA
X1 - Cerradura eléctrica
X2 - Cigarra de acuerdo con la red de energía
Varios:
Hilos, soldadura, caja para montaje, etc.



