Este circuito, que detecta la presencia de luz disparando un oscilador de potencia intermitente, tiene muchas utilidades. Una de ellas es como detector de intrusos o aviso de llegada de personas produciendo un sonido tan pronto como la luz sea encendida. Otra utilidad es como despertador solar, disparando, al amanecer. En el artículo, hablaremos de otras posibles aplicaciones que justifiquen su montaje. Este artículo forma parte de mi libro Proyectos prácticos de Alarmas.
Cuando se enciende la luz en un sensor el circuito dispara y produce un tono intermitente en un bocadillo o transductor piezoeléctrico de buen rendimiento. ¿Qué se puede hacer con esto? Si esta es la pregunta que usted hace incluso habiendo visto nuestra introducción, sin encontrar todavía alguna utilidad para el circuito, entonces ciertamente le falta un poco de imaginación. Algunas posibles aplicaciones para el aparato se dan a continuación.
* Dejarlo encendido sobre una mesa, durante la noche, si alguien penetra en el recinto y encender la luz o incluso iluminar inadvertidamente el local con una linterna (en el caso de un ladrón) la alarma dispara. Él puede servir para avisarle de la llegada, tarde de la noche, de un hijo desobediente, cogiéndolo "en el salto" para una "buena bronca"!
* Junto a una ventana, le avisará cuando el amanecer, disparando con el alba, como un despertador solar. También puede servir para detectar relámpagos, avisándole de la necesidad de cerrar alguna ventana o recoger algo que se ha dejado fuera.
* En un ambiente oscuro, puede disparar si alguna llama aparece, detectando así un inicio de incendio.
* En el taller podemos usarlo para detectar el accionamiento de luces indicadoras de un panel, cuando estamos en una posición desfavorable para su visualización.
En fin, las aplicaciones de nuestra alarma dependen exclusivamente de la imaginación y para ello no existen límites.
Características:
* Tensión de alimentación: 6 a 9 V
* Corriente en reposo: menor que 1 mA
* Corriente de disparo: 5 mA 9tip)
COMO FUNCIONA
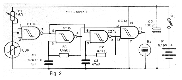
Una vez más, en proyectos de alarmas, usamos como base el circuito integrado 4093B que, por su versatilidad y bajo costo, ofrece las mejores soluciones prácticas. Este circuito integrado está formado por 4 puertas disparadores NAND de 2 entradas que se pueden utilizar de forma independiente.
La primera de ellas (CI-1a) se conecta como un simple inversor, siendo accionada por el sensor del circuito que consiste en un LDR común. P1 hace el ajuste del punto de accionamiento y por lo tanto de la sensibilidad. De esta forma, en la oscuridad cuando el LDR está con su alta resistencia, la entrada del inversor se mantiene en el nivel alto y con ello su salida en el nivel bajo.
Con la salida en el nivel bajo, el segundo bloque del aparato que consiste en dos osciladores con los puertos CI-1b y CI-1c se mantiene deshabilitados. Los osciladores en cuestión operan en frecuencias diferentes. El primero, formado por CI-1b opera en una frecuencia muy baja, de fracción de hertz, para generar bips que modular el sonido final.
El segundo, opera en una frecuencia de audio del orden de 7 kHz que corresponde al punto de mayor rendimiento de la mayoría de los transductores cerámicos comunes. De esta forma, cuando incide la luz en el LDR, el nivel de tensión en la entrada de la puerta CI-1a cambia, pasando a ser interpretado como bajo, lo que lleva la salida al nivel alto, disparando los dos osciladores. Sus señales se combinan en la cuarta puerta del circuito (CI-1d) que entonces entrega en su salida, para el transductor, bips compasivos.
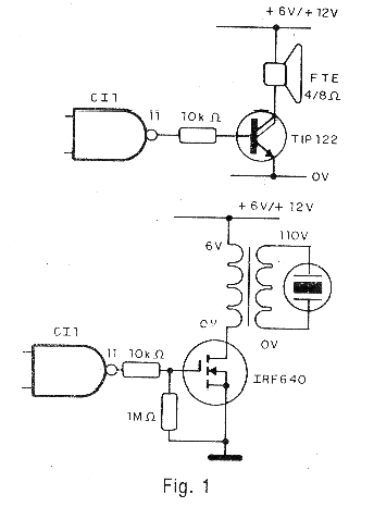
El transductor utilizado puede ser del tipo común piezoeléctrico sin oscilador o incluso una cápsula de micrófono de cristal o incluso un tweeter piezoeléctrico del que se haya retirado el pequeño transformador interno. Sin embargo, si el lector desea un tono más intenso, tenemos en la figura 1 dos circuitos de potencia de alta intensidad que pueden ser agregados al proyecto original.

El primero hace uso de un altavoz común y la alimentación del circuito se puede hacer con tensiones de hasta 12V. El transistor, sin embargo, debe montarse en un radiador de calor. Ver que tanto en esta versión como en la próxima, el consumo de corriente aumenta en el tacto, exigiendo una fuente un poco más potente como batería, pilas medias o grandes.
La segunda versión hace uso de un FET de potencia y un transductor que será alimentado con una tensión que puede superar los 300 V. Esto hace que produzca un sonido realmente intenso. Un tweeter piezoeléctrico se puede utilizar sin el transformador en esta versión.
MONTAJE
En la figura 2 tenemos el diagrama completo del aparato.

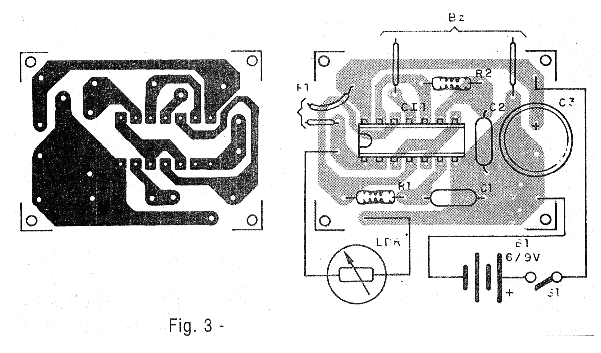
La disposición de los componentes en una placa de circuito impreso se muestra en la figura 3.

Para el circuito integrado sugerimos la utilización de un zócalo DIL de 14 pines. El LDR es del tipo redondo común de 1 ó 2,5 cm de diámetro. Cualquier tipo sirve, incluso los aprovechados de televisores antiguos que tengan control automático de brillo. El transductor no es más que una cápsula piezoeléctrica, incluso de auriculares o micrófonos o incluso un tweeter piezoeléctrico del que se haya retirado el pequeño transformador interno.
Para la alimentación de la versión básica podemos utilizar pilas o batería y el potenciómetro P1 puede ser reemplazado por un trimpot para obtener una unidad más compacta.
PRUEBA Y USO
Para probar la unidad, colóquela en un lugar poco iluminado y, después de conectar la alimentación, ajuste P1 para que no produzca ningún sonido. Encienda la luz ambiental o deje entrar más luz en el lugar. La alarma debe dispararse.
Para utilizar el aparato, basta con dejarlo en un lugar poco iluminado pero que reciba la luz del ambiente, si alguien entra en el lugar o enciende la luz principal.
Para detectar el encendido de una lámpara indicadora en un panel, basta con apuntar el LDR al lugar. Para ello se debe montar en un tubo opaco. Se ajusta entonces P1 para que no haya sonido cuando la luz esté apagada.
Semiconductores:
CI-1 - 4093B - circuito integrado CMOS
Resistores: (1/ 8 W, 5%)
R1 - 1,5 M ohms
R2 - 47 k ohms
P1 - 1 M ohms - potenciómetro
Capacitores:
C1 - 470 nF - poliéster o cerámico
C2 - 47 nF - poliéster o cerámico
C3 - 100 uF / 12V - electrolítico
Varios:
LDR-Foto-resistor LDR común
BZ - Transductor piezoeléctrico - ver texto
S1 - Interruptor simple
B1 - 6 o 9V- 4 pilas o batería
Placa de circuito impreso, caja para montaje, botón para el potenciómetro, soporte de pilas o conector de batería, hilos, soldadura, etc.



