Este articula ofrece dos proyectos para el hobista y el principiante, (o sea dos buenos seguidores de nuestra revista): san proyectos recreativos que pueden servir para demostraciones, juguetes y aplicaciones domésticas, con resultados sorprendentes.
SINTONIZADOR DE AM
Si usted tiene un amplificador de audio potente, pero sin sintonizador de AM, es la oportunidad de oír además música de las emisoras locales de modo simple y barato. Describimos un sintonizador muy sencillo para la banda de AM que permite captar con excelente calidad de sonido las emisoras locales o más potentes.
El circuito
Tenemos simplemente una etapa de amplificación directa después de un detector con diodo. La señal de la estación es captada por la antena y seleccionada en el circuito formado por L1/CV, pasando entonces por el detector.
La serial de audio resultante es llevada a un transistor en la configuración de emisor común.
La amplificación es suficiente para excitar la mayoría de los amplificadores de audio con toda la potencia. La fidelidad obtenida es excelente. ya que no existen elementos en el circuito que puedan causar distorsiones.
De esta forma, la calidad de audio de pende exclusivamente del amplificador usado.
Montaje
En la figura 1 tenemos el diagrama completo de este sintonizador . Su montaje en una placa pequeña de circuito impreso, que puede ser alojada en una caja plástica, juntamente con las pilas o batería, aparece en la figura 2.


El consumo de corriente de la unidad es muy bajo, lo que posibilita el uso de baterías de 9V.
Los resistores son de 1/8W y la bobina Ll debe ser arrollada en una barra de ferrite de aproximadamente 0,8 cm de diámetro con 10 a 20 cm de largo.
Bobinamos 100 vueltas de alambre 28 AWG (0.3211mm de diámetro) con derivación en la 25º o 30º espira del lado de tierra.
El variable es del tipo de radio AM con capacidad máxima del orden de 300 pF y el diodo D1 debe ser, obligatoriamente, de germanio, como el 1N34, para mayor sensibilidad. Los capacitores son todos cerámicos.
La conexión del sintonizador al amplificador debe hacerse por medio de alambre blindado. Un conector RCA en este cable permite la conexión en la entrada AUX del amplificador.
Una aplicación interesante consiste en la utilización de grabadores de casete como radios, ya que podemos conectar este circuito en la entrada del micrófono y colocar el grabador en la posición de monitoria, teniendo así la reproducción (sin grabar) del sonido de la estación.
Prueba y uso
Para estaciones locales más fuertes la antena consiste en un trozo de alambre de 2 a 3 m, extendido la conexión a tierra se puede hacer con cualquier objeto de metal, incluso la tierra del amplificador, si el mismo no fuera alimentado a pilas. Para estaciones débiles se debe usar una antena más larga
Conectando la unidad en la entrada de un amplificador y actuando sobre el variable. las estaciones locales más fuertes deben ser captadas con claridad. Si hubiera ronquido, verifique el blindaje del cable de conexión al amplificador.
Si hubiera distorsión altere el valor de R2 hasta obtener un sonido puro. Ajuste el volumen del amplificador para la mejor calidad de sonido posible.

AMPLIFICADOR DE MEDIANA POTENCIA
Esta excelente etapa transistorizada puede proporcionar algunos watts de salida en un parlante de 4 ohm, sirviendo de base para diversas aplicaciones, tales como un reforzador para grabadores de casetes, un intercomunicador o portero eléctrico, reforzador para walkman, etc.
Por supuesto que existen integrados especializados que pueden hacer lo mismo que este circuito, pero su divulgación se justifica por el hecho de que podemos aprovechar componentes de rezago o incluso transistores que son más fáciles de encontrar en los comercios y que admiten equivalentes.
El circuito puede ser alimentado con tensiones de 9 a 12V, lo que permite su uso incluso en el auto.
El circuito
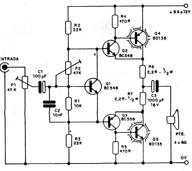
El circuito consiste en una etapa de salida en simetría complementaria con 4 transistores y un quinto (QI) usado en la estabilización de la corriente, en función de la temperatura. Este transistor debe ser montado junto al disipador de color de los transistores Q4 y Q5 para compensar el circuito con la elevación de la temperatura.
Para excitación tenemos P1, que controla el nivel de serial (que debe ser relativamente alto). Esto significa que debemos usar este circuito con fuentes de alguna potencia, como en las aplicaciones indicadas, y para el caso de fuentes de baja intensidad precisaremos un preamplificador.
Montaje
En la figura 3 tenemos el diagrama completo de este amplificador.

En la figura 4 tenemos nuestra sugerencia de placa de circuito impreso.

Los resistores son todos de 1/8W, excepto R6 y R7 que deben se de 1/2W.
Los transistores Q4 y Q5 deben ser dotados de disipadores de calor y admiten equivalentes como el TIP29 y el TIP30.
Los capacitores electrolíticos son para 16V o más y C2 puede ser de poliéster o cerámica.
Ajuste y uso
En la salida del amplificador debe conectarse un parlante de 4 ohm de buena calidad (por 10 menos 10 cm), en una pequeña caja acústica. la fuente de alimentación debe ser capaz de proporcionar por 10 menos 500 mA.
Conecte en serie con la alimentación un miliamperímetro (multímetro en la escala más alta de comente) y ajuste P2 para una comente de raposo del orden de 500 mA.




