En nuestro curso estudiamos el funcionamiento de las etapas de una fuente de alimentación convencional. Si bien en la parte práctica dimos una fuente experimental para verificación del comportamiento del circuito, todavía no hemos llegado a los cálculos que nos permitan dar las de dimensiones correctas a los componentes usados. Pero incluso así, a partir de algunos conocimientos empíricos, podemos ya proyectar y montar pequeñas fuentes para alimentar nuestros aparatos. Las fuentes son buenas para las aplicaciones que sean tolerantes a las variaciones de tensiones, pero daremos recursos que permitan una buena regulación.
Como estudiamos en el curso, las fuentes de alimentación deben proveer en su salida una tensión continua para alimentar una carga que puede ser desde un simple resistor o una lámpara, hasta un circuito completo como un amplificador, una radio o una calculadora.
Vimos que las fuentes del tipo estudiado se caracterizan por presentar una tensión de salida sin carga mayor que con carga, o sea, el hecho de que el diodo conduzca semiciclos senoidales necesitando un capacitor, hace que, dependiendo de la comente que sea exigida por la carga, ocurran variaciones de tensión. El gráfico de la figura 1 ilustra más o menos lo que ocurre.

Así, una fuente que presenta en su salida una tensión de 8 ó 9V, cuando solicitamos la corriente máxima, verá una reducción en la tensión de salida a 5 o 6 Volt.
Las llamadas fuentes de alimentación comerciales o "eliminadores de pilas", presentan de forma bien nítida este fenómeno: cuando medimos la tensión en la salida de una fuente de este tipo, sin el aparato quela misma debe alimentar conectado, el valor encontrado es mucho más alto que el especificado (en una fuente de 6V podemos encontrar 7,5 u 8 típicamente). Esto ocurre, porque el fabricante prevé que con la conexión dela carga (aparato alimentado) esta tensión caerá a los 6V que el mismo necesita y para el cual está especificada la fuente.
Mientras tanto, es preciso observar que esta caída también depende del consumo de comente y el mismo puede variar con el volumen (en el caso de una radio), con la fuerza (caso de un motor) o con la luminosidad ajustada (si se tratara de una lámpara).
Si el aparato alimentado no fuera muy exigente en cuanto al valor de la tensión aplicada (como las radiecitos, grabadores y calculadoras), admitiendo algunas variaciones, estas fuentes pueden ser empleadas a voluntad, pero esto no ocurre con ciertos dispositivos electrónicos más críticos.
Para estos casos debemos usar fuentes que tengan regulación electrónica, o sea, tengan recursos que mantengan constante la tensión de salida (en 6V, por ejemplo), independientemente de la corriente que selo solicite.
En la figura 2 tenemos un gráfico que muestra como una tensión, prácticamente es independiente dela corriente de salida en una fuente estabilizada para una buena banda de valores de corriente.

Vea que una fuente de alimentación, en principio debe ser una fuente de tensión constante. En la práctica, solamente las fuentes bien reguladas lo son, pero para pequeñas experiencias en el taller, para el trabajo menos critico, pueden ser útiles las fuentes no reguladas, y por eso describiremos dos para que usted las monte.
Elección de los componentes
La tensión que nuestra fuente va a proporcionar depende fundamentalmente de los componentes. Del mismo modo, la corriente máxima también depende de estos componentes.
En relación a la corriente máxima vale una pequeña observación para los lectores: cuando se proyecta un circuito electrónico, generalmente se lija su tensión de alimentación, siendo la corriente exigida una consecuencia de ésta y delas otras características.
Así, conectando a una fuente de alimentación un circuito que necesite 6V y que precisa una comente de, digamos, 100 mA, no importa cuanto esta fuente sea capaz de proveer comente, si 100mA ó 10A, que e] circuito drenará (será recorrido) solamente por los 100mA que precisa.
Esto significa que, cuando alimentamos algún circuito o dispositivo por una fuente, tenemos que preocupamos apenas por dos cosas: que la fuente provea la tensión que el circuito necesita y que la fuente sea capaz de proveer como mínimo la corriente que el circuito necesita, no importando si su corriente máxima es mayor.
Esto significa que una fuente de 6V x 500 mA sirve perfectamente para alimentar una radio o amplificador que exija 6V x 100mA solamente, sin peligro de daño. Inclusive, tenemos a partir de los datos del consumo de la radio, la información que podemos conectar en la misma fuente hasta 5 de estas radios sin problemas.
En la práctica siempre os bueno dar un margen de seguridad a la fuente en lo que se refiere al valor dela corriente: si el aparato exige 300 mA, dimensionamos la fuente en 500mA.
¿Como determinar esta dimensión?
El primer componente es el transformador. Su secundario debe tener la corriente que la fuente debe proveer. La tensión debe ser elegida, recordando que después de la rectificación, en circuito abierto, el valor quedará multiplicado por aproximadamente 1,41 (valor de pica de la tensión).
Así, una fuente que use un transformador de 6 + 6V, después de la rectificación, tendrá en la salida (en circuito abierto) una tensión de 8,4V que caerá a 7 ó menos con la presencia de la carga, dependiendo del valor de los demás componentes usados.
Los diodos deben ser especificados para soportar una corriente por lo menos igual a la que se pretende en la salida. Debemos observar que en el caso de la fuente con rectificación de onda completa, como cada diodo conduce apenas la mitad de los semiciclos, o sea, está "trabajando" sólo la mitad del tiempo, podemos, sin sobredimensionar la fuente, duplicar el valor de salida. Así, para rectificación en puente u onda completa, se pueden usar diodos 1N4002 ó 1N4007 para un Ampere en fuentes de hasta 2 Ampere.
La tensión inversa que el diodo debe soportar, por medida de seguridad, debe ser por lo menos el doble de la tensión del secundario del transformador. Así, para 6V de secundario, que corresponde a un valor de pico de 8,4V, usamos diodos de por 10 menos 16V (partimos de 20 dada la facilidad de encontrar este componente).
Para el capacitor lo ideal sería el mayor valor posible. Sin embargo, esto también significa costo más alto. Para un buen filtrado, una reglita general (que explicaremos en las lecciones teóricas) es usar 1.000 µF para cada Ampere en fuentes entre 6 a 15 Volt. Este valor mínimo garantiza un buen filtrado para la mayoría de las aplicaciones.
La tensión del capacitor debe ser por lo menos 50% mayor que el valor de pico con el cual el mismo se va a cargar en los semiciclos de conducción de los diodos. Para 6V tenemos 8,4V de pico que, con 40%, de aumento, nos lleva a 12,6V. Debemos usar capacitores de por 10 menos 12V en este caso.
Montaje
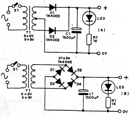
En la figura 3 tenemos los dos diagramas posibles, usando transformadores con toma central e sin toma central.

La corriente máxima depende del transformador, quedando en 2A dadas las características de los diodos.
En la figura 4 tenemos el aspecto del montaje.

Los componentes pueden ser instalados en una pequeña caja con bornes para conexión del circuito alimentado.
El resistor es de 1/8 o 1/4W y el LED sirve para indicar el funcionamiento de la fuente. El interruptor S1 sirve para conectar y desconectar.
El bobinado primario del transformador debe tener tensión de acuerdo con su red (127V o 220V).
Uso
La fuente con transformador de 6V puede ser usada en la alimentación de aparatos que funcionen normalmente con tensiones entre 6 y 8,5V. La fu-ente con transformador de 9V debe usarse en aparatos que precisen tensiones entre 9 y 13V.
Si el consumo de corriente del aparato alimentado fuera grande, debe considerar quela caída a partir del valor de pico será mayor.




