Uno de los problemas de la utilización de acopladores ópticos en la transmisión de pulsos es la velocidad de respuesta de estos dispositivos. La pequeña velocidad deforma el pulso y puede causar errores de recepción.
Con el circuito sugerido por Motorola, que describimos en este artículo, es posible amplificar pulsos de un acoplador con una velocidad de respuesta muy alta.
Los fototransistores usados en los acopladores ópticos como receptores poseen limitaciones de velocidad que pueden ser contorneadas con algunos artificios relativamente simples.
Una de ellas es la realimentación positiva, que permite aumentar en hasta 4 veces el tiempo de ascenso de un pulso, llevando entonces el dispositivo a la posibilidad de operar en sistemas rápidos de transferencia de datos como lo que describimos en este artículo.
El circuito, que debe excitarse con una corriente de al menos 15 mA, tiene un tiempo de respuesta de sólo 0,5 us, como muestran las formas de onda de entrada y salida de la figura 1.

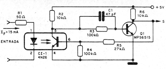
El secreto de la velocidad de este circuito está en la realimentación positiva aplicada a la base del transistor a través de la resistencia R5.
Montaje
En la figura 2 tenemos el diagrama de este sistema acoplador usando como base un 4N26 o equivalente.

La disposición de los componentes en una placa de circuito impreso se muestra en la figura 3.

El acoplador se puede instalar en un zócalo DIL, y el transistor admite el equivalente.
El transistor original (MPS6S15) tiene las siguientes características:
V (BR) ceo 7-5 V
fT = 480 MHz
hFE = 250 a 500
IC = mA
La alimentación se realiza con una tensión de 5 V y, como el consumo es muy bajo, se puede aprovechar la fuente de eventual equipamiento al que se conecta el sistema.
Semiconductores:
Cl1 - 4N26 - acoplador óptico
Q1 - MPS6515 o equivalente - transistores NPN de uso general
Resistores (1/8 W, 5%):
R1 - 50 ohms
R2, R6 - 10 k ohms
R3, R4 - 100 ohms
R5 - 27 k ohms
Capacitor:
C1 - 47 pF - cerámico
Varios
Placa de circuito impreso, zócalo DIL de 6 pinos, cables de conexión, material para fuente de alimentación, hilos, soldadura, etc.



