Este circuito dispara un relé cuando el sensor, un diodo común, se calienta más allá de una temperatura preajustada. La principal característica del diseño es la baja corriente de espera, que permite su alimentación con batería.
Este circuito puede ser utilizado como monitor de temperatura o alarma de incendio, caracterizándose por su simplicidad y por el uso de un diodo común como sensor.
Un "super-transistor" Darlington BCS17 garantiza una excelente sensibilidad, incluso utilizando como sensor un diodo común de silicio.
Cuando el diodo calienta un relé cierra sus contactos y así permanece aunque el sensor sea destruido, lo que es importante en el caso de una alarma contra incendios.
Para rearmar el circuito es necesario presionar un interruptor junto al SCR.
Con el relé indicado, la carga es 'de 2 A como máximo, sin embargo, para una sirena de mayor potencia, podemos sustituirlo por otro de 10 A.
Características:
Tensión de alimentación: 12 V
Corriente de reposo: inferior a 2 mA
Corriente de carga: 2 A
Temperatura de disparo ajustable entre 50 y 120 ° C
COMO FUNCIONA
Un diodo polarizado en sentido inverso es el sensor. En este diodo la corriente de fuga depende de la temperatura, siendo del orden algunos de los microampères en el rango de operación sugerido.
Esta corriente es la corriente de base de un transistor Darlington de baja potencia del tipo NPN, que está conectado a la compuerta de un SCR común.
La carga de ánodo del SCR es un relé que controla la carga externa.
Se ajusta entonces la corriente de emisor del transistor de modo que ella fique en el umbral de disparo del SCR.
Si el sensor se calienta esta corriente aumenta y tenemos el disparo del SCR.
Ver que incluso destruyendo el sensor, en caso de incendio, el SCR se mantiene disparado.
Para apagar el sistema es necesario reducir a cero la tensión entre el ánodo y el cátodo, lo que se logra presionando por un instante el interruptor S2.
El sensor se puede conectar al circuito por medio de un cable largo e incluso varios de ellos pueden conectarse en paralelo.
Esto permite supervisar varios lugares al mismo tiempo.
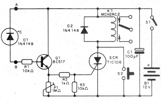
En la figura 1 tenemos el diagrama completo del aparato.

MONTAJE
En la figura 2 tenemos la disposición de los componentes en una placa de circuito impreso, teniendo como base el relé de base DIL.

Si se utiliza un relé de mayor potencia, como se debe cambiar el diseño de esta tarjeta.
A falta del BC517 también se pueden utilizar dos BC548 en la configuración de Darlington.
El sensor puede ser cualquier diodo de silicio de uso general.
Si el cable de conexión al sensor es largo, debe ser blindado para que los ruidos no causen el disparo errático de la alarma.
Un capacitor de 100 nF en paralelo con la entrada puede ayudar a evitar la captación de ruidos que causan el disparo errático con cables cortos no blindados.
El SCR puede ser cualquiera de la serie TIC106 y no necesita radiador de calor.
PRUEBA Y USO
Para probar el aparato, alimente el circuito después de colocar P1 en la posición de menor resistencia. Vaya, lentamente, ajustando P1 hasta obtener el disparo del relé.
Cuando esto ocurra, vuelva un poco el ajuste de P1 y apriete S2 para rearmar el circuito. Si el relé se cierra de nuevo, vuelva un poco más el ajuste de P1 y apriete S2.
Repita esta operación hasta que el relé quede desenergizado.
Ahora, sosteniendo el sensor entre los dedos, o acercándolo a un cuerpo calentado como la punta de un hierro de soldar (sin tapar), el calor debe provocar el disparo del relé.
Para rearmar, espere a que el sensor se enfríe y apriete S2.
Comprobado el funcionamiento, proceda a la instalación de la alarma. En la figura 3 tenemos el modo de hacer la conexión de una sirena o bocina en el relé.

En la instalación, varios sensores se pueden conectar en paralelo y con cables de hasta 50 m, siempre que estén blindados.
El sensor debe quedar en un lugar que pueda recibir calor, pero no humedad, pues la humedad excesiva puede causar el disparo errático de la alarma.
Semicondutores:
Q1 - BC517 - transistores Darllngton NPN
D1 - 1N4148 o equivalente - diodo de silicio - ver el texto
D2 - 1N4148 o 1N4002 - diodo de silicio
SCR - TlC106 - diodo controlado de silicio
Resistores (1/8 W, 5%):
R1, R3 - 10 k ohms
R2 - 1 k ohms
P1 - trimpot de 1 M ohms
Capacitor:
C1 - 100 uF - electrolítico de 16 V
Varios:
K1 - - Relé de 12 V x 50 mA
S1 - Interruptor simple
S2 - Interruptor de presión
B1 - 12 V - pilas, fuente o batería
Placa de circuito impreso, caja para montaje, zócalo DIL para el relé, hilos, soldadura, etc.



