Aprovechando la salida para los amplificadores externos, podemos transmitir los sonidos del ordenador, como los obtenidos en grabaciones de Youtube para un equipo que tenga FM potente cerca.
Describimos el montaje de un pequeño transmisor de FM cuya señal se obtiene en la salida de audio de un ordenador (PC).
El transmisor tiene un alcance del orden de 100 metros, con buenas condiciones de propagación y en lugar con poca interferencia.
El montaje es muy simple y el transmisor es alimentado por pilas, con un consumo pequeño.
Montaje
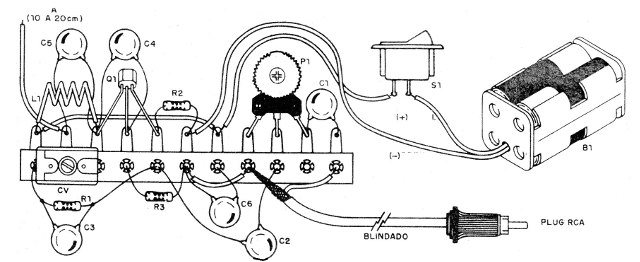
En la figura 1 tenemos el diagrama completo del transmisor.

Si bien no es la más recomendada, el montaje se puede realizar en un pequeño puente de terminales con la disposición de componentes mostrada en la figura 2.

Los capacitores deben ser todos cerámicos y sus terminales, así como los demás componentes, deben mantenerse bien cortos.
La bobina consta de 4 espiras de hilo telefónico sólido con un diámetro de 1 cm sin núcleo.
El trimmer puede ser de tipo más moderno de plástico y los resistores son de 1/8 W con cualquier tolerancia.
En la figura 3 tenemos el modo de soldar el cable a un jack RCA si la salida de su computadora es de ese tipo.

La antena consiste en un pedazo de hilo de 10 cm a 30 cm y el conjunto se puede instalar en una pequeña caja plástica.
Para utilizar, basta conectar el circuito a una de las salidas de sonido, pues la transmisión es mono, y ajustar CV para captar la señal en una frecuencia libre del rango de FM.
Ajuste el trimpot para que la modulación no tenga distorsiones.
Q1 - BF494 - transistores NPN de RF
P1 - 10 k ohmios - trimpot
A - ver el texto
S1- interruptor simple
B1 - 6 V - 4 pilas pequeñas
CV - trimmer de 2-20 a 4-40 pF
L1 - Bobina - ver el texto
C1, C2 - 10 nF - capacitores cerámicos
C3 - 2n2 - capacitor de cerámica
C4 - 5p6 - capacitor de cerámica
C5 - 10 pF - capacitor de cerámica
C6 - 100 nF - capacitor de cerámica
R1 -15 k ohms - resistor - marrón, verde, naranja
R2 - 10 k ohms - resistor - marrón, negro, naranja
R3 - 47 ohms - resistor - amarillo, violeta, negro
Varios: Puente de terminales, soporte de pilas, enchufe de acuerdo con la salida del PC, hilos, soldadura, etc.



