Este efecto de luz rítmica de alta potencia para lámparas incandescentes tiene la seguridad del aislamiento óptico, protegiendo el sistema de sonido contra cualquier problema que ocurra en el circuito. Utilizando componentes de bajo costo es sencillo de montar.
El circuito presentado utiliza algunos componentes que pueden presentar alguna dificultad de obtención, siendo recomendado que se verifique su disponibilidad antes de partir para el montaje.
Son el transformador de pulso con relación de 1: 1 y el transistor unijunción, ya que el acoplador y el triac son bastante comunes.
Con el triac recomendado se pueden controlar hasta 400 W de lámparas en la red de 110 V y 800 W en la red de 220 V con un buen margen de seguridad para el triac.
Como el circuito no está aislado de la red de energía, el máximo de cuidado debe ser tomado para no dejarse partes expuestas que puedan causar choques peligrosos.
Como funciona
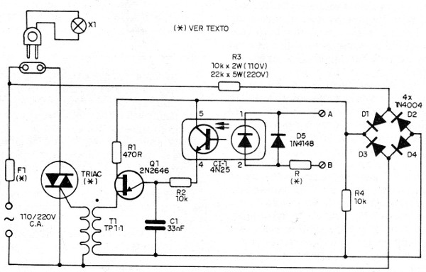
La modulación de la corriente que el triac envía a las lámparas incandescentes es hecha por un circuito oscilador con transistores unijunción.
Así, como muestra la figura 1, el punto de disparo con las muñecas de este transistor determina la potencia que pasa a las lámparas.

El oscilador de relajación con el transistor unijuntura es modulado por una señal que viene del amplificador a través de un acoplador óptico.
Como muestra la figura 2, el acoplador tiene un LED emisor y un foto-transistor, de modo que la señal pasa de uno a otro a través de luz.

El resultado es un aislamiento total del circuito que acciona el LED del circuito de control del foro-transistor.
La baja tensión que alimenta el oscilador viene de un sistema simple con un resistor reductor y un puente de diodos.
Montaje
En la figura 3 tenemos el diagrama completo del sistema de luces rítmicas.

El montaje basado en una placa de circuito impreso se muestra en la figura 4.

Observe que el triac se monta fuera de la placa, dadas las corrientes más intensas que debe controlar.
Este componente debe tener sufijo B o D si la red es de 110 V y D si la red es de 220 V, y también utilizar un buen disipador de calor.
Para la conexión de las lámparas se puede utilizar una toma común y el fusible dimensionado de acuerdo con la cantidad de lámparas.
Utilice 2 A para cada 100 A de lámparas.
Los resistores son de 1/8 W con cualquier tolerancia y los demás componentes son de acuerdo con la lista de materiales.
La resistencia R depende de la potencia del amplificador, siendo su valor dado por la siguiente tabla.
Potencia - Valor de R
Hasta 5 W - 330 ohms
5 a 20 W - 680 ohms
20 a 50 W - 1k2 ohms
50 a 100 W - 2k2 ohms
En la figura 5 tenemos el modo de hacer la conexión del aparato a la salida de un amplificador monofónico.

Para conectar el circuito a uno de los canales de un amplificador estéreo con varias lámparas en paralelo, tenemos la conexión mostrada en la figura 6.

El encendido de las lámparas depende del volumen con el que se ejecuta la música.
Así cuando se cambia el volumen del amplificador es necesario que haya una compensación en el sistema de luces rítmicas.
Esto se puede hacer con un control formado por un potenciómetro como se muestra en la figura 7.

El potenciómetro utilizado debe ser de hilo.
CI-1 - 4N25 - acoplador óptico
Q1 - 2N2646 - transistores unijunción
Triac - TIC226 B o D - ver texto
D1 a D4 - 1N4004 - diodos de silicio
T1 - Transformador de pulso 1: 1
F1 - Fusible - ver texto
R1 - 470 ohms - resistor - amarillo, violeta, marrón
R2, R4 - 10 k ohms - resistores - marrón, negro, naranja
R3 - 10 k ohms x 2 W (110 V) o 22k ohms x 1 W (220 V) - resistores de hilo
R - ver el texto
C1 - 33 nF - capacitor de cerámica o poliéster
Varios:
Placa de circuito impreso, cable de fuerza, caja para montaje, radiador para el triac, soporte de fusible, toma, cables, etc.



