Este circuito utiliza un sensor de tacto para disparar un relé por un tiempo programado que puede variar entre algunos segundos a varios minutos, El circuito puede ser alimentado tanto por pilas como por fuente.
Este circuito se basa en un 555 en la configuración monoestable disparada por el toque de los dedos en un sensor.
Bastante sensible las cargas que puede controlar dependen sólo de la capacidad de los contactos del relé.
El tiempo depende del capacitor X1 que puede tener valores de 1 uF a 470 uF o incluso más, si el capacitor usado es de buena calidad.
Con 470 uF tendremos una temporización del orden de 10 minutos.
Montaje
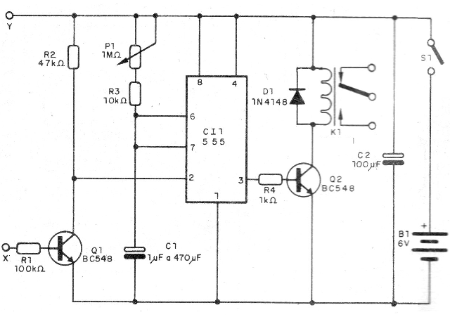
En la figura 1 tenemos el diagrama completo del temporizador.

El montaje se puede realizar en una placa de circuito impreso con la disposición de los componentes mostrada en la figura 2.

En el montaje, observe las posiciones del circuito integrado y de los transistores.
Esta placa prevé el uso de un relé DIL sensible, pero si se utilizan otros tipos, se debe cambiar el diseño de la placa.
Los resistores son de 1/8 W con cualquier tolerancia y los capacitores electrolíticos son para 6 V o más de tensión de trabajo.
Para el sensor tenemos dos posibilidades.
Una de ellas consiste en usar dos planchas que se deben tocar al mismo tiempo.
La otra consiste en un sensor con chapa de metal única, conectando el punto Y del circuito a la tierra oa un objeto de metal de gran porte que sirva como tierra.
La figura 3 muestra las dos opciones de sensores, recordando que el hilo del sensor, en este caso, no puede ser muy largo.

La fuente de alimentación, si se utiliza, no puede ser del tipo sin transformador, por motivos de seguridad.
En la figura 4 tenemos el modo de conectar una carga que deba ser controlada por el aparato.

CI-1 - 555 - circuito integrado
Q1, Q2 - BC548 - transistores NPN de uso general
D1 - 1N4148 - diodo de uso general
B1 - 6 V - 4 pilas o fuente
S1 - Interruptor simple
K1 - Relé de 6 V x 100 mA - DIL
P1 - 1 M ohms - pote o trimpot
R1 - 100 k ohms - resistor - marrón, negro, amarillo
R2 - 47 k ohms - resistor - amarillo, violeta, naranja
R3 - 1 k ohms - resistor - marrón, negro, rojo
C1 - 1 a 470 uF - capacitor electrolítico - ver texto
C2 - 100 uF -capacitor electrolítico
Varios:
Placa de circuito impreso, soporte de pilas, caja para montaje, hilos, soldadura, etc.



