El desarrollo de proyectos que usan relés exige a veces que tengamos a disposición circuitos diversos de excitación y que pueden dar algún trabajo en la elaboración. Si tenemos un módulo que contiene un relé con diversas posibilidades de excitación el desarrollo de proyectos, sin duda será facilitado. El proyecto que describimos aquí tiene justamente esta finalidad y es de gran utilidad en la bancada del proyectista.
Nota: a pesar de ser un proyecto elemental antiguo, sirve perfectamente como un shield de proyectos para montajes usando microcontroladores.
Los proyectos que usan relés pueden requerir desde simples pasos de excitación hasta etapas más sensibles, dada la corriente muy baja que suministran, sin hablar de los proyectos que pueden incluso excitar directamente este componente.
En el desarrollo de proyectos que usan relés, la disponibilidad de un tipo universal para pruebas puede ser muy útil, pues ahorra tiempo con verificaciones o diseños y placas.
Lo que describimos en este artículo es un módulo de relé para experimentación con características muy amplias, a tal punto que podemos decir que se trata de un relé universal.
Entre las características que hacen este proyecto ideal para la experimentación destacamos:
Operación tanto con tensiones de 6 como 12 volts en la alimentación e incluso valores intermedios.
Corrientes de excitación que van desde 100 mA hasta menos de 10 uA.
Posee control de sensibilidad agregada.
Puede ser disparado directamente por sensores, tales como: LDR, foto-transistores y termistores.
Contactos reversibles para 4 ampères
Facilidad de conexión externa con la expansión de componentes por medio de barra de terminales con tornillos.
Utiliza componentes comunes y relé de bajo costo.
COMO FUNCIONA
La idea básica del proyecto es colocar en una caja un relé de características universales y agregar elementos que permitan su excitación de diversas maneras.
El acceso a los componentes para mayor facilidad de uso en una bancada de desarrollo se realiza por medio de barra de terminales con tornillos.
Así, tenemos primero un terminal neutro o de 0 V que será común a la mayoría de las aplicaciones, excepto una.
Esta primera aplicación es la que hace uso directo del relé con tensión de 6 voltios.
En este caso tenemos el polo positivo en el pin 4 y el negativo en el pin 5, cuando entonces necesitamos aproximadamente 100 mA para cerrar los contactos del componente.
Si queremos alimentar directamente el relé con una tensión de 12 voltios y la misma corriente, usamos los terminales 3 y 5, siendo el 3 o positivo.
Vea que no podemos invertir la polaridad de estos enlaces dada la presencia del diodo D1 de protección.
Los contactos del relé son accesibles a través de las terminales A, B y C que se separan, para evitar problemas de confusión, o incluso cortos, principalmente si el circuito controlado externo es de alta tensión.
Para excitación con corrientes del orden de algunos miliamperios, normalmente en el rango de 1 a 50 mA, podemos utilizar el transistor Q2 que tiene la base accesible desde el terminal número 2.
En este caso usamos el pasador 3 o 4 para alimentación positiva (12 o 6 voltios) el pin 6 a 0 V y aplicamos la señal de control en el pin 2.
La resistencia R3 protege el transistor, limitando su corriente de base.
Ver que necesitamos una señal positiva con tensión a partir de 0,6 V para excitar el relé a partir de este perno.
Para corrientes mucho más pequeñas, tenemos un transistor adicional que se coloca en el circuito automáticamente, simplemente utilizando para entrada de señal el pino 1, en lugar del pino 2.
A partir de esta terminal podemos excitar el relé con corrientes a partir de algunos microampères, y el potenciómetro P1 actúa como un control de sensibilidad.
En este caso, la señal de excitación es negativa, es decir, debe estar cerca de 0 V para excitación y cerca de la tensión positiva de alimentación para corte.
MONTAJE
El circuito completo del relé experimental se muestra en la figura 1.

La disposición real de los componentes se muestra en la figura 2.

Como son muy pocos los componentes usados ??podemos utilizar puente de terminales o incluso una placa universal.
El relé es de bajo costo para 6 V con una corriente de accionamiento hasta 100 mA, pero equivalentes de la misma intensidad de corriente de bobina pueden ser usados, e incluso tipos más sensibles.
Los transistores admite equivalentes, y los resistores son todos de 1/8 o ¼ W. El electrolítico tiene una tensión de trabajo de 16 V y el potenciómetro es lineal.
El diodo puede ser sustituido por equivalentes de la misma serie o incluso los 1N4148 o 1N914.
Para conexión externa usamos una barra de terminales con tornillos pero existen otras alternativas, como por ejemplo: bornes.
En la figura 3 tenemos una sugerencia de caja para montaje.
PRUEBA Y USO
La prueba es bastante simple, necesitando el lector sólo de una fuente de 6 voltios y de una carga para los contactos del relé que puede ser un LED con una resistencia de 1 k en serie o incluso el multímetro en la escala más baja de resistencias.
Interconectando momentáneamente el punto 1 con el 4 o incluso el 3 debe haber el cierre de los contactos del relé.
De la misma forma, interconectando por un momento el punto 1 con el 6 y actuando sobre P1 debe haber el cierre de los contactos del relé.
Para utilizar el sistema tenemos varias posibilidades:
a) Accionamiento directo con 6 V - 100 mA:
Utilizar el pin 4 y el pino 5, recordando que el pino 4 debe ser positivo en relación al 5.
b) Accionamiento con 12 V - 100 mA:
Utilizar los pinos 3 y 5, con el pino 3 positivo en relación al 5.
c) Accionamiento amplificado con 6 V:
Pino 4 con +6 V; pino 6 con 0 V y aplicar la señal al pino 2.
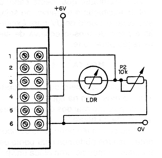
En la figura 4 tenemos el modo de hacer el accionamiento con un LDR común en la incidencia de luz.

El potenciómetro externo actúa como control de sensibilidad.
d) Accionamiento amplificado con 12 V:
Aplicar +12 V en el pin 3 y 0 V en el pasador 6. La señal se aplica entre el pin 2 y el pasador 6.
e) Máxima sensibilidad - accionamiento de 1 uA a 10 mA.
Para 6 V aplicar +6 V en el pin 4 y 0 V en el pin 6.
La señal se aplica al pin 1. En la figura 5 tenemos el modo de hacer la conexión de foto-sensores para el disparo con la incidencia de luz y con el corte de la luz.

f) Para 12 V utilizar el pin 3 en lugar de 4. Las demás conexiones como en la versión anterior.

En la figura 6 tenemos los modos de conectar una carga externa.
En un caso tenemos la energización de la carga con el cierre de los contactos NA del relé, o sea, la energización de su bobina.
En el otro caso tenemos el cierre de la carga externa con la energización de la bobina del relé. Para utilizar en cualquiera de las aplicaciones anteriores tenga siempre en mente los límites para las corrientes de los contactos y también la tensión en las entradas y en la alimentación.
Para tensiones intermedias entre 6 y 12 V utilice el pin 4 con un resistor en serie.
Para 9 V utilice una resistencia de 22 ohmios.
Para operar con señales alternas utilice el circuito de la figura 7.

Q1 - BC558 - transistores PNP de uso general
Q2 - BC548 - transistores NPN de uso general
D1 - 1N4002 o equivalente - diodo de silicio
K1 - Relé para 6 V
P1 - 47 k - potenciómetro
R1 - 10 k - resistor (marrón, negro, naranja)
R2 - 56 ohms x 1 W - resistor (verde, azul, negro)
R3 - 1 k - resistor (marrón, negro, naranja)
C1 - 10 uF x 10 V - capacitor electrolítico
Varios: puente de terminales con tornillos, puente de terminales común, hilos, caja para montaje, botón para el potenciómetro, soldadura, etc.



