El circuito que describimos no tiene sólo finalidad didáctica, ya que la tecnología TTL es la base de los circuitos digitales profesionalizantes. El diseño descrito puede también ser utilizado en aplicaciones prácticas importantes tales como temporizadores de multi-accionamiento, automatismos y en efectos de luz o control remoto. Con base en circuitos integrados TTL comunes, tiene recursos para ser utilizado en una enorme gama de frecuencias y cargas. Montado en forma original puede servir para experimentos de bancada o desarrollo de proyectos en laboratorios industriales o escuelas.
Cuando se habla de electrónica digital en un laboratorio de desarrollo de proyectos o en una escuela, la base de todo sigue siendo la tecnología TTL. Con una gran cantidad de funciones que pueden ser obtenidas con facilidad a bajo costo y con una inmunidad a ruidos mucho mayor que los circuitos integrados CMOS, los circuitos TTL pueden servir de base para una infinidad de proyectos.
Lo que describimos en este artículo es un circuito que tanto puede ser empleado con fines didácticos como también ser utilizado en un banco para el desarrollo de automatismos, timers y otras aplicaciones similares.
Se trata de un secuencial de 4 canales TTL, pero que tiene una salida flotante que puede ser usada para el accionamiento de diversos tipos de cargas y un reloj que puede operar una enorme banda de frecuencias: entre fracción de hertz y algunos cientos de kilohertz. Y si el usuario no desea utilizar el reloj interno, basta conmutar esta función por medio de una llave y pasar a emplear un reloj externo.
El circuito ya incluye fuente de alimentación de 5V, que puede ser aprovechada para alimentar el complemento del proyecto en una matriz de contacto y monitoreo para las salidas secuenciales.
Como el empleo de circuitos integrados TTL LS el sistema se vuelve compatible con la lógica de microcomputadoras y también se puede utilizar en el desarrollo de proyectos de interfaces.
CARACTERÍSTICAS
* Tensión de alimentación: 1100/220 VCA
* Tensión de alimentación de los CIs: 5V x 1A
* Rango de frecuencias de operación: 0,01 a 200 000 Hz
* Nivel de las señales de salida: 0V (L0) y 5V (HI) - TTL
COMO FUNCIONA
El reloj interno consiste en un circuito integrado 555 conectado en la configuración asimétrica donde la frecuencia es dada por los resistores R1, P1 y R3 además de los capacitores C3 y C4 que pueden ser conmutados por medio de una llave.
Con el capacitor menor en el circuito obtenemos la banda más elevada de frecuencias que en el caso llega a algunas decenas de kilohercios. Para alcanzar la frecuencia máxima admitida por el circuito integrado, este capacitor puede reducirse hasta 470 pF. El capacitor mayor permite que el rango de frecuencias muy bajas sea alcanzado y el valor máximo recomendado es de 1 000 uF. Con 1 000 uF el oscilador tendrá un período de aproximadamente 10 minutos.
La señal del oscilador de reloj se lleva al pin 3 de un circuito integrado 7474 que consiste en un doble flip-flop del tipo D. Estos flip-flops están conectados en serie formando un divisor de frecuencia por 4.
Evidentemente, como son flip-flops, las salidas obtenidas son en binario, necesitando una decodificación para el accionamiento secuencial o 1 de 4. Esto se hace con el uso de los 4 puertos NAND disponibles en un circuito integrado del tipo 7400.
La señal secuencial, en la que cada ciclo de reloj una de las salidas va al nivel alto está disponible en los puntos de X1 a X4. Ver que tenemos en estos puntos una señal cuyo nivel bajo corresponde a 0 V y el nivel alto a 5V. La corriente máxima disponible, del orden de 10 mA, ocurre en el nivel bajo.
Las señales de las salidas también sirven para excitar 4 transistores que tienen en sus colectores LED indicadores. La fuente de alimentación de 5 V tiene como base un circuito integrado regulador de tensión del tipo 7805 y puede proporcionar hasta 1 amperio.
En los puntos J1 y J2 tenemos la disponibilidad de 5V para alimentación de circuitos TTL externos, por ejemplo en el desarrollo de un proyecto en una matriz de contactos. En la figura 1 damos una sugerencia de cómo el aparato podría ser utilizado en un banco.
Para las salidas de X1 a X4 se pueden utilizar bornes comunes con encaje para plugs, lo mismo ocurre con J1 y J2.
J1 debe ser rojo y J2 negro para facilitar la identificación de la polaridad. La clave S1 debe tener indicación del capacitor que va a ser colocado en el circuito de modo a saber si la operación está en alta o baja frecuencia.
MONTAJE
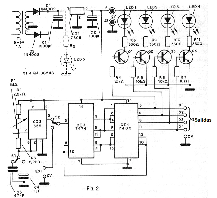
El diagrama completo del aparato se muestra en la figura 2.
El montaje en placa de circuito impreso se muestra en la figura 3.
El circuito integrado 7805 debe tener un buen radiador de calor, principalmente si el aparato se utiliza en el desarrollo de proyectos externos, alimentando a otros integrados TTL.
Los demás circuitos integrados, para mayor seguridad deben ser montados en sockets DIL.
Los resistores son de 1/8 W o mayores y los capacitores electrolíticos, excepto C1 son todos para 6V o más. C1 debe tener una tensión mínima de trabajo de 16 V. El potenciómetro P1 es común lineal o log y puede incluir el interruptor general en serie con la alimentación del primario del transformador.
El transformador tiene bobinado primario conforme a la red de energía y secundario de 9 + 9V con 1 amperio. Si se utiliza un transformador con corriente menor de secundaria la corriente de salida quedará limitada al nuevo valor. Los transistores admiten equivalentes y los LED pueden ser rojos o de otro color.
Los diodos rectificadores también admite equivalentes y tanto Rx como el LED 5 son opcionales para indicar que el aparato está conectado. Rx es de 1k x 1 / 4W.
PRUEBA Y USO
Para probar el aparato, basta con conectar su alimentación y colocar S1 en la posición que corresponda al capacitor de mayor valor (C4). S2 debe estar en la posición que conecta el CI-3 al CI-2, o sea, con el reloj interno. Ajustando P1 debemos obtener un flujo de los LEDs de forma secuencial.
Para accionar circuitos externos de mayor potencia, que no sean entradas TTL tenemos diversas opciones. En la figura 4 tenemos el caso de disparo de SCRs para un sistema secuencial de lámparas de hasta 40 0W en la red de 110V.

El SCR debe ser sufijo B si la red es de 110 V y sufijo D si la red es de 220 V.
Además de un buen radiador de calor para el SCR el lector debe observar que tenemos un enlace común del cátodo del SCR a uno de los polos de la red de energía y del punto de 0V del circuito TTL. Esta conexión es fundamental para obtener el funcionamiento del sistema, pues corresponde al retorno de la señal de disparo de la conducción del SCR.
Para disparar un Triac necesitamos una corriente mayor que puede obtenerse con el aumento de un transistor, como muestra el circuito de la figura 5.

El Triac indicado puede controlar cargas de hasta 800W en la red de 110V. El sufijo debe ser B si la red es de 110 V y D si la red es de 220V.
Este componente debe estar dotado de un buen radiador de calor, principalmente si opera con cargas de potencias elevadas. Observe también que, en este caso, tenemos un punto común para la tierra del circuito digital y para la red de energía, sin el cual no hay retorno a la corriente de disparo y no funciona.
Para el disparo de cargas de corriente continua se puede utilizar el circuito de la figura 6 que tiene como base un transistor Darlington NPN de potencia. La corriente máxima de la carga dependerá del transistor utilizado.

Para un TIP120, por ejemplo, esta corriente puede ser de hasta 3 ampères. El transistor también debe estar dotado de un buen radiador de calor. Si la carga es inductiva como, por ejemplo, un motor, un solenoide o un relé, necesitamos conectar un diodo en paralelo. El 1N4002 o equivalentes de mayor tensión sirven perfectamente para este propósito.
Ver que, utilizando un transistor NPN tenemos el accionamiento de la carga con la salida del secuenciador en el nivel alto. Podemos invertir este accionamiento con el empleo de un transistor PNP, pero debe ser conectado de la forma indicada en la figura 7.

Hay varios equivalentes PNP Darlington del TIP120 que se pueden utilizar en este circuito.
LISTA DE MATERIAL
Semiconductores:
CI-1 - 7805 - circuito integrado - regulador de tensión
CI-2 - 555 - circuito integrado - temporizador
CI-3 - 7474 - circuito integrado TTL - doble flip-flop tipo D
CI-4 - 7400 - circuito integrado TTL - 4 puertos NAND de dos entradas
Q1 a Q4 - BC548 o equivalentes - transistores NPN de uso general
D1, D2 - 1N4002 o equivalentes - diodos rectificadores de silicio
LED1 a LED5 - LED rojo o de otro color común
Resistores: (1 / 8W, 5%)
R1 - 2,2 k ohms
R2 - 1 k ohms x 1 / 4W
R3 - 2,2 k ohms
R4, R5, R6, R7 - 10 k ohms
R8. R9, R10, R11 - 330 ohms
P1 - 1 M ohms - potenciómetro lin o log
Capacitores:
C1 - 1 000 uF / 16V - electrolítico
C2 - 100 uF / 6 V - electrolítico
C3 - 47 nF - cerámico o poliéster
C4 - 1 uF / 6 V o más - electrolítico
Varios:
T1 - Transformador con primario de acuerdo con la red de energía y secundario de 9 + 9V con 1A
S1, S2 - Llaves de 1 polo x 2 posiciones
J1, J2 - Bornes aislados en rojo y negro
Placa de circuito impreso, caja para montaje, cable de fuerza, sockets para los circuitos integrados, radiador de calor para CI-1, botón para el potenciómetro, soportes para los LED (opcional), hilos, soldadura, etc.






