Un montaje extremadamente atractivo en cuanto a los efectos, es la lámpara o la lámpara de rayos. Una lámpara común de alta potencia "genera" campos de alta tensión capaces de producir chispas de gran tamaño, e incluso encender una lámpara fluorescente sin contacto alguno, por la simple aproximación! Este verdadero efecto "mágico" es excelente para demostraciones en conferencias, clases, ferias de ciencias e incluso en fiestas. Ya publicamos este circuito en diversas versiones, pero con la que presentamos ahora es la que, aun usando componentes tradicionales, usamos en nuestras clases y demostraciones. Así, lo que describimos es una versión bipolar tradicional de la lámpara de rayos.
En varias conferencias que realizamos demostramos los efectos de los campos de alta tensión encendiendo lámparas fluorescentes comunes sin contacto, además de hacer con potentes chispas, de decenas de miles de voltios, saltar a nuestros dedos sin peligro alguno de choque. Evidentemente, los efectos de estas demostraciones siempre fueron grandes, principalmente en las plateas laicas.
Para los que dominan las técnicas de montaje, poseer un aparato de ese tipo, puede ser muy interesante, y eso es precisamente lo que vamos a describir en este artículo. Enseñamos al lector a montar un circuito inversor de alta tensión, que genera algunas decenas de miles de volts. Aplicados en una lámpara común, se produce la aparición de chispas luminosas de gran efecto visual.
Sin embargo, recordamos que las altas tensiones generadas por este aparato tienen cierto grado de peligro y que, por este motivo, todos los cuidados citados en el texto deben ser tomados en su manejo y en la realización de las experiencias que describiremos.
Lo importante del proyecto es que la lámpara de rayos no tiene nada especial: usamos una bombilla incandescente común de 150 a 300 W (*) (cuanto mayor, mejor) del tipo "de filamento" a la red local de energía.
(*) Estas lámparas ya no más se fabrican en algunos países.
Esta lámpara no funcionará del modo normal, con la corriente pasando por su filamento para calentarlo, pero de un modo diferente, debido a la presencia de gas en su interior, y que quedará patente en nuestras explicaciones.
Características:
• Tensión de alimentación: 110/220 VCA
• Frecuencia de operación (alta tensión): 100 Hz a 10 kHz
• Tensión en la lámpara (radios): 15 000 a 40 000 volts
• Tensión en el sector de baja potencia: 12 a 16V
• Consumo: 50W (tip)
COMO FUNCIONA
Las lámparas incandescentes modernas (que ya se están volviendo obsoletas), para no llegar a ser muy frágiles debido a la presión atmosférica (externa), no tienen el vacío en su interior. Estas lámparas, en lugar de eso, están llenas con una mezcla de gases inertes como el neón, argón, y otros.
El resultado de ello, es que, con una presión algo baja, esos gases se ionizan con cierta facilidad cuando son sometidos a la alta tensión, cuando entonces se convierten en conductores emitiendo una luminosidad cuya coloración depende de su naturaleza.
Así, según la lámpara, en la ionización los "filetes" o rayos ionizados pueden tener coloración que va del rojo, pasando por el verde y hasta llegar al amarillo y azul. Si la tensión aplicada en esa lámpara es baja, la corriente sólo puede pasar por su filamento, calentando y habiendo entonces la emisión de luz, de la forma convencional.
Sin embargo, si aplicamos una tensión muy alta en el filamento, sólo un polo, para que no tengamos corriente entre las extremidades de ese filamento, ocurre un fenómeno interesante: la corriente, en lugar de recorrer el filamento calentándolo, tenderá a "escapar" formando "flujos" de cargas que tienden a salir hacia el exterior, dirigiéndose hacia el vidrio que envuelve la lámpara, como muestra la figura 1.

Como estas cargas recorren un gas que se ioniza, y se mueven con gran velocidad, se forma un torbellino en el gas haciendo que las trayectorias varíen constantemente de una forma más o menos imprevisible. Tenemos entonces rayos saltando de forma desordenada, en varias direcciones con un efecto de luz muy interesante.
El lector verá entonces que las cargas escapan del filamento justamente por sus soporte, que poseen puntas y, dirigiéndose hacia el vidrio, forman verdaderas duchas de luz y color. Colocando la mano en el cristal de la lámpara, el flujo de cargas tiende a concentrarse y pasar a nuestro cuerpo, pero como el vidrio es un aislante, existe una limitación para la intensidad de la corriente, lo que evita que llevamos un choque desagradable o peligroso.
Lo que vamos a sentir en estas condiciones es sólo una especie de leve "hormigueo". El campo eléctrico producido por tan alta tensión, del orden de cientos de voltios por centímetro, hace que los gases de una lámpara fluorescente que se aproxime, ionicen.
El resultado es que si se aproxima a la lámpara de rayos una lámpara fluorescente común, aunque debilitada por el uso, ocurre la ionización del gas en su interior y se enciende, como muestra la figura 2.

El efecto obtenido es muy interesante, pues las personas se sorprenden al ver una lámpara en su mano, sin conexión alguna con cualquier fuente de energía, encenderse como "por magia". Evidentemente, el brillo de la lámpara fluorescente no es máximo lo que exige que la experiencia no se haga en un lugar muy claro.
Para generar las altas tensiones, lo que usamos es un inversor que tiene por componente básico un flyback (transformador de salida horizontal) del tipo encontrado en televisores comunes antiguos, para producir la alta tensión del cinescopio.
Tenemos entonces un oscilador elaborado en torno a una de las cuatro puertas del circuito integrado 4093B, cuya frecuencia puede ser ajustada por el potenciómetro P1. El ajuste de la frecuencia es importante para conseguir el punto de mayor rendimiento del circuito.
Las señales rectangulares generadas por este oscilador se llevan a las otras puertas del mismo circuito integrado que funcionan como amplificadores - aisladores (buffers). A partir de estas puertas, la señal va a una etapa de amplificación de alta potencia. En esta etapa encontramos inicialmente un transistor TIP32C que funciona como conductor y en la salida final un transistor NPN de potencia de alta tensión del tipo BUY69A o equivalente.
Este transistor de alta potencia excita directamente el devanado de baja tensión de un transformador de salida horizontal (flyback). Aparece entonces, en el secundario de alta tensión del transformador, una tensión muy alta (MAT) que puede variar entre 15 000 y 40 000 volts, según las características de los componentes usados.
Esta altísima tensión (MAT) se aplica a la lámpara para producir el efecto descrito en la introducción. El circuito de retorno de la alta tensión es uno de los polos de la red de energía. Como en muchos casos, esta conexión no es segura, sugerimos usar una garra jacaré que pueda ser conectada a una buena tierra en el lugar de la demostración.
MONTAJE
El diagrama completo del aparato se muestra en la figura 3.
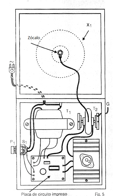
El prototipo fue montado en una caja de madera del tipo usado para archivar fichas en oficinas, con aproximadamente 22 x 22 x 14 cm de dimensiones.
En la figura 4 tenemos la disposición de los componentes del oscilador y del sector de excitación del flyback, que se montan en una placa de circuito impreso.
El tamaño del transformador influye bastante en la elección de la caja, debiendo eventualmente ser usada una mayor, según las dimensiones de los componentes usados. El transistor BUY69A debe montarse en un excelente radiador de calor, dada la intensidad de la corriente con que trabaja, y que resulta en un buen calentamiento.

El transformador de alimentación tiene un devanado primario de acuerdo con la red de energía local. El secundario puede ser de 12 + 12 o 15 + 15V con una corriente de 2 a 3 ampères. En la versión con transformador de 15V tendremos mayor rendimiento con mayor tensión en la lámpara.
El transformador de salida horizontal (flyback) puede ser aprovechado de algún viejo televisor fuera de uso, ya que cualquier tipo sirve. Debemos sólo estar seguros de que se encuentra en buen estado. La humedad o las señales de deterioro impiden el uso.
Enrollaremos de 22 a 35 espiras de hilo común en la parte inferior del núcleo de este componente, como muestra la figura 6, obteniendo así el devanado primario. El circuito integrado CI-2 no necesita radiador de calor y la resistencia R3 debe ser de alambre de 27 ohms o 33 ohms con al menos 5W de disipación, ya que este componente debe trabajar algo caliente.

Para mayor seguridad será interesante utilizar un circuito integrado para CI-1. El fusible será importante para la protección del aparato. La lámpara incandescente es del tipo común de filamento de 150 a 300 W. Como no va a haber la circulación de la corriente normal de filamento, y con ello su calentamiento, puede ser tanto de 110V y de 220V, independientemente de la tensión usada en la alimentación del aparato.
El potenciómetro P1 puede conjugar el interruptor general que enciende y apaga la alimentación. Las tensiones mínimas de trabajo de los capacitores electrolíticos son las especificadas en la relación de material. Los diodos admiten equivalentes, siempre que sean capaces de operar con corrientes de 2 ampères y tengan una tensión inversa de pico de al menos 50V.
El potenciómetro P1 puede tener valores en el rango de 220 k ohms a 1 M ohm. Los potenciómetros de valores mayores permiten alcanzar frecuencias más bajas de operación.
PRUEBA Y USO
Compruebe bien el montaje y, si todo está en orden, coloque en el zócalo una lámpara de 150 W a 300 W común. Conecte el aparato a una toma de la red de energía y accione S1. Debe haber un ligero ruido de oscilación que indica que el circuito está en funcionamiento.
Aproxime la mano de la lámpara a unos milímetros, pero sin tocar y ajustar lentamente P1 hasta obtener la emisión de rayos, como muestra la figura 7.

La garra cocodrilo del hilo de tierra debe estar en algún objeto de metal de gran tamaño o simplemente con el hilo estirado y suelto. Dependiendo del montaje y de la humedad, los rayos pueden mantenerse incluso después cuando usted aleja la mano.
Si toca la lámpara, hágalo con la palma de la mano, o con la parte que tenga una piel más gruesa, pues tocando con las puntas de los dedos la concentración de cargas puede ser mayor dando así una sensación desagradable de choque, aunque algo ligero .
Nunca haga experimentos o demostraciones descalzo. Esté siempre con zapatos bien aislados y preferentemente sobre material aislante como, por ejemplo, piso de madera, tablado, alfombra de goma o alfombra. Cuando esté tocando la lámpara o sosteniendo la fluorescente no toque nada con la otra mano, pues esto va a crear un recorrido para la descarga causando así choques peligrosos.
Sostener una lámpara fluorescente, acercarla a la lámpara de rayos. A una distancia de unos centímetros debe encenderse con un brillo menor de lo normal. Si usted sube a un taburete, o está sobre una alfombra de goma o plástico, haga la experiencia mostrada en la figura 8.

Sostenga la lámpara con una mano y con la otra, toque la lámpara de rayos para que haya un flujo de carga. La lámpara en la otra mano debe encenderse por la corriente que pasa a través de su cuerpo que, sin embargo, por su bajísima intensidad no le causa ninguna sensación.
No utilice el aparato por un tiempo prolongado. Deje que se conecte sólo unos minutos a la vez, para que no haya sobrecarga con un calentamiento excesivo de los componentes internos. Nunca toque directamente en ninguna parte del aparato directamente sometida a alta tensión.
LISTA DE MATERIAL
Semiconductores:
CI-1 - 7812 - circuito integrado, regulador de tensión
CI-2 - 4093B - circuito integrado CMOS
Q1 - TIP31C - transistor NPN de potencia
Q2 - BUY69A - transistor NPN de alta potencia
D1, D2 - 1N5402 o 1N5404 - diodos rectificadores
Resistores: (1 / 8W, 5%)
R1 - 4,7k ohms (amarillo, violeta, rojo)
R2 - 10 k ohms (marrón, negro, naranja)
R3 - 27 ohms x 5W - hilo
P1 - 470 k ohms - potenciómetro
Capacitores:
C1 - 4 700 uF / 50V - electrolítico
C2 - 100 uF / 16V - electrolítico
C3 - 10 nF - poliéster o cerámico
Varios:
S1 - Interruptor simple
F1 - 2 A - fusible
T1 - Transformador con primario de acuerdo con la red de energía y secundario de 12 + 12 V o 15 + 15 V con al menos 2A
T2 - Transformador de salida horizontal (flyback) de cualquier tipo - ver texto
Placa de circuito impreso, cable de alimentación, soporte de fusible, zócalo DIL para el circuito integrado CI-2, zócalo para la lámpara, caja de madera de 22 x 22 x 16 cm, radiador de calor grande para Q2, hilo rígido, hilo común, botón para el potenciómetro, radiador pequeño para Q1, soldadura, material para experimentos (fluorescente, lámpara de neón), etc.





