En este artículo se describe el montaje de un amplificador con el integrado TDA2005 que puede tener dos versiones: una versión estéreo con un solo integrado y una potencia de 10 watts por canal, y una segunda versión estéreo con dos integrados y 20 watts por canal. Usted puede utilizar este amplificador para reforzar el sonido de su coche o bien en un aparato de sonido convencional, de uso doméstico.
Integrados de potencia para aplicaciones en amplificación de audio ya son relativamente comunes en nuestro mercado. Al igual que la simplicidad al bajo costo, estos integrados permiten la realización de excelentes sistemas de sonido, como lo que proponemos.
El integrado TDA2005 puede proporcionar 10 watts por canal en una aplicación más simple, ya que posee dos amplificadores independientes, y su alimentación permite el uso directo en el coche.
Por otro lado, los dos amplificadores pueden ser conectados en puente de modo que, con el uso de dos integrados, formamos un excelente sistema de 20 watts por canal, como sugiere la fig. 1
Por supuesto, tenemos una tercera posibilidad que consiste en el uso de un solo puente integrado, obteniéndose así un amplificador monofónico de 20 watts. Esta es una excelente opción para los sistemas de public-address.
Con un pequeño preamplificador podemos fácilmente excitar el amplificador a plena potencia.
Damos a continuación las características principales del TDA2005 para que el lector tenga una idea de lo que puede proporcionar en materia de sonido:
Características:
- Rango de tensión de funcionamiento: 8 a 18 V;
- Corriente quiescente (14,4V): 150 mA (máx);
- Distorsión (15W / 4 ohms): 1% (Max.);
- Sensibilidad de entrada (2W / 4 ohms): 9 mV;
- Resistencia de entrada: 70 k (min.);
- Potencia de salida (14/4 ohms): 20 watts.
Las características anteriores se refieren a la aplicación en puente.
EL CIRCUITO
Pocos componentes externos son necesarios para las dos aplicaciones, lo que simplifica bastante el montaje. El integrado está dotado de recursos para la disipación de calor, del orden de 30 watts a plena potencia, lo que debe ser previsto en el proyecto.
Conforme el lector verá, proyectamos la placa de modo que este integrado pueda montarse en un disipador de buen tamaño, o fijado en la propia caja que alojará el aparato.
Tenemos dos modalidades de operación ya indicadas en la introducción.
En la modalidad estereofónica simple, con sólo un integrado, cada amplificador interno del TDA2005 funciona por separado, amplificando la señal de un canal.
En esta modalidad, con carga de 2 ohms y alimentación de 14,4 V, obtenemos una potencia por canal de 10 watts. Con una carga de 4 ohms la potencia cae a 6,5 watts y con 3,2 ohms será de 8 watts.
Esta será la potencia obtenida por canal en una aplicación en el coche, donde la tensión de la batería es del orden de 13,6 V.
Conforme podemos observar por el diagrama, los componentes básicos externos al integrado consisten en capacitores electrolíticos cuya tensión de trabajo debe ser de 16 V o más.
La ganancia del amplificador es dada por la relación entre la resistencia conectada entre los pines 3 y 9 y la resistencia conectada al pin 8 del integrado.
Para una aplicación típica la ganancia será de 50 dB y la resistencia de entrada de 200 k (tip.).
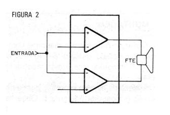
En el uso en puente, tenemos una conexión hecha de modo simplificado como muestra la figura 2.

Los amplificadores internos al integrado TDA2005 funcionan en oposición de fase, de modo que en un semiciclo, mientras que una salida se encuentra con una tensión positiva, la otra se encuentra negativa.
Con esta función se puede eliminar el capacitor de alto valor de acoplamiento al altavoz y obtener mayor potencia de salida.
Como los amplificadores internos del TDA2005 ya tienen entradas inversoras, y no inversoras accesibles, la conexión en puente es extremadamente simple, lo que facilita la elaboración del proyecto.
No necesitamos entonces inversores externos.
Las características del amplificador en esta configuración se dan en la introducción.
Para alimentar el circuito podemos partir directamente de la batería del coche, si ésta es la aplicación deseada. Para una aplicación doméstica debemos tener una fuente apropiada.
La corriente media para cada amplificador en puente a plena potencia es de 3,5 A, lo que significa que necesitamos una fuente de 7A al menos para la versión de 40 watts.
Para la versión estéreo de 20 watts la corriente será de 3,5A.
En la figura 3 damos un circuito de fuente que sirve para las dos versiones: el transformador sólo será cambiado en función de la corriente que cada una necesita.
Es importante que en estas fuentes los capacitores electrolíticos sean de gran valor, para garantizar una perfecta filtración y también estabilidad de tensión de salida.
Sólo de este modo no tendremos roncos, distorsiones o pérdida de potencia.
Los electrolitos deben ser para 25 V o más de tensión de trabajo.
MONTAJE
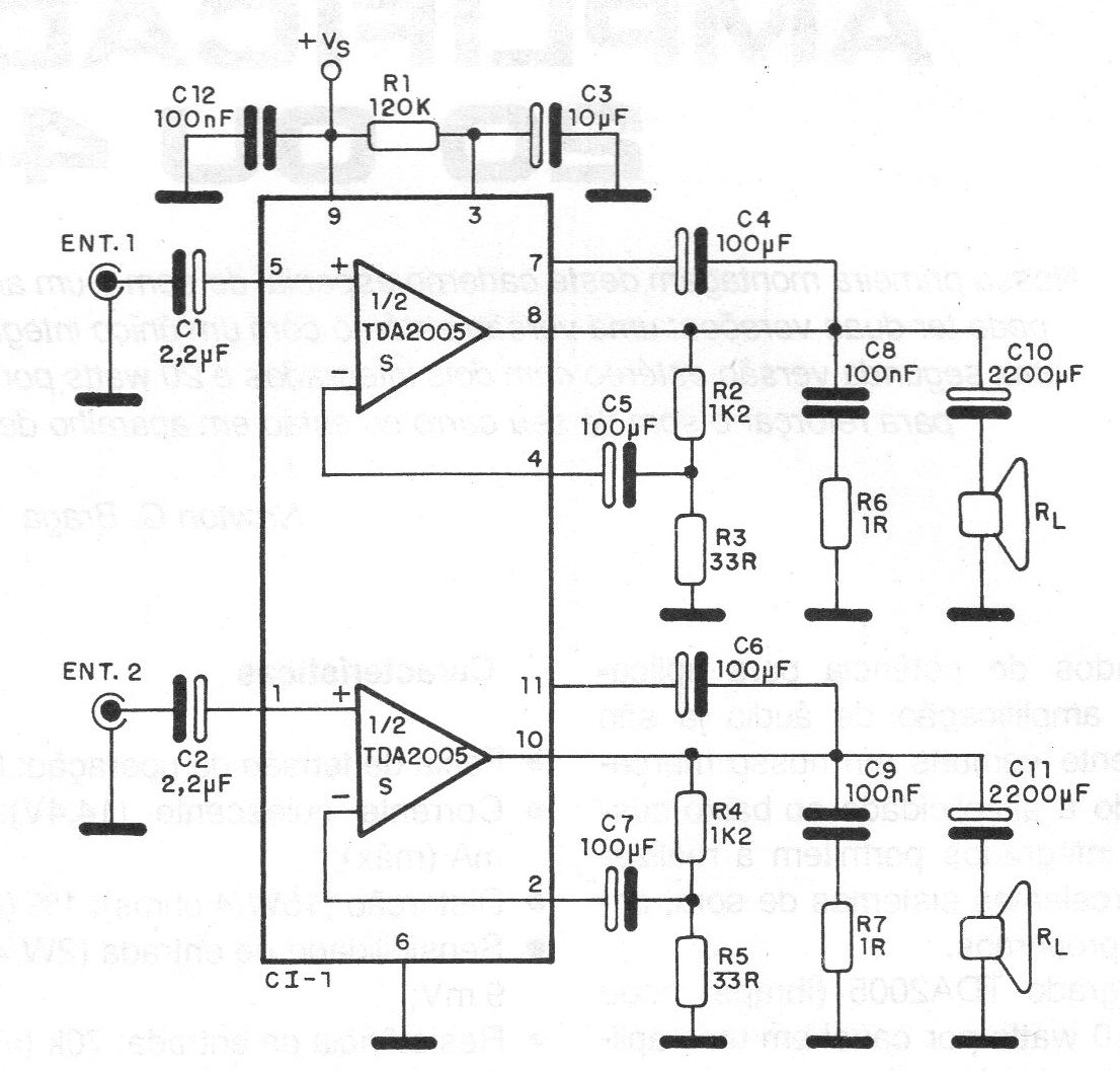
Comenzamos por dar el diagrama completo de la versión estéreo de 10 + 10 W con un integrado que se muestra en la figura 4.
La placa de circuito impreso para esta versión se muestra en la figura 5.
Observe que el integrado debe estar firmemente fijo en el disipador de calor de gran tamaño.
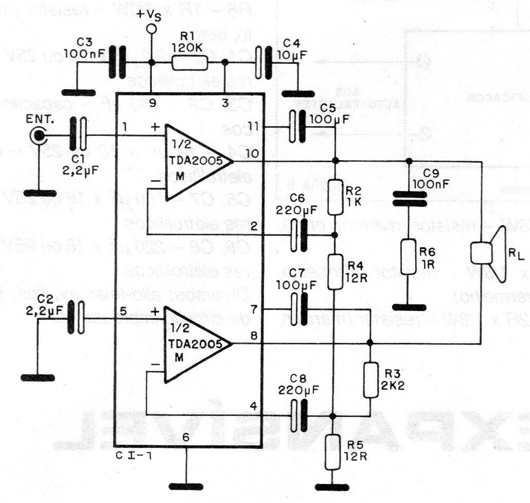
La versión de 20 + 20 W con dos integrados tiene uno de los canales mostrados en la figura 6.
Para obtener el sistema completo debemos montar dos placas iguales a ésta y conectarlas en la misma fuente de alimentación.
La placa de circuito impreso se muestra en la figura 7.
Será interesante montar las dos unidades en caja de metal con el negativo aterrizado. De este modo, el radiador de calor del integrado debe aislarse.
Los cables de entrada deben ser blindados. Los resistores para las dos versiones pueden ser de 1/8 o ¼ W con un 10% o 20% de tolerancia.
Los capacitores electrolíticos deben tener tensiones de trabajo de al menos 25 V.
Los cables de entrada de las señales deben ser blindados con las mallas a tierra. Los cables de salida para los altavoces deben ser gruesos debido a la baja impedancia. Con ello se evitan pérdidas de potencia o oscilaciones.
En la alimentación en el coche es conveniente proteger la entrada del circuito con un fusible de 10 A.
PRUEBA Y USO
La obtención de 2 ohms de impedancia con un altavoz de 4 ó 8 ohms es simple y se muestra en la figura 8.
Los altavoces en conjunto deben sumar una potencia mayor que la del amplificador para que no sufran daños al abrir todo el volumen.
Si tenemos 20 watts por canal, todos los altavoces deben ser iguales, y para 2 cada uno debe soportar al menos 10 W.
Si el amplificador se utiliza como refuerzo para un tocadiscos o radio de FM, debemos utilizar una carga de salida para el aparato fuente de señal, como se muestra en la figura 9.

Sin esta carga se producen distorsiones. En el caso de esta aplicación, el volumen será controlado en el propio aparato.
En una aplicación en sonido doméstico se debe utilizar un preamplificador que tenga control de tono y volumen.
Busque un circuito de preamplificador que sea alimentado por la misma tensión del amplificador y tenga una salida de hasta 1 Vpp. Cualquier preamplificador que proporcione al menos 100 mV (0,1V) ciertamente excitará la entrada de este amplificador a toda potencia, sin problemas.
Si utiliza altavoces para graves y agudos, no olvide utilizar capacitores en serie con tweeter para no sobrecargar el circuito.
CIRCUITO DE LA FIGURA 4
CI-1 - TDA 2005S
R1 - 120 k x 1/8 W - resistor (marrón, rojo, amarillo)
R2, R4 - 1k2 x 1/8 W - resistores (marrón, rojo, rojo)
R3, R5 - 33 R x 1/8 W - resistores (naranja, naranja, negro)
R6, R7 - 1R x 1/8 W - resistores (marrón, negro, oro)
C1, C2 ~ 2,2, uF x 16 o 25 V-capacitores electrolíticos
C3 - 10, uF x 16 o 25 V - capacitor electrolítico
C4, C5, C6, C7 - 100, uF x 16 o 25 V capacitores electrolíticos
C8, C9, C12 - 100 nF - capacitores cerámicos
C10, C11 - 2200 uF x 16 o 25 V - capacitores electrolíticos
Varios: altavoces, hilos, soldadura, placa de circuito impreso, enchufes, enchufes, etc.
CIRCUITO DE LA FIGURA 6 (1 CANAL)
CI1 - TDA 2005M
R1 - 120 k x 1 / 8W - resistor (marrón, rojo, amarillo)
R2 - 1 k 1/8 W - resistor (marrón, negro, rojo)
R3 - 2k2 x 1/8 W - resistor (rojo, rojo, rojo)
R4, R5 - 12R x 1/8 W- resistor (marrón, rojo, negro)
R5 - 1R x 1 / 8W - resistor (marrón, negro, oro)
C1, C2 - 2,2 uF x 16 o 25 V - capacitores electrolíticos
C3, C9 - 100 nF - capacitores cerámicos
C4 - 10 uF x 16 o 25V - capacitores electrolíticos
C5, C7 - 100 uF x 16 o 25 V - capacitores electrolíticos
C6, C8 - 220 uF x 16 o 25V - capacitores electrolíticos
Varios: altavoces, hilos, soldadura, placa de circuito impreso, etc.










