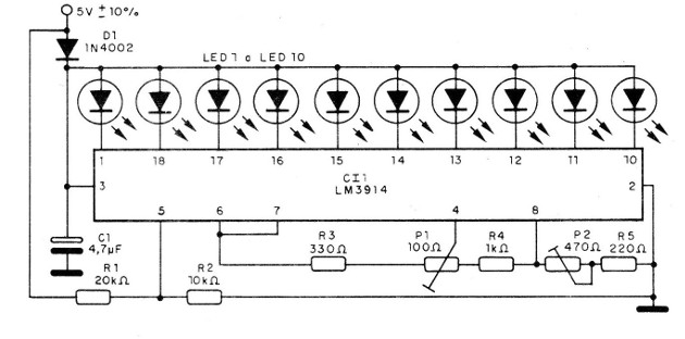
El circuito que presentamos fue sugerido por National Semiconductor en su manual de aplicaciones lineales y consiste en un bargraph para monitoreo de la tensión de salida de una fuente de 5 V. Se utilizan 12 LED y un integrado LM3914 como base de este simple circuito indicador.
Con el indicador bargraph descrito, tenemos la monitorización de tensiones en el rango de 4.51 V a 5,41 V, lo que corresponde a los más o menos 10% de tolerancia admitidos para la alimentación de un equipo TTL.
La alimentación viene del propio circuito TTL, e incluye en D1 una protección contra inversión de la polaridad de la alimentación.
Como el consumo del aparato es relativamente bajo, no influye en el funcionamiento del equipo TPL, incluso cuando es alimentado por la misma fuente.
Para los LEDs encendidos según las tensiones, tenemos la tabla abajo:

En la figura 1 tenemos el diagrama completo del aparato.

El circuito integrado LM3914 consiste en un bargraph o indicador de punto móvil con 10 salidas para LEDs y limitación interna de corriente.
En este proyecto, la referencia de tensión es dada por el divisor ajustable, formado por las resistencias R3, R4, R5 y por los trimpots P1 y P2, que ajustan los límites de la escala.
La tensión de entrada se aplica a través de un divisor formado por R1 y R2 y viene de la propia alimentación.
El condensador C1 es un filtro, y los LED pueden ser de varios colores.
Podemos, por ejemplo, dejar un LED verde para la tensión exacta de 5 V (LED5) y de otros colores para los demás.
En la figura 2 tenemos la placa de circuito impreso para este montaje.

Los LED deben montarse de modo que puedan encajar en un panel con los terminales más largos.
Para ajustar el aparato, aplique 5,41 V y ajuste P2 hasta que los LEDs 9 y 10 se enciendan con el mismo brillo.
Después, aplique 4,5 V en la entrada y ajuste P1 para que el LED se quede en la inminencia de encendido.
Después de eso es sólo hacer la instalación definitiva del aparato en el circuito TITL a ser monitoreado y usarlo.
Si hay dificultad en los ajustes, R3 y R5 pueden ser alterados.
Semiconductores:
CI1 - LM39A14 - circuito integrado nacional
LED1 a LED10 - LEDs comunes -ver texto
D1 - 1N4002 - diodo de silicio
Resistores (1/8 W, 5%):
R1 - 20 k ohms
R2 - 10 k ohms
R3 - 330 ohms
R4 - 1 k ohms
R5 - 220 ohms
P1 - 100 ohms - trimpot
P2 - 470 ohms - trimpot
C1 - 4,7 uF - electrolítico
Varios:
Placa de circuito impreso, hilos, soldadura, etc



