Hay ocasiones en que se desea imitar, en una grabación, transmisión o incluso pieza teatral, una voz de teléfono. Aunque con algunos recursos acústicos (como tubos delante de un micrófono) consigamos llegar cerca de eso, un modo más elaborado consiste en utilizar un circuito electrónico.
La voz característica que se obtiene en un teléfono se debe al hecho de que hay una reducción de la banda pasante de frecuencias, algo entre 200 Hz y 2 000 Hz, que se adapta a las características del propio sistema de transmisión.
Así, para tener una voz de teléfono, basta con pasar una señal de un micrófono por un filtro de paso de pistas que esté sintonizado para permitir que sólo las frecuencias indicadas lleguen al amplificador, grabador o transmisor.
El circuito que describimos es bastante simple de montar, ya que sólo utiliza un circuito integrado. Basta entonces intercalarlo entre la fuente de señal y el sistema final de reproducción o grabación que tendremos el efecto deseado.
Alimentado por baterías comunes es compacto y su bajo consumo garantiza una buena durabilidad para la fuente de energía.
Características:
Tensión de alimentación: 9 + 9 V - 2 baterías
Consumo: 10 mA (tip.)
Rango de frecuencias: 200 Hz a 2 000 Hz
Ganancia en la banda central: 10 (tip.)
Impedancia de entrada: 10 k ohms
Impedancia de salida: 10 k ohms
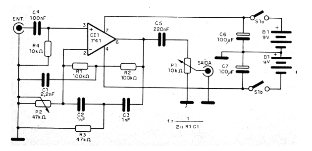
Un eficiente filtro de paso-banda, que no necesita ser excesivamente agudo, puede ser fácilmente montado con un amplificador operacional.
La doble T tiene los componentes calculados para que la frecuencia de operación quede en un tono de 1 kHz, aunque se pueden realizar experimentos con otras frecuencias.
En este filtro deben mantenerse las siguientes relaciones de valores entre los componentes:
R1 = R2
C1 = C2 / 2 = C3 / 2
La doble T se intercalada entre la entrada inversora y la salida del operario, y su acción puede ser ajustada en P2, que lleva el circuito al mayor realismo en el efecto deseado.
Observe que la fuente de alimentación debe ser simétrica y que la fuente de señal debe ser de media impedancia, con una amplitud que no puede sobrepasar 1 Vpp.
La salida tiene su intensidad controlada por el potenciómetro P1, que debe ser ajustado para que ocurra excitación del aparato final sin saturación.
En la figura 1 tenemos el diagrama completo del aparato.

La placa de circuito impreso para este montaje se muestra en la figura 2.

Sugerimos el uso de zócalo DIL de 8 patillas para el integrado. Los cables de entrada y salida de señal deben ser blindados para que no se produzcan zumbidos.
Los capacitores C6 y C7 son electrolíticos para 12 V y sus valores no son críticos, pudiendo quedar entre 10 uF y 220 uF típicamente.
P1 y P2 son potenciómetros comunes que harán el ajuste del funcionamiento del aparato.
Para probar el aparato conecte a su entrada un micrófono de cristal o un preamplificador con otro tipo de micrófono.
Conecte la salida en la entrada de un amplificador y ajuste tanto el volumen como el P1 para obtener un buen volumen de reproducción.
Después, ajuste P2 hasta el umbral de la oscilación, obteniendo así la voz de teléfono.
Si no consigue el efecto deseado, cambie los valores de C1, C2 y C3, pero siempre manteniendo las relaciones indicadas en el texto.
Semiconductor:
CI1 - 741 - circuito integrado
Resistores (1/8 W, 5%):
R1 R2 - 100 k ohms
R3 - 10 k ohms
P1 - potenciómetro de 10 k ohms
P2 - potenciómetro de 47 k ohms
Capacitores:
C1 - 2,2 nF - cerámico o de poliéster
C2, C3 - 1 nF - cerámico
C4. - 100 nF - poliéster o cerámico
C5 - 220 nF - poliéster o cerámico
C6, C7 -100 uF - electrolíticos de 12 V
Varios:
S1 - Interruptor doble
B1, B2 - baterías de 9 V
Placa de circuito impreso, conectores de batería, caja para montaje, cables blindados, jack de entrada y salida, zócalo para el circuito integrado, botones para los potenciómetros, hilos, soda, etc.



