Sólo 8 componentes forman este montaje que puede ser de gran utilidad para quien desea medir pequeños intervalos de tiempo. Montado en una caja de reducidas dimensiones, este cronómetro funciona tanto con 110 V como con 220 V.
El principio de funcionamiento de este cronómetro se basa en la carga de un capacitor y en el punto de ionización de una lámpara de neón, que son sus componentes básicos.
Usted enciende el aparato después de ajustar en un potenciómetro el intervalo de tiempo deseado. Al final del tiempo elegido, la lámpara de neón se enciende.
Puede utilizar este cronómetro para:
- Controlar tiempo de baño de revelado de fotos
- Controlar tiempos de ejecución de placas de circuito impreso
- Determinar el tiempo de cocción de huevos
- Fijar el tiempo de los apartes en las reuniones
- Establecer el tiempo de jugadas en partidas de ajedrez.
Con los componentes usados, los intervalos de tiempo se pueden ajustar en un rango de 10 segundos hasta algunas decenas de minutos, dependiendo de los valores de los componentes utilizados.
Como funciona
En realidad, el principio de funcionamiento de este aparato, por tratarse de materia leccionada en los cursos técnicos, posibilita su utilización en un excelente trabajo escolar y puede ser descrito de la siguiente manera:
Sea el circuito básico mostrado en la figura 1, que consta de una fuente de alimentación de tensión continua, un resistor y un capacitor además de una lámpara de neón.
Al conectar el circuito en la fuente, el capacitor se carga lentamente por el resistor, dependiendo de su valor, según la curva de tensión mostrada en la figura 2.
Como podemos ver, la tensión sube inicialmente más rápido en las armaduras del capacitor para luego ir aumentando más lentamente.
Sin embargo, en cierto punto de la curva se alcanza el punto de ionización de la lámpara neón, que es del orden de 80 volts.
Como la lámpara y conectada en paralelo con el capacitor, en el momento en que esto ocurra, se encender.
Como el tiempo para la tensión alcanza el valor de encendido de la lámpara deponer tanto de R como de C, haciendo R variable, o sea, usando un potenciómetro, podemos ajustarlo a voluntad en una buena gama de valores.
De un modo aproximado, podemos calcular el tiempo a través de la "constante de tiempo" del circuito, que se obtiene multiplicando R por C.
Así, para R = 2 M (2.000.000 ohms) y c = 16 uF (16 x 10-6F), tenemos
T = 2x 106 x 16 x 10-6
T = 32 segundos
Podemos utilizar resistores de hasta 22M, lo que nos lleva a tiempos de hasta 5 minutos o más, dependiendo de la calidad del capacitor, que eventualmente puede ser mayor.
Para rearmar el circuito, descargando totalmente el capacitor usamos la llave S2.
En el circuito final, la fuente consiste simplemente en un diodo que convierte la tensión alternante de la red en continua.
Montaje
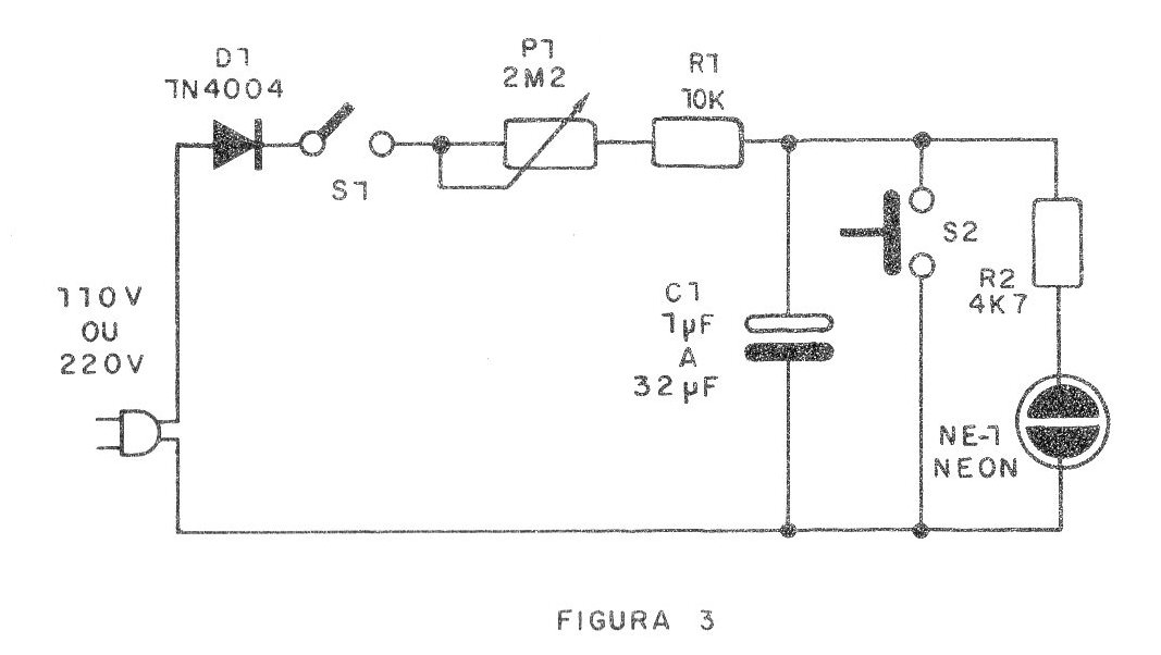
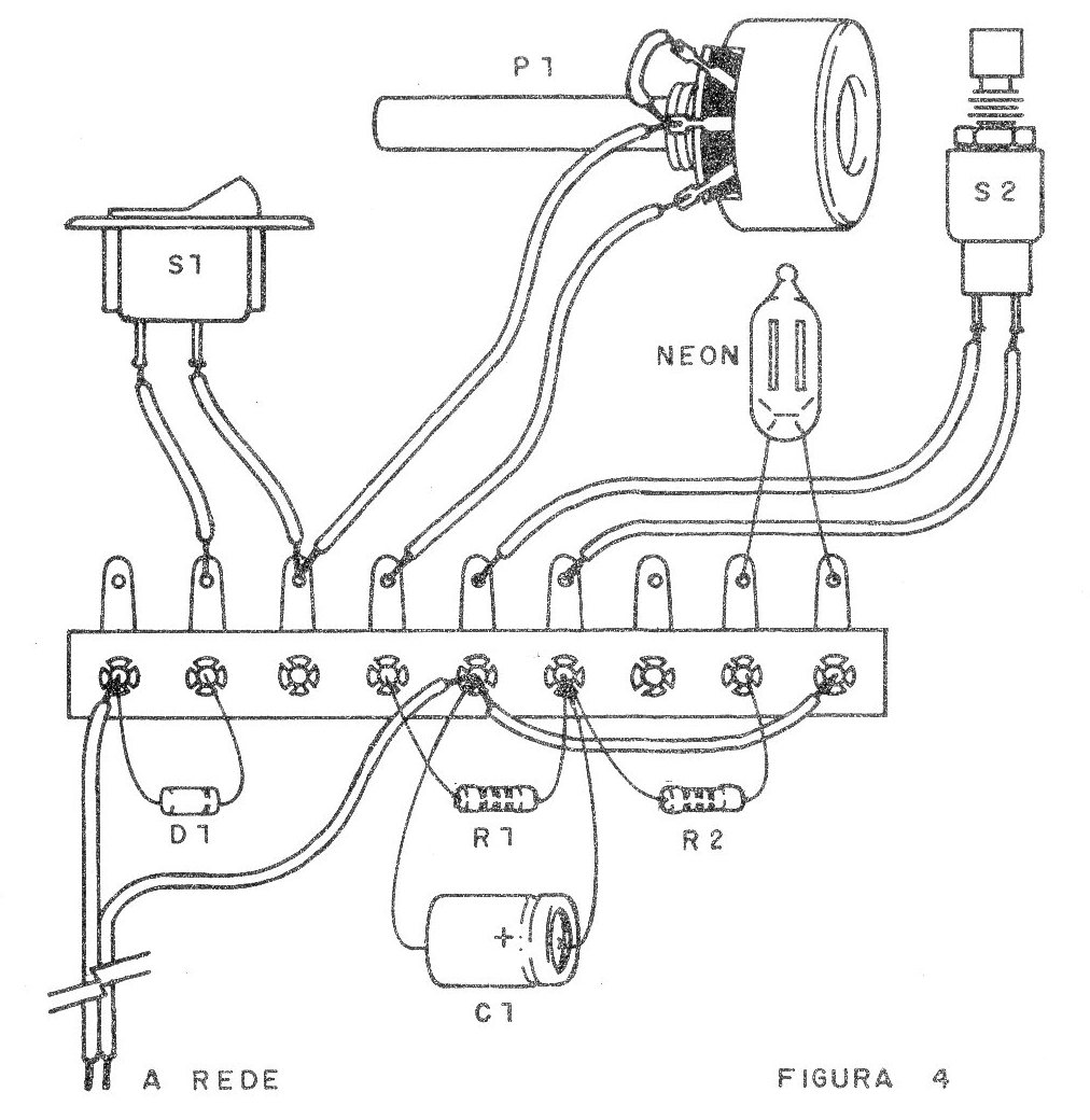
En la figura 3, tenemos el circuito completo de nuestro microcronómetro con lámpara neón, y en la figura 4, la realización del montaje, tomando como base un puente de terminales.
El conjunto completo, posteriormente, podrá ser instalado en una cajita de madera o plástico para facilitar el uso.
Los siguientes son los principales cuidados que deben tomarse con el montaje y la obtención de los componentes:
a) El diodo D1 puede ser el 1N4004 o BY127, debiendo observarse su polaridad.
b) La lámpara neón es la NE-2H o equivalente, de cualquier tipo, sin resistencia interna y terminales paralelos.
c) P1 es un potenciómetro común cuyo valor puede quedar entre 2M2 y 4M7 o aún mayor. Una posibilidad para obtener valores mayores sería sustituir este componente por una llave conmutadora que colocaría resistores de 4M7 o 10 M en el circuito.
d) Los resistores son todos de 1/8 o ¼ W.
e) El capacitor C1 puede ser de poliéster de 470 nF a 2,2 uF o, para tiempos mayores, electrolíticos de 8 a 32 uF con tensión de trabajo de 250 V, si me red es de 110 V, y de 450 V, si su red es de 220V. Utilice capacitores de buena calidad para que eventuales fugas no interfieran en el funcionamiento del aparato.
f) S1 y S2 son interruptores. S1 es común y S2 es de presión, tipo botón de timbre.
Terminando el montaje, la prueba y el uso son inmediatos.
Prueba y uso
Recordamos que el consumo de energía de este aparato es extremadamente bajo, del orden de 0,001 watt, lo que significa que puede permanecer permanentemente encendido sin un aumento sensible en su cuenta de energía.
Para probar el aparato, conéctelo a la red y accione S1 después de ajustar el tiempo en P1.
Después del tiempo esperado, la lámpara de neón debe encenderse,
Para reiniciar el aparato, apague S1 y apriete momentáneamente S2 para descargar C1. Ajuste el nuevo tiempo y encienda S1.
Con la ayuda de un cronómetro común o de su reloj, puede hacer una escala a P1.
Si el aparato se niega a funcionar con tiempos altos, esto se debe a fugas del capacitor electrolítico, que no es de buena calidad y debe ser sustituido Tanto para la red de 110 V como para 220 V, los valores de los demás componentes son los mismos.
Comprobado el funcionamiento, es sólo cerrar la unidad en una caja y usarla normalmente.
NE-1 - Lámpara neón NE-2H o equivalente
D1 - 1N4004 o BY127 - diodos rectificadores
P1 - 2M2 o 4M7 - Potenciómetro simple
R1 - 10 k x 1/8 W - resistor (marrón, negro, naranja)
R2 - 4k7 x 1/8 W - resistencia (amarillo, violeta, rojo)
S1 - Interruptor simple
S2 - Interruptor de presión
Varios: cable de alimentación, caja para montaje, puente de terminales, hilos, soldadura, botón para el potenciómetro, escala graduada en segundos o minutos, etc.







