Una falta momentánea de luz en lugares públicos de gran movimiento como cines, escuelas, grandes tiendas y supermercados, puede ser bastante peligrosa, sobre todo si hay motivo para el pánico. Un circuito, que en el momento exacto en que ocurre la interrupción de energía, acciona luces de emergencia y bastante importante en esos lugares, y con la moderna electrónica su elaboración se vuelve bastante accesible. En este artículo describimos justamente un sistema económico de iluminación de emergencia que puede ser de gran utilidad práctica.
Un medio bastante simple, pero no muy apropiado de obtener un sistema de iluminación de emergencia consiste en mantener constantemente un relé accionado por la red de alimentación, de modo que, en el momento en que ocurra la interrupción de corriente, sus contactos se cierren y con ello se activa la luz de emergencia.
Para este propósito se utilizará un relé del tipo "normalmente cerrado" como muestra la figura 1.
Sin embargo, con el uso de semiconductores y de una batería recargable podemos obtener un sistema mucho más seguro y eficiente.
En el caso que describimos, por ejemplo, tenemos un circuito que, mientras haya suministro de energía, mantiene un acumulador (batería) de 12 volts cargado hasta el momento en que haya interrupción. En ese momento un SCR pasa de su estado de no-conducción para completa conducción habiendo el suministro de energía del acumulador a la (s) lámpara (s) de emergencia.
En la vuelta de la corriente, el circuito conmuta y nuevamente el acumulador se recarga volviendo a su situación inicial de espera.
Como se trata de circuito bastante simple y que utiliza componentes de fácil obtención incluso los pocos dotados de experiencia en electrónica podrán ejecutarlo con las instrucciones que daremos.
COMO FUNCIONA
En este circuito empleamos dos componentes básicos que deben ser analizados para que podamos entender su funcionamiento: el SCR y la batería.
El SCR ya es conocido de los lectores que acompañan a este sitio. Se trata de un semiconductor que actúa como un interruptor que puede ser accionado por una señal eléctrica aplicada en su electrodo de compás. (figura 2).
Cuando el SCR se encuentra en la situación inicial sin señal de conducto, no conduce la corriente, y una lámpara conectada en serie con este componente no recibe alimentación.
En el momento en que ocurra una señal de conducción que lo dispare, pasa a conducir intensamente la corriente haciendo que la lámpara reciba su alimentación normal.
En estas condiciones permanecerá conduciendo hasta que la alimentación entre sus terminales sea interrumpida o hasta el momento en que la señal de conducto cese y la tensión entre su ánodo y cátodo caiga a cero.
La batería recargable es otro elemento importante de este circuito y se encarga de suministrar la energía que la luz de emergencia necesita para encenderse cuando se interrumpe la corriente.
En conjunto, existe un rectificador (D2) que proporciona una tensión continua que mantiene la batería en carga permanente mientras hay tensión de alimentación.
En el momento en que la corriente cesa, el SCR entra en su estado de conducción, y la corriente de la batería pasa a circular a través de la lámpara, del propio SCR y del devanado secundario del transformador cuya resistencia a la corriente continua es despreciable. La energía del acumulador se suministra a la lámpara (figura 3).
Los componentes para este circuito deben ser dimensionados para funcionar en armonía. Así, el SCR debe ser capaz de soportar la corriente requerida por el sistema de iluminación, mientras que el diodo rectificador debe ser capaz de soportar la corriente de carga del acumulador.
Como normalmente, la carga de los acumuladores usados en este caso puede ser bastante lenta, el diodo no necesita tener una corriente de operación elevada, para hacer esta limitación encontramos la resistencia R2.
Este resistor puede ser elegido de acuerdo con la corriente de carga del acumulador elegido teniendo en cuenta que normalmente para el caso de los acumuladores ácidos del tipo usado en automóviles la corriente ideal de carga nunca debe ser superior a 1/10 de la corriente máxima que puede proporcionar.
Una resistencia de 56 ohms x 2 W será más que suficiente para ofrecer una carga lenta.
Cuando la energía tiene su suministro restablecido, la tensión entra el ánodo y el cátodo se reduce a cero en los picos de alimentación y al mismo tiempo cesa la señal de excitación en la compuerta, con lo que el SCR apaga volviendo el circuito a la excitación inicial de espera .
El acumulador tiene entonces su carga restablecida por el circuito rectificador.
MONTAJE
Para el montaje de este aparato, las herramientas requeridas son las comunes en trabajos de electrónica: un soldador de pequeña potencia (máximo de 30 W), soldadura de buena calidad, un alicate de corte, un alicate de punta y un destornillador.
El acumulador puede ser del tipo usado en motocicletas, automóviles (12 voltios), o incluso acumulador de níquel-cadmio.
En cualquier caso, tanto la corriente de carga como la corriente máxima suministrada deben ser observadas.
El SCR utilizado para este montaje soporta una corriente máxima de 4 A lo que nos da una potencia máxima de 48 W en 12V. Esta potencia no debe ser superada, ya que el SCR puede dañarse.
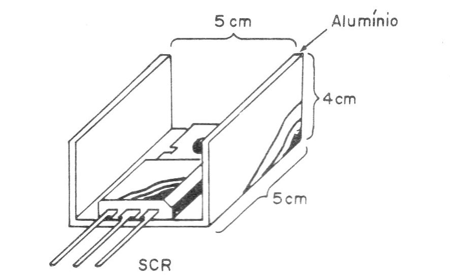
Un disipador de calor para SCR será necesario, principalmente si éste opera en su límite de potencia. (figura 4).
Con respecto a la técnica de montaje e instalación, diversas son las posibilidades.
El lector podrá fijar los componentes electrónicos en un puente de terminales, soldándolos por sus terminales e instalar el conjunto, el acumulador incluso, en una caja apropiada.
La lámpara o las lámparas se pueden fijar en la caja (figura 5) o instaladas de forma remota, para lo que se recomienda el uso de un hilo 18 o 16 en vista de las altas corrientes drenadas.
El hilo, por otro lado, no deberá tener más de 10 metros de largo en vista de la baja tensión de operación del sistema que implicaría en pérdidas por la resistencia del tío.
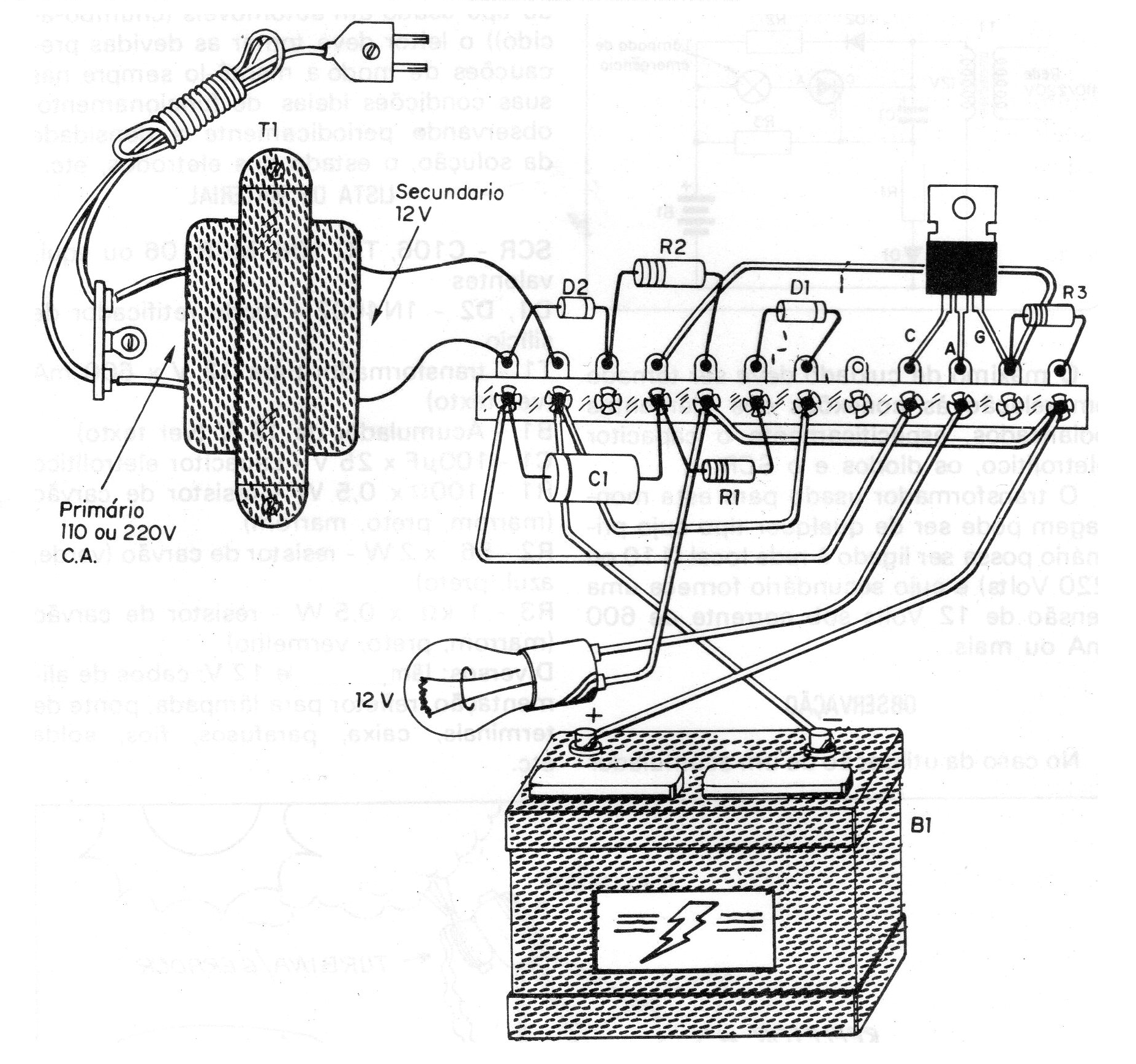
Para el montaje el lector podrá orientarse por la figura 6 en que damos la disposición de los componentes en un puente de terminales o por el diagrama que se da en la figura 7.
El máximo de cuidado debe ser tomado en relación a las conexiones de los elementos polarizados, específicamente el capacitor electrolítico, los diodos y el SCR.
El transformador utilizado para este montaje puede ser de cualquier tipo cuyo primario pueda ser conectado a la red local (110 o 220 Voltios) y cuyo secundario proporcione una tensión de 12 Voltios bajo corriente de 600 mA o más.
En el caso del uso de un acumulador del tipo utilizado en los automóviles (plomo-ácido) el lector debe tomar las precauciones adecuadas para mantenerlo siempre en sus condiciones de funcionamiento, observando periódicamente la densidad de la solución, el estado de los electrodos, etcétera
SCR - C106, TlC106, MCR106 o equivalentes
D1, D2 - 1N4002 - diodo rectificador de silicio
T1 - transformador a 12 V x 600 mA (ver texto)
B1 - Acumulador de 12 V (véase el texto)
C1 - 100 uF x 25 V - capacitor electrolítico
R1 - 100 ohms x 0,5 W - resistor de carbón (marrón, negro, marrón)
R2 - 56 x 2 W - resistor de carbón (verde, azul, negro)
R3 - 1 k x 0,5 W - resistor de carbón (marrón, negro, rojo)
Varios: lámparas de 12 V; cables de alimentación, reflector para lámpara, puente de terminales, caja, tornillos, hilos, soldadura, etc.










