Esta simple llave de código utiliza componentes comunes y permite establecer un número muy grande de combinaciones de números. El circuito acciona un relé que puede liberar una alarma o cerradura y en la condición de espera su consumo es extremadamente bajo.
El circuito presentado activa un relé por unos segundos solamente cuando tres interruptores se accionan de forma secuencial.
Si instalamos los interruptores en un teclado podemos tener una secuencia numérica para accionamiento.
Otros interruptores se añadirán para completar el teclado, y si alguno de ellos es accionado indebidamente, la llave reseca y no se puede accionar.
El circuito puede ser alimentado por tensiones de 6 o 12 V según la alarma y el transistor original puede ser sustituido por 2 BC548 en la configuración Darlington.
Como funciona
Tres interruptores de presión se conectan en serie y los capacitores electrolíticos de valores elevados.
El primer capacitor, de mayor valor, funciona como un depósito de energía cargado con una tensión muy próxima a la alimentación.
Cuando presionamos S1, parte de la carga de este capacitor se transfiere al segundo condensador de la serie (C2) que entonces se carga y mantiene la carga por algún tiempo.
Si presionamos luego S2, la parte de la carga de C2 se transfiere a C3 que entonces la mantiene por algún tiempo.
Presionando finalmente S3, la carga de C3 se transfiere a la base del transistor haciendo que conduzca la corriente y con ello el relé cierre sus contactos.
Vea que la operación de accionamiento de los tres interruptores debe ser rápida para que no haya tiempo para que pierdan sus cargas.
Si al final del proceso un interruptor que no forma parte de la secuencia es accionado, él descargará el capacitor C3 inhibiendo el funcionamiento de la clave de código.
Montaje
En la figura 1 tenemos el diagrama completo de la llave de código.

En la figura 2 damos una sugerencia de placa de circuito impreso para el montaje, utilizando un relé con zócalo DIL.

Los capacitores electrolíticos usados ??deben ser para 12 V o más y deben ser de excelente calidad, pues una descarga rápida debido a fugas impedirá el funcionamiento normal del circuito.
Los interruptores de presión se pueden colocar en un teclado con numeración de 0 a 9 para obtener una contraseña de 3 números, según la elección del ensamblador.
En la figura 3 damos una sugerencia de fuente de alimentación para el circuito.

El transformador tiene un secundario de 200 a 500 mA y no hay necesidad de regulación.
El circuito presentado tiene funcionamiento momentáneo, o sea, el relé acciona por un corto tiempo que depende de la descarga de C3.
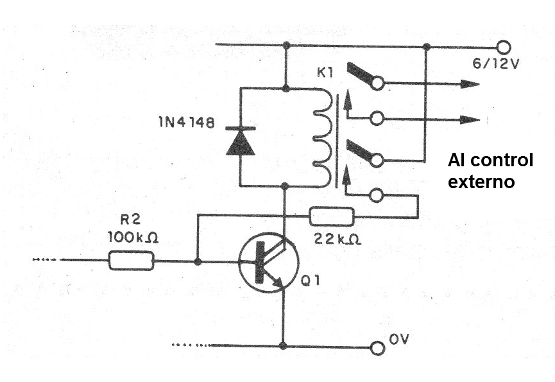
Para que el circuito traba podemos utilizar la conexión del relé mostrada en la figura 4.

El relé, en este caso debe ser de dos contactos reversibles y para rearmar el circuito, basta apagar por un instante la alimentación.
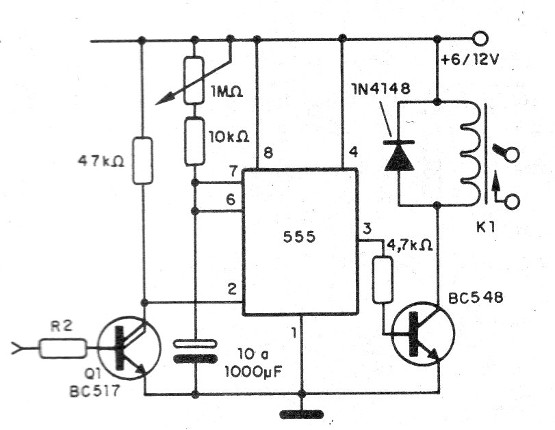
También podemos tener el accionamiento temporizado de una carga externa, usando para este propósito un astável con el 555 como muestra la configuración de la figura 5.

El tiempo de accionamiento depende del ajuste de P1 y del condensador.
Con 1 000 uF el tiempo de accionamiento puede ser del orden de algunas decenas de minutos.
Finalmente, tenemos en la figura 6 el modo de hacer el accionamiento de una cerradura eléctrica.

En este ejemplo, la cerradura es del tipo alimentado por batería, pero nada impide que se utilice una cerradura de 110 V o 220 V.
Si el accionamiento es muy rápido o inestable, cambie los valores de los condensadores.
Q1 - BC517 - transistores NPN Darlington
D1, D2, D3 - 1N4148 - diodos de silicio
R1, R2 - 100k ohms x 1/8 W - resistores - marrón, negro, amarillo
C1 - 1 000 uF - electrolítico
C2 - 100 uF - electrolítico
C3 - 10 uF - electrolítico
K1 - Relé de 6 o 12 V con 50 a 100 mA de accionamiento
S1 a S3 - interruptores de presión NA
Varios:
Placa de circuito impreso, caja para montaje, fuente de alimentación, hilos, soldadura, etc.



