Este circuito tiene como aplicación básica el control de temperatura de planchas de soldar y de elementos de calentamiento hasta 200 watts en la red de 110 V y el doble en la red de 220 V. Sin embargo, también se puede utilizar como control de brillo para lámparas incandescentes en la misma gama de potencia y control de velocidad para pequeños motores universales tales como taladros, etc. El circuito es de onda completa bastante simple y se caracteriza por el uso de un SCR de bajo costo.
La finalidad básica del proyecto es ajustar la temperatura de un hierro de soldar al punto ideal según el tipo de trabajo a realizar. El usuario puede perfectamente colocar el hierro en una condición de media potencia para mantenerlo calentado, cuando no lo está usando y rápidamente llevarlo a la temperatura ideal cuando necesite usarlo.
Sin embargo, como el circuito consiste básicamente en un control de potencia, también se puede utilizar con otros propósitos, como sugerimos en la introducción.
Pequeños invernaderos, cámaras de secado o incluso calentadores de acuario pueden tener su temperatura controlada con precisión utilizando este circuito.
También tenemos la posibilidad de incorporar este circuito en abajor o incluso en un sistema de iluminación ambiente para poder controlar la intensidad de una lámpara incandescente linealmente de 0 hasta casi el 100% de su brillo máximo.
COMO FUNCIONA
Los SCRs son controles de media onda lo que requiere el uso de un puente de diodos para tener un control de onda completa.
Entonces partimos del circuito básico de la figura 1 para explicar mejor su funcionamiento.

Observe que en la salida del puente de diodos sólo tenemos semiciclos positivos para la tensión alterna de la red de energía.
Estos puldod se llevan a una red RC de modo que, con la subida de la tensión en cada semiciclo el capacitor se va a cargar.
Sin embargo, el circuito RC está conectado a la conducción del SCR que es el elemento de disparo sensible a la tensión.
Cuando la tensión de disparo de la lámpara de neón que es del orden de 80 voltios se alcanza este componente conmuta y conduce la corriente que dispara el SCR. Con ello la resistencia entre el ánodo y el cátodo del SCR cae prácticamente a cero.
El resultado de ello es que a partir del momento en que ocurre el disparo hasta el final del semiciclo el SCR puede conducir la corriente alimentando el circuito de carga.
Ahora bien, el circuito RC tiene un potenciómetro que nos permite hacer la carga del capacitor más lenta o más rápida en cada semiciclo.
Si se ajusta el potenciómetro a una posición de mayor resistencia, la carga del capacitor será más lenta (mayor constante de tiempo), lo que significa que el disparo del SCR sólo se alcanzará al final del semiciclo.
El resultado final es que el SCR se conecta sólo por un pequeño tiempo, suficiente para conducir lo que queda del semiciclo y la carga recibe una pequeña potencia.
Sin embargo, si el potenciómetro se ajusta para una baja resistencia, la carga del capacitor será rápida (menor constante de tiempo) de modo que la tensión de disparo se alcanza al principio del semiciclo.
Lo que ocurre entonces es que el SCR se enciende pronto y prácticamente tiene tiempo de conducir todo el semiciclo aplicando a la carga mayor potencia.
Es evidente que por el potenciómetro podemos ajustar cualquier intervalo de tiempo para el disparo en el semiciclo, lo que nos permite entonces hacer que el SCR conduzca la corriente para aplicar cualquier potencia en la carga, como muestra la figura 2.

De hecho, el circuito es bastante eficiente y con la elección apropiada de valores para los componentes podemos aplicar en la carga cualquier potencia entre 0 y aproximadamente 98% de la potencia máxima.
El 100% sólo no se logra porque el SCR produce una caída de tensión del orden de 2 voltios cuando conduce y además, por menor que sea R no conseguimos disparar exactamente al inicio del semiciclo, incluso porque el SCR necesita cerca 1 volts para el disparo.
MONTAJE
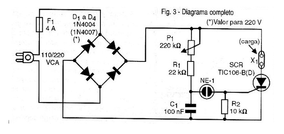
En la figura 3 tenemos el diagrama completo del control de potencia usando un SCR.

El circuito es bastante simple y se puede montar en una pequeña placa de circuito impreso, como se muestra en la figura 4.
El SCR debe montarse en un radiador de calor y su tipo dependerá de la tensión de su red de energía. Si la tensión es de 110 V el SCR puede ser el TIC106-B o bien o MCR106-4. si la tensión de la red es de 220 V el SCR puede ser el TIC106-D o el MCR106-6.
Los diodos del puente también deben elegirse de acuerdo con la tensión de la red de energía. Para 110 V utilice los 1N4004 o 1N4007. Para la red de 220 V se deben utilizar los 1N4007.
La potencia de la carga está básicamente limitada por los diodos que soportan corrientes de 1 A. Como conducen alternativamente en el puente, el conjunto puede controlar corrientes de hasta 2 A, aunque el SCR puede controlar hasta 4 A.
Así, existe la posibilidad de que las potencias mayores sean controladas (hasta 400 W en la red de 110 V y el doble en la red de 220 V) si los diodos se sustituyen por tipos de 2 amperios o más. La tensión de estos diodos debe ser de 200 V si la red es de 110 V y el doble para la red de 220 V.
El capacitor C1 debe ser de poliéster a 100 V y su valor eventualmente necesitará ser cambiado para compensar las tolerancias de los demás componentes, en caso de que la gama de potencias deseada no sea alcanzada por el potenciómetro.
El potenciómetro es común y los demás componentes tienen las especificaciones mínimas dadas en la lista de material.
Es importante alertar al lector que, como se trata de aparato conectado directamente a la red de energía, existe el peligro de choques y cortos peligrosos, lo que significa que todo el cuidado con aislamientos debe ser previsto por el montador.
AJUSTE Y USO
Para probar el aparato será interesante utilizar una lámpara incandescente común de 15 a 60 W conectada en la salida.
Ajustando P1 la lámpara debe tener su brillo variado entre 0 y casi el 100% del máximo.
Pueden ocurrir los siguientes problemas que eventualmente requieren compensación de valores de componentes:
a) El aparato no consigue la potencia mínima de brillo, es decir, la lámpara no se apaga cuando el potenciómetro está al menos. En este caso, lo que se debe hacer es aumentar el valor de C1. El lector puede experimentar conectar en paralelo con este componente capacitores de 10 nF, 22 nF, 33 nF y 47 nF o incluso más hasta obtener el punto cero.
b) El aparato queda con una "banda muerta" de ajuste, es decir, es necesario girar bastante el potenciómetro antes de que la lámpara "empiece" a encenderse. En este caso, lo que se debe hacer es reducir el valor de C1, a 92 nF o incluso menos o aún aumentar el valor del potenciómetro. También puede experimentar cambiar R2 en el rango de 1 k ohms a 15 k ohms.
c) El aparato no alcanza la potencia máxima de brillo. En este caso el lector tanto puede disminuir el valor del resistor R1 a 15 k ohms o incluso 10k ohms, puede disminuir el valor de R2 a hasta 1 k ohms así como disminuir levemente el valor de C1.
Dependiendo del montaje de cada uno, una combinación de los tres cambios será necesaria para obtener el mejor rendimiento. se observa que las tolerancias del 5% de los resistores y potenciómetros, las tolerancias de más del 20% en capacitores y hasta en la tensión de disparo de la lámpara neon son que son responsables de esta necesidad de adaptarse el circuito para mejor desempeño.
Una vez conseguido el funcionamiento ideal es sólo usar el aparato. Un botón graduado para el potenciómetro puede ayudar al lector a encontrar los puntos de potencia que desea para cada carga controlada.
Nota: como todo circuito que utiliza SCRs este genera una pequeña interferencia radioeléctrica que puede aparecer en televisores muy próximos o radios AM. Un filtro para estas interferencias se muestra en la figura 5.

Los capacitores deben ser de poliéster con tensión de trabajo de al menos 200 V si la red es de 110 V y 400 V si la red es de 220 V. Las bobinas constan de 40 a 60 vueltas de hilo 28 o cerca de ellas en bastones ferrita de 5 cm de longitud.
Semiconductores:
D1 a D4 - 1N4004 (110 V) o 1N4007 (220 V) - diodos de silicio
SCR - TIC106-B o MCR106-4 (110V) o TIC106-D o MCR106-6 (220V) - diodos controlados de silicio
Resistores (1/4 W, 5%)
R1 - 22 k ohms
R2 - 10 k ohms
P1 - 220 k ohms - potenciómetro
Capacitores:
C1 - 100 nF / 100 V - poliéster
Varios:
F1 - 4 A - fusible
NE-1 - lámpara de neón común
X1 - Toma común
Placa de circuito impreso, caja para montaje, radiador de calor para el SCR, cable de alimentación, soporte para el fusible, botón para el potenciómetro, hilos, soldadura, etc.




