Cuando realizamos el proyecto de un aparato electrónico, Io hacemos en forma de un diagrama o esquema.
En este esquema, según vemos en la figura 1, todos los componentes son representados mediante símbolos que no tienen nada que ver con su apariencia real.

En principio, el modo de asociar componentes es mediante símbolos, y a continuación, según el número de terminales de que disponga; por ejemplo, si una resistencia tiene dos terminales o puntos de sujeción en el diagrama, cada resistencia aparecerá siempre con dos líneas que indicarán dónde se debe de fijar en el circuito, y a su vez, dónde realiza la conexión dicha resistencia. Un transistor es un componente que siempre va a tener tres terminales o «patillas». Por ello, en el diagrama siempre aparecerán tres líneas que corresponderán a sus puntos de fijación y, a su vez, de conexión. Fig. 2

En un diagrama, los símbolos adoptados para cada componente también aportarán otra información adicional sobre el mismo componente, que es importante para la realización del montaje.
Asimismo, puede llevar un número de orden en el circuito; por ejemplo, para resistencias: R1, R2, R3...; condensadores: C1, C2, C3...; transistores: Q1, Q2, Q3...; etc.
También aparece el valor y unidades correspondientes a cada elemento, así como las siglas que lo denominan y, eventualmente, otras informaciones como tensión de trabajo, potencia de disipación, etc.
En la figura 3 se muestra un esquema en el que se indica el número de orden de las resistencias (R1, R2...) su valor en Ohmios (?) y la potencia en Watts.

En los condensadores, se indica su número de orden, su valor en nanofarads, picofarads y microfarads (nF, pF y F), así como la tensión que debe soportar cada condensador para su correcto funcionamiento.
En un esquema, es importante indicar los puntos en los que las líneas que corresponden a un elemento deben de formar una conexión con otro componente, ya que se pueden cruzar varias líneas y no tener conexión; como veremos posteriormente.
Asimismo, indicar que aunque en un diagrama o esquema se representen distintas conexiones separadas en una misma línea, en la realidad se pueden realizar en un mismo punto común.
En la fig. 4 vemos un ejemplo.

En este diagrama, Ia línea principal de alimentación corresponde al polo positivo de la batería. En ella se encuentran una serie de derivaciones correspondientes a otra serie de componentes, como R1 , R2, Cl y Q1.
Aunque en el esquema veamos que se encuentra uno al lado del otro, no es necesario que su distribución en el montaje sea la misma, aunque sí es preciso que cada uno de ellos se encuentre conectado al potencial que le corresponda, es decir, a positivo y negativo, aunque en distintos puntos. En la figura 5 se indica lo descrito anteriormente.

Como se ha dicho, en un esquema las líneas se pueden cruzar. Esto se puede representar de dos modos diferentes, como vemos en la figura 6.

En a) los hilos se cruzan, pero no existe contacto entre ellos al no tener punto común; en el circuito b) existe punto común o contacto, representado por el punto en la intersección de ambas líneas.
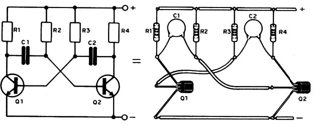
Para completar todo lo dicho anteriormente, se incluye como ejemplo la fig. 7, en la cual se representa el esquema de un circuito sencillo y el mismo circuito pero sustituyendo los símbolos por los componentes en el lugar que ocupan en el esquema.

A continuación, en la fig. 8 se muestra el mismo circuito anterior, pero colocando todos los componentes sobre una regleta o puente de conexión (terminales) y agrupando puntos comunes de conexión.

Es importante para el lector acostumbrarse a interpretar el montaje de un circuito mediante su esquema. Posteriormente, cuando se esté más acostumbrado, solamente se indicará el esquema del mismo para su realización. En la práctica, en muchos casos solamente se dispone del esquema del circuito a realizar sin ninguna otra información adicional.
UNION DE PUNTOS COMUNES
En el circuito anterior, para colocar los componentes se ha utilizado una regleta de conexión, sobre la que se ha realizado el montaje correspondiente al circuito.
Los componentes electrónicos menores, como resistencias, condensadores, transistores, diodos, etc. tienen puntos de sujeción frágiles. Sus hilos de conexión son delgados, se doblan con facilidad, no resistiendo grandes esfuerzos. A su vez, para realizar el montaje, se precisan puntos de apoyo, puntos de soldadura, unido a puntos de unión donde poder realizar el contacto entre sí y de este modo formar el circuito deseado.
Una de las técnicas más simples para obtener el apoyo de los componentes y al mismo tiempo garantizar un buen contacto eléctrico entre ellos, es a través del llamado puente de terminales, conocido también como «barra de terminales soldados».
EI puente de terminales está formado por una tira de material aislante (por ejemplo, ebonita, baquelita, etc.) sobre la cual se encuentran una serie de terminales con un agujero central. En éste, se pueden conectar y soldar los distintos componentes, y también colocar sobre cada terminal uno o varios componentes. Este puente puede fijarse sobre una base aislante (plástico o madera) de modo que resulte más fácil el montaje deseado.
El puente de terminales puede ser adquirido en tiras de diversos tamaños, aunque el más usual suele estar comprendido entre 12,5 y 14 cm., con 20 terminales. Puede utilizarse otro más corto de acuerdo con el montaje a realizar.
Se puede tener una barra de este tipo fija permanentemente sobre una base para realizar el pre montaje de un circuito más rápidamente. También existen unas placas agujereadas donde se colocan los componentes, que permite realizar un pre montaje rápido del circuito.



