El precio de la energía eléctrica no es nada agradable. Sin embargo, usted es del tipo que duerme con el televisor encendido, todas las luces encendidas y en los días fríos con un hambriento (por energía) calentador de ambiente. Si la cuenta de energía eléctrica está dejándolo preocupado entonces es hora de hacer que la electrónica le ayude a ahorrar. El proyecto que presentamos en este artículo sirve para apagar electrodomésticos en general después de intervalos de tiempo de hasta 2 horas. Por supuesto, los lectores que no tienen el mismo problema pueden encontrar fácilmente otras utilidades para esta minuteria.
Las minuterias no sólo sirven para apagar los televisores de durmientes de la madrugada. En el hogar, en el taller, e incluso en instalaciones industriales ellas encuentran una infinidad de aplicaciones.
Con ellas se pueden conectar o desconectar aparatos eléctricos en general al cabo de un tiempo programado.
Algunas aplicaciones posibles:
* Las luces de la luminosa de su tienda se pueden activar dos horas después de cerrarla, sólo cuando esté de noche, haciendo así un buen ahorro de energía.
* Los baños de luz en los procesos fotográficos pueden activarse y luego apagarse en el tiempo programado.
* Las luces del balcón de su casa se pueden apagar dos horas después de salir, dando la impresión de que hay alguien en su interior (simulador de presencia).
La minuteria que describimos en este artículo puede activar y desactivar cargas de hasta 10 amperios y los tiempos se ajustan linealmente en el rango de algunos minutos a 120 minutos. Se trata, sin embargo, de diseño tradicional con componentes no sofisticados, sin integrados y usando sólo semiconductores discretos comunes.
Evidentemente, como el ajuste es lineal hecho por medio de potenciómetro la precisión no es de las mayores lo que limita el uso del aparato a aplicaciones de tiempos poco críticos.
Lo importante del proyecto es que al final del tiempo programado, enviando el mando a la carga él se auto-apaga, ahorrando así energía.
El aparato puede funcionar tanto en la red de 110V y 220V y su consumo de energía es bastante bajo.
CARACTERÍSTICAS
* Tensión de alimentación: 110/220 VCA
* Tiempos de programación: 5 a 120 minutos
* Carga máxima: 10 ampères
* Consumo medio: 5 watts
COMO FUNCIONA
El intervalo de tiempo es determinado por la acción de un oscilador de relajación con transistores unijunción que tiene la configuración básica mostrada en la figura 1.

En este circuito, al conectar el aparato, el capacitor C1 se carga lentamente a través del resistor R1 y del potenciómetro P1 hasta alcanzar la tensión de disparo del transistor unijuntura. La tensión de disparo de ese componente es una característica natural de los transistores unijuntura dada por la relación intrínseca. Esta relación que varía entre 0,3 y 0,6 indica en qué proporción de la tensión entre las dos bases ocurre el disparo, debiendo todavía sumarse 0,6 V de la unión emisor / bases.
Así, si en la base 2 tenemos 6 volts y la relación intrínseca es 0,5, suponiendo que la tensión en B1 sea 0V, tendremos el disparo con 3 volts sumados a 0,6 de la unión que resultan en 3,6 volts.
Este valor permite calcular en qué instante de la curva de carga del capaciitor ocurre el disparo, como muestra la figura 2, pero eso sólo sería importante en una aplicación más crítica.

Para una aplicación menos crítica, este tiempo se puede aproximar a:
t = (R1 + P1) x C2
Donde: t es el tiempo en segundos
R1 = 100 k ohms
R2 = 4,7 M ohms
P1 = 1 500 uF
Calculando el tiempo con los valores indicados tenemos:
t = 7200 segundos
t = 120 minutos
Evidentemente, en estos cálculos deben ser consideradas las tolerancias de los componentes y principalmente la eventual existencia de fugas en el capacitor.
En funcionamiento, lo que ocurre es el siguiente:
Cuando aprieta el interruptor de arranque S1 el circuito recibe alimentación y el relé se bloquea, ya que está energizado a través de la resistencia R4.
Este bloqueo hace que la carga reciba la alimentación de la red de energía y también el propio circuito.
El capacitor C1 comienza entonces a cargarse a través del resistor R1 y del potenciómetro que está ajustado para el intervalo de tiempo deseado.
Cuando la tensión de disparo se alcanza el transistor unijunción dispara produciendo un pulso por la descarga del capacitor por su emisor y base B1.
Este pulso se lleva a la coma del SCR provocando su disparo. Se produce, sin embargo, que el disparo del SCR coloca momentáneamente en corto la bobina del relé que entonces desata, apagando con ello la alimentación.
El resultado es que el circuito auto-apagado ", y con ello la carga también está desactivada.
Para volver a activar el aparato, basta con presionar por un instante la salida (S1). Sin embargo, si se hace después de un disparo, como el capacitor mantiene una carga residual, el tiempo de accionamiento será un poco más corto de lo previsto.
Si el aparato se utiliza en aplicaciones que requieren temporizaciones sucesivas, se debe añadir un interruptor de presión en paralelo con el capacitor para descargarlo completamente antes del inicio de cada temporización.
MONTAJE
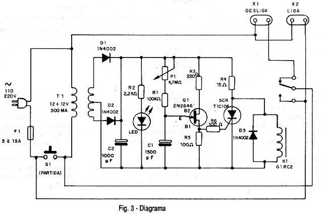
El diagrama completo del aparato se muestra en la figura 3.

La disposición de los componentes principales en una placa de circuito impreso y las conexiones de los componentes periféricos se muestra en la figura 4.

El relé empleado originalmente es de 10 amperios, pero equivalentes se pueden utilizar con corrientes según la carga controlada. Las modificaciones en el diseño de la tarjeta pueden ser necesarias según el tipo de relé.
El SCR no necesita radiador, pues opera por un corto tiempo con corriente algo baja. Los tipos con sufijo B o D se pueden utilizar sin problemas.
El transformador tiene devanado primario según la red local de energía y secundaria de 12 + 12V con al menos 300 mA de corriente. Los diodos son 1N4002 o equivalentes.
Los resistores son de 1 / 8W excepto R4 que debe tener 2W de disipación.
El LED es rojo común, y los capacitores electrolíticos deben ser de buena calidad con una tensión de trabajo de al menos 25 volts.
El potenciómetro es lineal de 4,7 M ohms. Para un tiempo máximo de 1 hora se puede utilizar un potenciómetro de 2,2 M ohms.
El transistor unijuntura no admite equivalentes, debiendo ser tomado cuidado redoblado en su instalación para que no ocurra su inversión.
El conjunto se puede instalar en una caja plástica con dos tomas de salida: en una de ellas se produce el accionamiento de la carga al final del tiempo programado. En la otra ocurre su cierre al final del tiempo.
PRUEBA Y USO
Para probar, llame a la salida que va a desactivar al final del tiempo programado una lámpara o una lámpara común de 5 a 100 vatios.
Ajuste P1 para el tiempo mínimo programado (del orden de 5 minutos o poco menos) y apriete S1.
El relé debe atracar y la lámpara se enciende. La lámpara debe permanecer encendida durante el tiempo programado. Al final, cuando la lámpara se apague, el aparato también debe apagar su propia alimentación.
Comprobado el funcionamiento será interesante hacer una escala de tiempos con base en un reloj o cronómetro común. Sin embargo, al hacer esta escala, antes de determinar cada tiempo en una temporización experimental, descargue el capacitor de tiempo.
Después de usar el aparato. Siempre ajuste P1 antes de presionar S1.
Semiconductores:
Q1 - 2N2646 - transistores unijuntura
SCR - TIC106 o equivalente - diodo controlado de silicio
D1, D2, D3 - 1N4002 o equivalente - diodos de silicio
LED - LED rojo común
Resistores: (1/8W, 5%)
R1 - 100 k ohms
R2 - 2,2 k ohms
R3 - 220 ohms
R4 - 15 ohms x 2 W
R5, R6 - 100 ohms
P1 - 4,7 M ohms - pote
Ccapacitores:
C1 - 1 500 uF / 25V - electrolítico
C2 - 1 000 uF / 25V - electrolítico
Varios:
S1 - Interruptor de presión tipo NA (botón de extracción)
T1 - Transformador con primario según la red local y secundaria de 12 + 12V con 300 mA o más de corriente
K1 - Relé de 12V x 10A - Metaltex o equivalente
X1, X2 - Tomas de embutir
F1 - 12 ampères - fusible
Placa de circuito impreso, soporte de fusible, cable de alimentación, caja para montaje, botón para el potenciómetro, hilos, soldadura, etc.
1995



