Si bien hoy las tecnologías inalámbricas accesibles y baratas, existen casos en que el uso de hilos sigue siendo más interesante para un sistema simple de comunicación. De hecho, en lugares ruidosos, puede no funcionar bien un sistema inalámbrico y si la distancia es algo largo los problemas pueden ocurrir. Vea en este artículo cómo montar un simple interfono con hilos.
Describimos el montaje de un interfono simple que utiliza sólo un transistor de potencia del tipo Darlington.
Este circuito tiene buena sensibilidad y se puede montar en placa de circuito impreso como puente de terminales.
El altavoz utilizado sirve tanto para la reproducción como el micrófono en cada una de las dos estaciones.
El cable puede tener algunas decenas de metros de largo y no necesita ser blindado.
El circuito todavía tiene monitoreo por LEDs que permite saber cuál de las funciones, hablar o oír, está siendo usada.
La alimentación es hecha por una fuente simple incorporada, conectada a la red de energía.
Los componentes utilizados son de fácil obtención y algunos de ellos pueden ser obtenidos incluso de equipos fuera de uso.
Como funciona
La base del circuito es un transistor Darlington de potencia del tipo TIP115, de bajo costo.
Este transistor tiene la configuración mostrada en la figura 1, presentando una excelente ganancia y siendo capaz de conducir corrientes intensas.

Este transistor posibilita la conexión directa de un altavoz en su emisor, con buena potencia de audio sin la necesidad de un transformador, que es componente crítico.
Cuando el aparato está en funcionamiento, uno de los altavoces se conecta a la base de un primer transistor a través de un pequeño transformador, funcionando así como un micrófono y el transistor al Darlington.
La señal de este micrófono es entonces amplificada por el transistor, siendo aplicado al otro altavoz que lo reproduce normalmente.
Cuando la llave pasa de la función hablar para oír, el otro altavoz pasa a tener su señal aplicada a la entrada del transistor y el que era micrófono, ahora opera como altavoz.
Entonces, que la estación que comanda el sistema tiene una chavinha que debe ser accionada siempre que la función hablar-oír sea cambiada.
Como la señal para el altavoz remoto es de baja impedancia no es necesario utilizar cable blindado, pero su longitud máxima se limita a algunas decenas de metros.
Una pequeña fuente de 6 V alimenta el circuito, quedando la misma conectada de modo permanente.
Montaje
En la figura 2 tenemos el diagrama completo del interfono.

En la figura 3 tenemos una sugerencia de placa de circuito impreso para el montaje.

El transistor Darlington de potencia debe estar dotado de un pequeño disipador de calor.
El transformador T2 puede ser del tipo de fuerza pequeño con un primario de 110 V y secundario de 6 V con corriente entre 200 y 500 mA.
En realidad, el transformador funcionará en función diferente de la normal, sólo casando la impedancia de los altavoces.
Los condensadores electrolíticos son para 12 V o más.
La disposición de los componentes en las dos estaciones con las conexiones que se deben hacer se muestra en la figura 4.

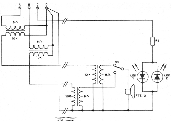
Para aumentar la longitud de los hilos en un sistema de mayor alcance, deben utilizarse transformadores conectados como se muestra en la figura 5.

En este caso, los hilos entre las estaciones pueden tener hasta 200 metros de longitud.
Q1 - BC548 - transistores NPN de uso general
Q2 - TIP115 - transistor Darlington de potencia
D1, D2 - 1N4002 - diodos de silicio rectificadores
LED1, LED2 - LED rojo y verde común
FTE1, FTE2 - 8 ohms x 10 cm - Altavoces
T1 - Transformador con primario según la red y secundario de 6 + 6 V x 300 a 500 mA
T2 - Transformador casador - ver texto
F1 - 1 El fusible
C1 - 470 nF - capacitor de cerámica o poliéster
C2 - 10 nF - capacitor de cerámica o poliéster
C3 - 47 uF - capacitor electrolítico
C4 - 1 000 uf - capacitor electrolítico
R1 - 3M3 x 1/8 W - resistor - naranja, naranja, verde
R2 - 560 k ohms x 1/8 W - resistor - verde, azul, amarillo
R3 - 470 ohms x 1/8 W - resistor - amarillo, violeta, marrón
R4 - 15 ohms x 1 W - resistor - marrón, verde, negro
R5 - 2k2 x 1/8 W - resistor - rojo, rojo, rojo
S1 - Interruptor simple
S2 - Llave de tensión 110/220 V
S3 - llave de 1 polo x posiciones
S4, S5 - Llaves de polo x 2posiciones con retorno automático
Varios:Caja para montaje y altavoz remoto, placa de circuito impreso, cable de alimentación, soporte para fusible, hilos, soldadura, etc.



