Es común, encontrar en las tiendas de componentes electrónicos, amplificadores híbridos, que permiten la realización de proyectos completos de alta potencia, con muy pocos componentes externos. Se destacan entre los híbridos más usados los de Sanyo (Serie STK, por ejemplo) y los de Sanken. En este artículo presentamos un amplificador de 50 W por canal con híbridos de Sanken.
Los circuitos híbridos, se caracterizan por el montaje en un sistema casi integrado, tanto de semiconductores, como de componentes pasivos, en un solo soporte que se coloca en envoltorio listo para su uso.
Tenemos en estos componentes, tanto elementos que se fabrican interconectados en un proceso único como componentes que se fabrican separadamente y después montados en la misma envoltura de la denominación.
Como en el caso de los integrados, la obtención de transistores, diodos y resistores, no ofrece mayores problemas.
Sin embargo, los capacitores de valores elevados no se pueden obtener con facilidad siendo normalmente los componentes externos necesarios para la implementación del proyecto.
Debido a la simplicidad que se obtiene para un amplificador completo, muchos fabricantes de equipos que necesitan este tipo de etapa, optan por los híbridos, de que se encuentran en sistemas de sonido, instrumentos musicales (órganos, cajas amplificadas, etc.), equipos profesionales de audio, vídeo, etc.
CÓMO TRABAJAR CON HÍBRIDOS
Por supuesto, en el caso de la quema de cualquier elemento interno de un amplificador híbrido, no hay otra solución que su sustitución.
Por este motivo, además de los cuidados normales con el montaje, debemos precaver con eventuales cortos en elementos de salida o la aplicación de tensiones arriba de las recomendadas.
Los amplificadores de este tipo vienen montados en envoltorios de pines alineados (SIL) que permiten el montaje fácil de radiadores de calor y el diseño de placas con conexiones cortas, lo que es muy importante para evitar la captación de zumbidos e inestabilidades.
El formato de este integrado se muestra en la figura 1.

En nuestro caso, el híbrido usado es el Sl-1050G que presenta las siguientes características eléctricas:
Potencia de salida RMS: 50 W
Impedancia de salida: 8 ohms
Impedancia de entrada: 10 k
Rango de frecuencias para 0,5% de distorsión: 20 a 100 000 Hz
Fuente de alimentación necesaria: simétrica de 26 + 26 V x 2 A
MONTAJE
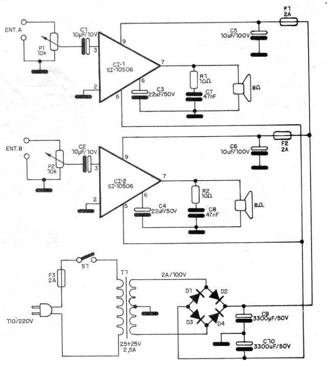
En la figura 2, tenemos el diagrama completo del amplificador, incluyendo la fuente de alimentación.

Las tensiones de operación de los capacitores electrolíticos se dan en el propio diagrama. los resistores son de 1/8 W y el potenciómetro de control de volumen de cada canal es log de 1ok y eventualmente puede ser usado en un solo doble con el aumento de un control de balance.
El transformador tiene devanado primario de acuerdo con la red local y secundaria de 25 + 25 V con 2,5 A de corriente por lo menos.
Los electrolíticos del sector de fuente deben ser realmente grandes para garantizar un buen filtrado.
Los altavoces deben ser capaces de soportar la potencia de salida de cada canal y cada uno de los canales está protegido por un fusible.
En el diseño de la tarjeta haga sendas anchas para los pines y alimentación (9 y 5 de cada uno integrado) y así como el retorno común (pin 2).
PRUEBA Y USO
Sólo hay que conectar la unidad y aplicar una señal en la entrada, verificando, si ocurren calentamientos anormales de los circuitos híbridos que deben estar en buenos radiadores de calor.
La anomalía como roncos o inestabilidades, puede deberse a filtración o senderos largos en las entradas o en los propios cables de entrada.
CI-1 y CI-2 - SI-l050G - Amplificador híbrido Sanken
D1 a D4 - diodos de 100 V x 2A
T1 - Transformador con primario según la red local y secundaria de 25 + 25 V x 2,5 A
F1 a F3 - 2A - fusibles
P1 y P2 - 10 k - potenciómetros log
S1 - Interruptor simple (opcional junto a P1 y P2 - doble)
C1 y C2 - 10 uF / 10V - capacitores electrolíticos
C3 y C4 - 22 uF / 50 V - capacitores electrolíticos
C5 y C6 - 10 uF / 100 V - capacitores electrolíticos
C7 y C8 - 47 nF - capacitores cerámicos o poliéster (100 V o más)
C9 y C10 - 3 300 uF / 50 V - capacitores electrolíticos
R1, R2 - 10 ohms x 1/8 W - resistores (marrón, negro, negro)
Varios: placa de circuito impreso, radiadores de calor, botones para los potenciómetros, soporte para fusibles, cable de alimentación, hilos, soldadura, etc.



