Agregue un sensor de presencia infrarroja al proyecto. Con esto su robot, alarma, sistema de seguridad o vigilancia podrá sensoriar la presencia de personas a distancia en la oscuridad, simplemente detectando el calor de su cuerpo. El proyecto se basa en el sensor de bajo costo y fácil de usar RE200B de Metaltex (www.metaltex.com.br) disponible en nuestro país.
En las puertas de centros comerciales, aeropuertos, en baños públicos, pasillos y otros lugares es común encontrar sensores que abren puertas, encienden luces o activan un aviso cuando una persona está presente en estos lugares. Estos sensores, llamados piroeléctricos, detectan el calor del cuerpo de la persona para activar un circuito electrónico, poseyendo una gran sensibilidad a este. Nuestro proyecto se basa en uno de estos sensores, y por lo tanto puede añadir un "ojo infrarrojo" a su proyecto que será capaz de detectar a las personas, incluso en la oscuridad, ya que utiliza el propio calor de sus cuerpos.
Antes de analizar el proyecto en sí, será interesante analizar en detalle su principio de funcionamiento.
Infrarrojo
El espectro visible, donde están las radiaciones que podemos ver no es único. Por encima y por debajo tenemos otras formas de radiación, como se muestra en la figura 1.

Estamos especialmente interesados en la parte del espectro por debajo de la luz roja que, por lo tanto, corresponden a ondas electromagnéticas con longitudes de onda mayores que la luz visible y, por lo tanto, frecuencia baja. Debido a que estas radiaciones están por debajo del rojo, se llaman infrarrojos porque "infra" significa bajo, de la misma manera que las radiaciones que están por encima del violeta se llaman ultravioleta, porque "ultra" significa por encima o más allá.
No podemos ver estas radiaciones, pero podemos sentirlas porque tenemos algunos órganos sensoriales para eso, y además son emitidas por cualquier cuerpo que esté a una temperatura absoluta por encima de cero. Cuanto mayor sea la temperatura corporal, mayor será la cantidad de radiación infrarroja que emite, como se muestra en la figura 2.
Esta figura nos muestra la ley de Stephan-Boltzmann que describe cómo las radiaciones emitidas por un cuerpo caliente se rompen en el espectro. Vea que las longitudes de onda por encima de 5 micrones corresponden precisamente al infrarrojo.

Vea entonces que mientras que un cuerpo muy caliente tiene gran parte de su energía en el espectro visible, volviéndose así luminoso, un cuerpo justo por encima de la temperatura ambiente, como nuestro cuerpo, tiene la mayor parte de la energía emitida en la banda de infrarrojo, y prácticamente nada en la parte visible. Esto significa que para aquellos que ven infrarrojos, nos vemos "iluminados" en la oscuridad. Si un sensor ven infrarrojos, entonces puede detectar cuerpos que están a una temperatura por encima del cero absoluto.
El Sensor Piroeléctrico
Hay materiales llamados electretros que tienen una carga eléctrica natural en sus caras. Son los equivalentes electrostáticos de los imanes que tienen polos magnéticos. Los electretros tienen polos eléctricos, como se muestra en la figura 3.

Ocurre, sin embargo, que la carga eléctrica de estos materiales varía apreciablemente en presencia de radiación infrarroja que permite utilizarlos como sensores piroeléctricos. La palabra piroeléctrico proviene de "piro" que significa fuego en griego, una alusión a la posibilidad que tienen de detectar calor. Un sensor piroeléctrico común, como el que usaremos en nuestro proyecto, tiene una ventana transparente a los rayos infrarrojos, el material del sensor y un circuito electrónico que amplifica las débiles variaciones en la carga de electrodos que ocurren cuando se recibe la radiación infrarroja. La figura 4 muestra la apariencia del sensor RE200B de Metaltex.

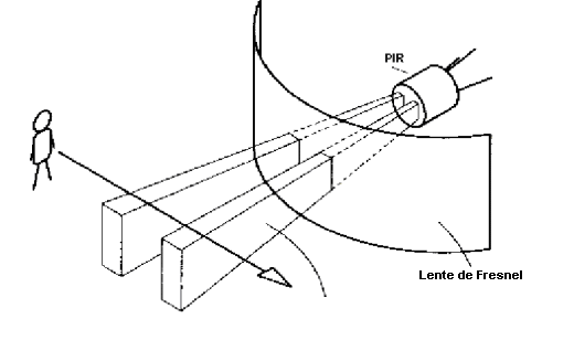
El sensor utilizado tiene internamente un FET (Transistor de Efecto de Campo) para que sus terminales correspondan precisamente a los elementos de este componente, drenaje, fuente y tierra. Sin embargo, el sensor no funciona solo en la mayoría de las aplicaciones prácticas. Para concentrar adecuadamente la radiación infrarroja y también hacer su selección entre otras formas de radiación es necesario utilizar una lente especial. Se trata de una lente Fresnel que, en el caso del RE200B se vende por separado con la designación 7708-1. Esta lente debe colocarse delante del sensor, como se muestra en la figura 5.

Con el uso de la lente los rayos infrarrojos se concentran adecuadamente en el sensor para que se haga su detección. La lente también determina el ángulo de visión del sensor, es decir, su área de cobertura, que generalmente se expresa mediante una apertura horizontal y una apertura vertical.
El Circuito Electrónico
La señal proporcionada por el sensor es muy débil, necesitando una buena amplificación para que cualquier dispositivo externo se active. Una posibilidad para esto es el uso de un amplificador operacional
Prácticamente cualquier amplificador operacional sirve para este propósito por lo que en nuestro proyecto práctico elegimos el LM324, que es bastante común y que forma un sistema de cuatro pasos. En este circuito, utilizamos una fuente de 5 V y accionamos un circuito como proyecto básico, como se muestra en la figura 6.

Sin embargo, en la salida del relé se conectan varias cargas siempre que el FET utilizara los soportes. Como el consumo del sensor es del orden de 10 mA, hay un mayor consumo solo cuando se activa la carga, su potencia se realiza con baterías ordinarias. El montaje se realizó en base a una matriz de contactos, pero nada impide el uso de una placa universal con el mismo estándar o diseñó una placa específica para su implementación. Observe cuidadosamente la posición de los terminales del sensor piroeléctrico, el circuito integrado y también la polaridad de los componentes polarizados.
Configuración y Uso
Después del montaje, compruebe todas las conexiones y alimente el aparato. Párese delante del sensor y configure el trimpot para tener el accionamiento del relé. Salga de la parte frontal del sensor. El relé debe desarmarse. El funcionamiento probado es sólo para utilizar el sensor. Una idea interesante para su aplicación para un robot es su uso como ojo infrarrojo para un robot que será capaz de seguir a las personas por el calor de su cuerpo. Otra posibilidad interesante es un robot bombero capaz de localizar el fuego por su emisión de radiación infrarroja.
CI-1 - 741 - amplificador operacional
RE200B - sensor piroeléctrico (Metaltex)
LED - LED rojo común u otro color



