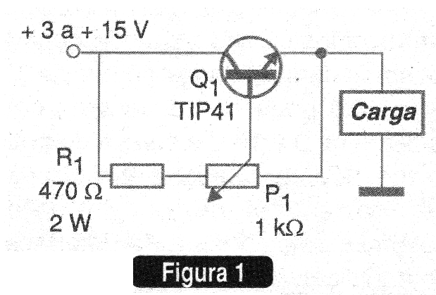
Controlar la intensidad de una corriente continua de hasta 3 ampères en una carga. El circuito completo del reóstato se muestra en la figura 1.

Utilidades:
• Dimmer de corriente continua controlando el brillo de las lámparas o la velocidad de los motores de corriente continua.
• Aplicaciones en robótica y automatización
• Control de brillo de lámparas de panel de automóviles o máquinas
• Control de accionamiento de SMA
Detalles constructivos:
En la figura 2 damos una sugerencia de placa de circuito impreso para el montaje del reóstato.
Observe las pistas más gruesas para la conducción de la corriente principal.
El transistor debe estar dotado de un disipador de calor compatible con la intensidad de la corriente controlada.
La tensión de entrada debe ser por lo menos 1 V mayor que la mayor tensión que se desea aplicar a la carga. El potenciómetro P1 debe ser de hilo.
Semiconductor:
Q1 - TIP41 o equivalente - transistores NPN de potencia
Resistores:
R1 - 470 ohms x 2 W
P1 - 1 k ohms - potenciómetro de hilo
Varios:
Hilos, soldadura, radiador de calor para el transistor, placa de circuito impreso, etc.




