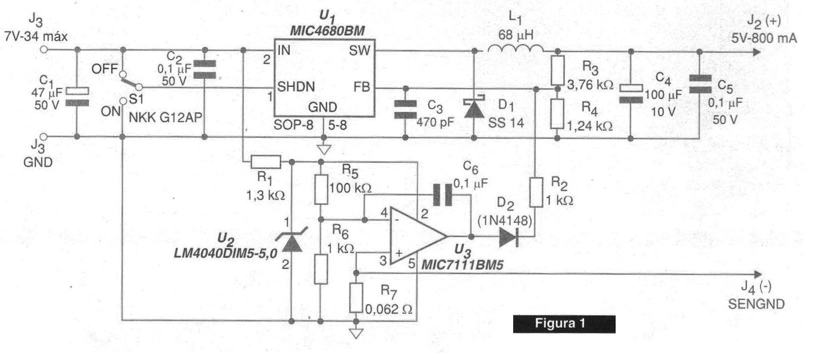
En la figura 1 tenemos un circuito de cargador de batería utilizando tres circuitos integrados de Micrel.
El MIC4680 es un regulador tipo "buck" que proporciona una corriente de hasta 1 A en frecuencia de 200 kHz.
El segundo es el LM4040DIM5-5.0 que consiste en una referencia de tensión del tipo shunt para micropotencias.
Finalmente, el tercero es el MIC7111BM5 que es un comparador de voltaje del tipo línea a línea de alimentación.
El circuito proporciona una corriente constante de salida de 800 mA bajo tensión de 5 V a partir de entradas de 7 a 34 V.
El inductor L1 es de 68 uH con una corriente de saturación de al menos 1 A.
El diodo D1 debe ser del tipo Schottky con baja tensión directa como los tipos B140 o SS14.
Otro componente crítico en este montaje es la resistencia R7 de 0,062 ohms que debe tener 1% de tolerancia.
Los demás componentes son comunes.
Puede obtenerse más información en www.micrel.com.




