Este circuito se dispara cuando la humedad detectada por un sensor hace que su resistencia disminuya, disparando el oscilador que emite un sonido en un altavoz.
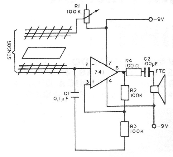
En la figura tenemos entonces el circuito completo de la alarma activado por la humedad en que los sensores no consisten más que dos pantallas de alambre separadas por un pedazo de tejido seco. Las pantallas deben mantenerse apretadas sobre este tejido seco que también debe ser poroso.
Al caer agua sobre el tejido, su resistencia baja rápidamente disparando el circuito (figura 1).

En la figura 2 tenemos el sensor que se hace con pantallas y un pedazo de tejido poroso.

CI - 741 o equivalente
R1 - 100 k - trimpot
R2, R3 - 100 k x 1/8 W- resistores (marrón, negro, amarillo)
R4 - 100 ohms x 1/4 W - resistor (marrón, negro, marrón)
C1 - 0,1 uF - capacitor de poliéster
C2 - 100 uF x 16 V - capacitor electrolítico
FTE - altavoz de 8 ohms
Varios: sensor (ver texto), placa de circuito impreso, fuente simétrica, hilos, soldadura, etc.



