Este circuito acciona LEDs bicolores verde / rojo y LEDs comunes amarillos en una secuencia que es igual al de un semáforo. El circuito puede ser usado en maquetas o con fines didácticos. Su montaje es simple, ya que se utilizan componentes comunes.
El diseño descrito puede ser usado en maquetas o aún, con la utilización de lámparas, con finalidad didáctica para la enseñanza de reglas de tránsito.
Los LEDs o las lámparas pueden tener la misma disposición de un semáforo común, como se muestra en la figura 1.

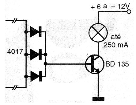
En la versión original, el circuito integrado utilizado, que es un 4017, puede alimentar directamente LEDs, pero existe la posibilidad de emplear interfaces de potencia para lámparas de mayor potencia.
Así, en la figura 2 tenemos una interfaz para lámparas incandescentes de 6 a 12 V con corrientes hasta 500 mA.

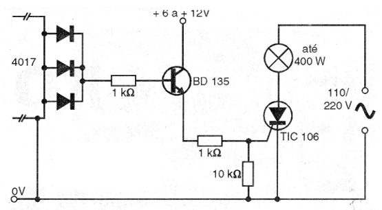
Podemos utilizar lámparas incandescentes de color hasta unos 400 W con la interfaz mostrada en la figura 3.

Para este circuito los SCR deben ser sufijos B o D si la red es de 110 V y D si la red es de 220 V.
Para lámparas superiores a 25 W, el SCR debe estar dotado de un disipador de calor.
El funcionamiento es sencillo de entender.
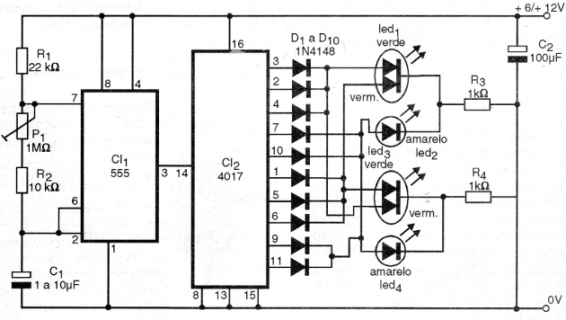
Tenemos un oscilador con el 555 cuya frecuencia y controlada en P1 determinando el ciclo de accionamiento del semáforo.
Las señales de este oscilador se aplican a un 4017 que tiene sus 10 salidas decodificadas por un conjunto de diodos.
Los diodos se conectan de tal forma que accionan siempre dos LED cada vez en el ciclo de funcionamiento de un semáforo.
Montaje
En la figura 4 tenemos el diagrama completo del aparato.

La placa de circuito impreso para el montaje se muestra en la figura 5.

Al realizar el montaje, observe las posiciones de los circuitos integrados y la polaridad de los LEDs y de los capacitores electrolíticos.
Los capacitores son para 16 V o más y los resistores de 1/8 W con cualquier tolerancia.
Los LEDs verde y rojo son del tipo bicolor, pero se pueden utilizar LEDs independientes e incluso tricolores, si el lector tiene facilidad para su obtención.
La alimentación del circuito puede ser efectuada por pilas o por fuente.
Para probar y usar, basta con conectar el circuito y ajustar P1 para la velocidad de funcionamiento deseada.
CI-1 - 555 - circuito integrado
CI-2 - 4017 - circuito integrado
LED1 a LED4- LEDs según los colores indicados en el diagrama
D1 a D10 - 1N4148 - diodos de uso general
P1 - 1 M ohms - pote
C1 - 1 a 10 uF - capacitores electrolítico
C2 - 100 uF - capacitores electrolítico
R1 - 22 k ohms - resistor - rojo, rojo, naranja
R2 - 10 k ohms - resistor - marrón, negro, naranja
R3, R4 - 1 k ohms - resistores - marrón, negro, rojo
Varios:
Placa de circuito impreso, caja para montaje, fuente de alimentación o pilas, hilos, soldadura, etc.



