Para una buena parte de los componentes electrónicos tradicionales existe la posibilidad de obtener un equivalente integrado en una pastilla de silicio. Es el caso de condensadores, resistores, diodos, etc. El transformador y los inductores sin embargo, por un buen tiempo estuvieron fuera de esa posibilidad. Una alternativa muy interesante para lo que podemos considerar un transformador "de estado sólido" es justamente la presentada en este artículo: el transformador piezoeléctrico.
La forma más común de aumentar o reducir las tensiones sin el uso de transformadores tradicionales formados por bobinas y núcleos pesados es a través de convertidores de estado sólido, multiplicadores de tensión y otras configuraciones que además de complejas, no siempre pueden eliminar la necesidad de un inductor u otro componente del mismo tipo.
Una salida para la alimentación de cargas de muy bajo consumo, como circuitos integrados CMOS y otros que exigen corrientes del orden de micro-camiones es a través del uso de un transformador piezoeléctrico.
Puede ser considerado un transformador "de estado sólido", no hace uso de bobinas o materiales ferrosos, pudiendo fácilmente convertir tensiones bajo regímenes de bajas corrientes. Se trata, por lo tanto, de una solución interesante para alimentar circuitos de baja potencia.
Como funciona
El hecho de que al haber aplicado una tensión una cerámica piezoeléctrica se deforma, y de la misma forma, al ser deformada, aparece en sus caras una tensión es bien conocida de todos los lectores, conforme muestra la figura 1.

Podemos aprovechar este efecto piezoeléctrico para convertir tensiones de una forma muy simple.
Como muestra la figura 2, el enrollamiento (virtual) de nuestro transformador estará formado por dos electrodos colocados en puntos apropiados de un pedazo de cerámica piezoeléctrico.

En otra parte de la misma cerámica tendremos el devanado secundario (virtual) que estará formado por dos electrodos colocados en el mismo material.
Cuando aplicamos en los electrodos que forman el primario una tensión alternada de frecuencia apropiada la cerámica se deforma produciendo ondas mecánicas que se propagan a través del material.
Estas ondas, provocan justamente la deformación del material entre las placas que forman el secundario, donde entonces aparece una tensión.
Otra posibilidad interesante de montaje es la mostrada en la figura 3.

Dos transductores piezoeléctricos se colocan uno al lado del otro, siendo uno el primario del transformador y el otro el secundario. Entre ellos existe un aislamiento, lo que garantiza que primario y secundario sean eléctricamente aislados.
Aplicando una tensión alternada en el primario, hace que el transductor produzca ondas sonoras (mecánicas) que se propagan hasta el segundo transductor.
Podemos decir que funciona como un micrófono, convirtiendo estas ondas mecánicas en una señal eléctrica que se puede utilizar para alimentar un circuito externo.
Un circuito práctico de aplicación se muestra en la figura 4, donde el resistor de entrada puede tener su valor alterado en función de la carga alimentada y de las características de los transductores usados.
Para una carga de 1 M ohms, por ejemplo, con una entrada de 220 V se puede tener una tensión de salida de aproximadamente 6 V con el circuito indicado. Con cargas mayores, por ejemplo, 10 k ohms, la tensión continua obtenida cae a algo alrededor de 1 V.
Evidentemente, en función de la aplicación, se puede estudiar el uso de transductores diferentes, obteniéndose así mayor rendimiento.
El máximo rendimiento de este tipo de dispositivo se obtiene cuando la frecuencia de la señal aplicada al primario (virtual) es la frecuencia de resonancia de la cerámica. En estas condiciones las vibraciones mecánicas tienen la máxima amplitud y la transferencia de energía es máxima.
Transformadores Comerciales
Los dispositivos electrónicos comerciales que consisten en transformadores piezoeléctricos o piezoeléctricos (PT) ya están disponibles para aplicaciones prácticas.
En la figura 5 tenemos la construcción de un tipo comercial que es fabricado colocando electrodos de plata en un disco único cerámico que transmite la energía del primario al secundario a través de energía mecánica.

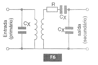
El circuito equivalente utilizado en ese dispositivo, que tiene un terminal común al primario y secundario se muestra en la figura 6.

En la figura 7 mostramos un gráfico en el que tenemos la eficiencia en función de la resistencia de carga para un transformador típico de ese tipo.
Se observa que esta curva puede ser diferente en función de los materiales usados, siendo típica para los transformadores comunes existentes hoy en el mercado.
Conclusión
En la alimentación de dispositivos de baja tensión y muy bajo consumo a partir del alto voltaje de la red de energía el uso de un transformador piezoeléctrico puede ser una solución interesante en sustitución de las soluciones tradicionales como, por ejemplo, las que hacen uso de fuentes de transformador.
El transformador piezoeléctrico, además de presentar un rendimiento mayor tiene dimensiones menores que los propios capacitores usados en esas fuentes. Se agrega a ello el hecho de que estos transformadores pueden proporcionar un aislamiento entre red y carga que las fuentes sin transformadores no suministran.
De la misma forma, las ventajas en relación a las fuentes que hacen uso de transformadores convencionales son patentes, tanto por la dificultad en obtener un transformador tradicional para potencias muy bajas como por el propio costo de ese componente.





