Si usted tiene un equipo portátil que opera con 6 V y desea utilizarlo en el coche o conectarlo a una batería de 12 V, o incluso fuente fija de 12 V, este convertidor puede ser útil. Convierte los 12 V de una salida cualquiera en 6 V con corriente hasta 1 A.
La base del circuito es un único circuito integrado regulador de tensión que proporcionará exactamente los 6 V que usted necesita aunque la entrada varía de 9 a 15 V. En la figura 1 tenemos el diagrama completo del convertidor.

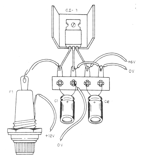
En la figura 2 tenemos el aspecto real de montaje usando un puente de terminales. El circuito integrado deberá estar dotado de un disipador de calor.

CI-1 - 7806 - circuito integrado regulador de tensión
F1- 2 A- fusible
C1, C2 - 100 uF x 16 V - condensadores electrolíticos
Varios: puente de terminales, soporte para el fusible, radiador de calor para el CI, hilos, soldadura, etc.



