Con esta minutería es posible mantener aparatos eléctricos y electrónicos conectados por intervalos de tiempo que se pueden ajustar entre unos segundos a cerca de media hora. Se trata de un aparato ideal para ser utilizado en alarmas, en fijación de tiempos en juegos y para el accionamiento de ventiladores, radios, lámparas, etc.
Describimos una minuteria simple que puede funcionar tanto con tensiones de 6V como de 12V dependiendo sólo del relé empleado. Durante un intervalo de tiempo, que puede ajustarse en un buen rango de valores por medio de un potenciómetro, un relé se mantiene activado.
Al final del tiempo programado, el relé se desactiva conectando o apagando una carga externa, según los contactos del relé que se utilizan.
El consumo durante la temporización depende de la alimentación, de entre 50 y 100 mA. Este hecho permite la utilización del aparato con alimentación por pilas medias o grandes o incluso una fuente de alimentación.
La versión de 12V también se puede utilizar en el coche.
Una aplicación interesante para el coche es la activación automática del sistema de alarma con la salida del usuario: presionando el interruptor S1 el relé desactivará el sistema de alarma por el tiempo que las personas necesitan para salir y cerrar el vehículo. Después de eso, la alarma se activará automáticamente.
Un reed-switch en paralelo con S1 permite que la alarma nuevamente sea desactivada, pero por el lado de fuera usando un pequeño imán, en la entrada en el vehículo.
Características:
* Tensión de alimentación: 6 o 12V DC
* Corriente máxima consumida: 50 mA con 12V - 100 mA con 6 V
* Corriente en reposo (relé desactivado): 0,5 mA (tip)
* Rango de tiempo: 1 segundo a 30 minutos
* Corriente máxima de la carga: 2 A con los relés usados
COMO FUNCIONA
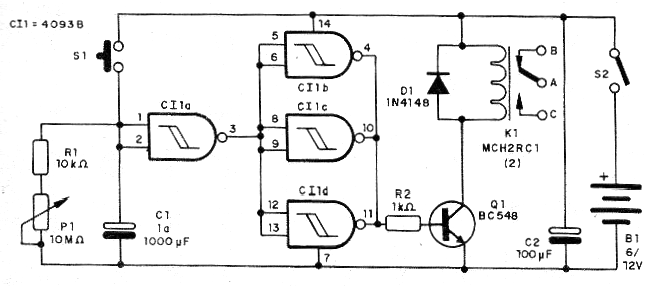
Cuando presionamos el interruptor S1 por un instante, para dar inicio a la temporización, el capacitor C1 se carga con la tensión de alimentación y con ello se establece un nivel alto en la puerta inversora formada por CI-1a del 4093B.
Con la ida de la entrada de la puerta al nivel alto, su salida va al nivel bajo. Como esta salida está conectada a las otras tres puertas inversoras que se conectan en paralelo, las salidas de estas van todas al mismo tiempo al nivel alto.
Estas salidas de CI-b, CI-1c y CI-1d sirven para saturar el transistor Q1 que tiene por carga el relé. De esta forma, el relé atraca y se mantiene en esta condición.
Inmediatamente después de soltar S1, el capacitor C1 comienza a bajar lentamente vía P1 y R1. P1 entonces determina la velocidad de esta descarga, de modo que la tensión en la entrada de CI-1a caiga lentamente.
Cuando la tensión en el capacitor cae por debajo del punto en que el CI la reconoce como nivel alto, ocurre la conmutación y todos los niveles lógicos de las puertas siguientes son invertidos.
Con ello, la salida que excita el transistor va al nivel bajo y el transistor al corte desactivando el relé.
En estas condiciones, al final de esta temporización el relé desarma apagando (o ligando) la carga externa.
Observe que el consumo mayor del aparato ocurre justamente con la energización del relé, pues este componente es el que representa el mayor drenaje de corriente. Al final, con el transistor en el corte, la corriente del circuito cae a un nivel extremadamente bajo que permite que las pilas queden conectadas permanentemente sin que ello represente peligro de descarga.
MONTAJE
En la figura 1 tenemos el diagrama completo de la minutería.
En la figura 2 tenemos la placa de circuito impreso para el caso de emplear relés del tipo MCH. Si se utilizan relés del tipo G1RC1 o G1RC2 de mayor corriente, la parte correspondiente de la placa debe ser modificada.

Para mayor seguridad sugerimos que el circuito integrado sea instalado en un zócalo DIL de 14 pines, lo mismo ocurre con el relé.
Los resistores son de 1/8 W con un 5% o más de tolerancia y el capacitor C1 que determina la temporización puede tener valores entre 1 y 1 000 uF, según el rango de tiempos deseado. Los capacitores más grandes permiten obtener mayores intervalos de tiempo.
El capacitor empleado debe ser de buena calidad (sin fugas) con tensión de trabajo del mismo orden que la de la alimentación o poco mayor.
El diodo admite equivalente así como el transistor. El potenciómetro P1 puede tener valores entre 4,7 M ohms y 10 M ohms. Los tipos lineales son preferidos por facilitar la elaboración de una escala de tiempos.
PRUEBA Y USO
Alimente el circuito conectándolo a una fuente o colocando las pilas en el soporte. Coloque inicialmente P1 en la temporización mínima (menor resistencia) y apriete por un instante S1.
El relé debe atracar y quedarse por unos segundos. Percibimos que el relé atraca por el estallido de sus contactos.
Al final del intervalo, un nuevo chasquido debe ocurrir indicado que el relé desarmado. Aumente un poco la temporización en P1 y compruebe que el intervalo que se produce hasta que el desarme también aumenta.
En la figura 3 mostramos cómo deben conectarse las cargas externas para conectarse o desconectarse al final de la temporización.

Comprobado el funcionamiento, con la ayuda de un reloj o cronómetro, se puede hacer una escala de tiempos para el ajuste del potenciómetro.
Semiconductores:
CI-1 - 4093B - circuito integrado CMOS
Q1 - BC548 o equivalente - transistores NPN de uso general
D1 - 1N4148 o equivalente - diodo de silicio
Resistores: (1/8 W, 5%)
R1 - 10 k ohms
R2 - 1 k ohms
P1 - 4,7 a 10 M ohms - potenciómetro lineal
Capacitores:
C1 - 1 a 1 000 uF x 6 ó 12V - electrolítico - ver el texto
C2 - 100 uF x 12 o 16V - electrolítico
Varios:
S1 - Interruptor de presión NA
S2 - Interruptor simple
K1 - relé de 2A o equivalentes - véase el texto
B1 - 6 o 12 V - 4 pilas, fuente o batería - ver texto
Placa de circuito impreso, sockets para el circuito integrado y relé, soporte de pilas o fuente de alimentación, hilos, soldadura, botón y escala para el potenciómetro, etc.




