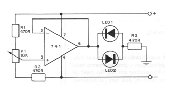
En esta experiencia veremos de qué modo el amplificador operacional puede invertir o no invertir la polaridad de una tensión aplicada a su entrada inversora y no inversora. El circuito es el que se muestra en la figura 1.

En este circuito el amplificador operacional opera como seguidor de tensión, es decir, con ganancia unitaria, siendo para ello usado un resistor de 10 k entre la salida y la entrada inversora.
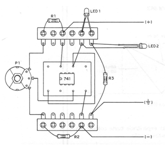
El montaje se muestra en la figura 2.

Actualmente podemos usar una matriz de contactos para la realización de la experiencia.
Los indicadores utilizados en esta experiencia son LEDs comunes en oposición.
Un LED se enciende cuando la salida es positiva respecto a la referencia y el otro se enciende cuando la salida es negativa en relación a la referencia.
El amplificador operacional funciona también como seguidor de tensión, es decir, con ganancia unitaria.
En la primera fase de la experiencia, la señal se aplica a la entrada no inversora.
Se observa entonces que moviendo el cursor del potenciómetro de un extremo a otro, con la aplicación de una tensión entre aproximadamente -6 V y 6V, los LEDs pasan de brillo máximo de uno hasta el brillo máximo del otro, teniendo un punto intermedio en el que ambos quedan apagados.
La figura 3 muestra en gráfico lo que ocurre.

La señal aplicada a la entrada se amplifica y se aplica a los LED.
Al máximo de intensidad negativa, con el potenciómetro todo a la izquierda, enciende con brillo máximo un LED.
En el medio del curso tenemos la tensión nula y, por lo tanto, los dos LEDs permanecen apagados. En el extremo hacia la derecha tenemos el máximo de tensión positiva y el otro LED se enciende con máximo brillo.
En la segunda fase de la experiencia, aplicamos la tensión en la entrada inversora.
Lo que ocurre es entonces el comportamiento inverso de la fase anterior. El LED que se enciende en el extremo mínimo del potenciómetro no es el mismo de la fase anterior, sino el otro. El comportamiento se muestra en la figura 4.

Para cambiar la ganancia en esta experiencia basta colocar un potenciómetro en el circuito de realimentación.



