Lo que este útil dispositivo hace es mantener la luz de un ambiente en el nivel alto por un cierto intervalo de tiempo, después de presionar un botón. Al final del tiempo programado, la luz vuelve a un nivel más bajo en el que se tiene una iluminación suave con ahorro de energía. El circuito sólo funciona con lámparas incandescentes y puede adaptarse junto al interruptor de pared.
Funcionando con lámparas incandescentes de hasta 100 watts de potencia, este circuito es un temporizador diferente. Temporizará el accionamiento de una lámpara en el nivel de iluminación.
Podemos usarlo en un pasillo manteniendo una iluminación económica o suave cuando no hay nadie, pero pasando al nivel alto cuando sea necesario. Lo mismo se aplica a una habitación o un dormitorio.
La instalación del sistema no impide que se utilice el interruptor normal. Sólo se añade una función adicional.
Simple de montar e instalar, el circuito proporciona intervalos de tiempo de accionamiento que pueden variar entre algunos segundos hasta más de 1 minuto dependiendo del capacitor C1.
Este circuito también se puede utilizar con electrodomésticos que utilizan motores universales para "acelerar" su funcionamiento por algún tiempo, después de lo cual vuelve a su velocidad normal.
Dependiendo de los componentes usados el circuito puede funcionar tanto en la red de 110 V como en la red 220 V.
Características:
• Potencia máxima controlada: 100 W (sugerida).
• Tensión de alimentación: 110/220 V.
• Temporización: 10 segundos a 2 minutos (tip).
COMO FUNCIONA
El circuito se conecta en serie con la lámpara a controlar y su interruptor.
Con S2 abierto el circuito está activado, es decir, en su funcionamiento normal.
Cuando se cierra S2, sólo SX (que es el interruptor normal del circuito) funciona.
Con S2 abierto y SX conectado, D2 conduce la corriente inicialmente sólo en los semiconductores negativos de la tensión de la red y la lámpara L1 permanece encendida con la mitad de su alimentación. Tenemos entonces una condición de iluminación suave para el ambiente en que se encuentra. El SCR, en estas condiciones, permanece "apagado".
Cuando presionamos S1 por un momento, el capacitor C1 se carga con el pico de tensión de la red. Soltando S1, este capacitor comienza a descargarse lentamente a través de R1 y del SCR, disparándolo.
Con el disparo del SCR la corriente de la red de energía pasa a ser conducida en los dos sentidos y la lámpara va a su alto o normal de iluminación.
El tiempo que el SCR permanece en conducción depende de R1 y del valor de C1.
Los valores en el rango indicado en el diagrama proporcionan temporizaciones que varían entre unos segundos y cerca de dos minutos.
El lector puede realizar cambios en el valor de R1 en función del capacitor usado para evitar oscilaciones de brillo de la lámpara al final de la temporización.
MONTAJE
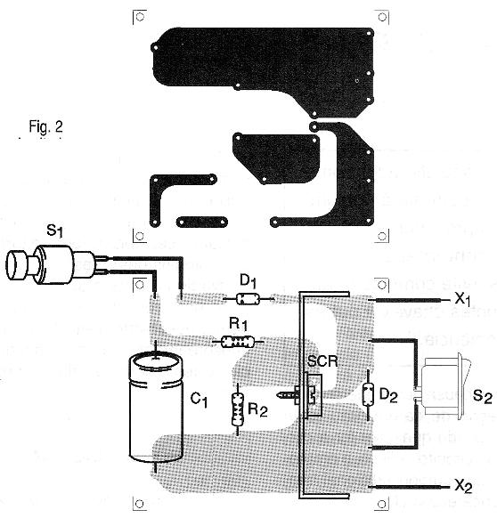
En la figura 1 tenemos el diagrama completo del sistema de Luz Temporizada en Dos Niveles.

El circuito se puede montar fácilmente en una pequeña placa de circuito impreso, como se muestra en la figura 2.

Con una placa compacta se puede instalar en el interruptor de pared que pasará a tener tres llaves: S1, S2 y SX.
Los valores de los componentes entre paréntesis son para la red de 220 V. El SCR debe estar dotado de un pequeño disipador de calor, sobre todo si la lámpara tiene más de 40 watts.
El capacitor C1 es un electrolítico de alta tensión con valores en el rango de 10 ?F a 100 ?F. Este valor determinará la temporización. Es importante observar la polaridad de este componente, y si se ha aprovechado de algún equipo antiguo como televisores o radios valvulados, debe probarse antes de su uso. Los electrolíticos se deterioran cuando se quedan mucho tiempo fuera de uso.
PRUEBA Y USO
Para probar el aparato basta con conectarlo en serie con una lámpara incandescente y alimentarla por la red de energía local.
Manteniendo S2 abierta, la lámpara debe encenderse con aproximadamente la mitad de su brillo normal. Presionando S1 por un momento, la lámpara debe pasar a su brillo máximo y así permanecer por un tiempo que dependerá del valor del capacitor C1.
Al final de la temporización la lámpara vuelve automáticamente al nivel bajo de iluminación.
Para instalar, observe la figura 3.

Suelte uno de los cables que va al interruptor normal de la lámpara (SX) e intercambiar el circuito. No es necesario observar polaridad en esta conexión, pues el circuito funciona con corriente alterna.
Para usar, basta con presionar durante unos segundos S1 antes de soltarlo, para tener luz alta. Este tiempo es importante para que el capacitor se cargue completamente.
Semiconductores:
SCR - TIC106 (B o D), según la red de energía - diodo controlado de silicio.
D1, D2 - 1N4007, según red de energía - diodo rectificador de silicio.
Resistores: (1/8 W, 5%)
R1 - 220 k ohms
R2 - 47 k ohms
Capacitor:
C1 - 10 a 100 ?F x 200 V (400 V si la red es de 220 V) - electrolítico para alta tensión - ver el texto
Varios:
S1 - Interruptor de presión NA (normalmente abierto) - botón de timbre.
S2 - Interruptor simple.
Placa de circuito impreso, radiador de calor para el SCR, hilos, soldadura, etc.



