Describimos un efecto de luces parpadeantes que cambia el orden de los intermitentes de tres conjuntos de lámparas incandescentes con efectos interesantes para decoración, bailes, escenarios, etc. El circuito es sencillo de montar y hace uso de componentes comunes.
Si bien las lámparas incandescentes están cayendo en desuso (ya no se fabrican para iluminación) todavía podemos encontrar los tipos de colores para decoración y para aplicaciones especiales como hornos y refrigeradores.
Pues bien, lo que proponemos en este artículo es el montaje de un sistema que simula el efecto secuencial con un falso contador usando lámparas de neón.
Este contador se utiliza para disparar SCR que pueden controlar una buena cantidad de lámparas.
También damos la posibilidad de controlar las lámparas en onda completa utilizando un puente de diodos.
Como funciona
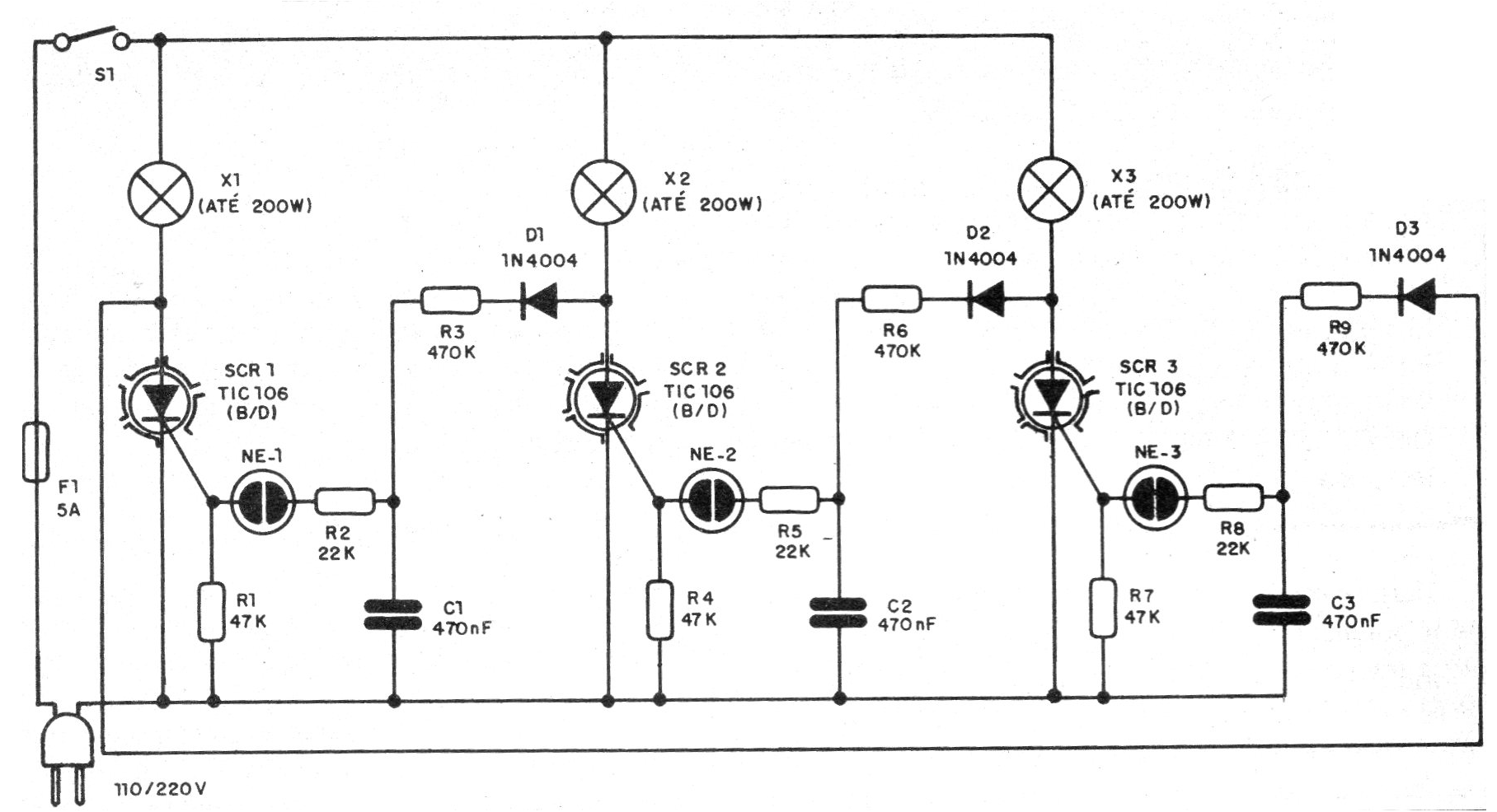
El circuito consiste en un conjunto de osciladores de relajación con lámparas neon donde la frecuencia de cada uno es determinada por los capacitores asociados.
Sin embargo, estos osciladores no son autónomos, pues funcionan solamente cuando el oscilador anterior no está conduciendo.
Así, tenemos una interdependencia de los osciladores que produce un efecto interesante similar a una secuencia, pero con cambios.
La señal de cada oscilador de relajación controla un SCR con buena capacidad de corriente.
Estos SCR tienen como carga una o más lámparas que forman la secuencia de efectos.
Montaje
En la figura 1 tenemos entonces el diagrama completo del aparato.
El montaje se puede realizar sobre la base de una placa de circuito impreso como la que se muestra en la figura 2.
Observe que los SCR están dotados de disipadores de calor.
Los SCR deben ser sufijos B o D si la red es de 110 V y D si la red es de 220 V.
Las lámparas neón son comunes NE-2H o equivalentes y los resistores de 1/8 W.
Los diodos son los 1N4004 si la red es de 110 V y 1N4007 si la red es de 220 V.
Los capacitores son de poliéster con al menos 100 V de tensión de trabajo.
En la figura 3 tenemos la manera de conectar series de lámparas a un efecto más amplio.
El control es de media onda, lo que quiere decir que las lámparas se encienden con la mitad de su brillo normal.
Para un control de onda completa hasta 100 W de lámparas se puede utilizar un puente rectificador con cada SCR con la configuración mostrada en la figura 4.
Para probar y usar el aparato, basta con conectar la alimentación y observar las luces de las lámparas.
Los cambios de frecuencia pueden ser obtenidos con alteración de los valores de los capacitores.
SCR1, SCR2, SCR3 - TIC106B o D - diodos controlados de silicio
D1, D2, D3 - 1N4004 o 1N4007 - diodos rectificadores
X1, X2 X3 - lámparas incandescentes - ver texto
NE-1, NE-2, NE-3 - lámparas neón NE-2H o equivalentes
F1 - Fusible de 5 A
S1 - Interruptor simple
C1, C2., C3 - 470 nF - capacitores de poliéster
R1, R4, R7 - 47 k ohms - resistores - amarillo, violeta, naranja
R2, R6, R8 - 22 k ohms - resistores - rojo, rojo, naranja
R3, R5, R9 - 470 k ohms - resistores - amarillo, violeta, amarillo
Varios:
Placa de circuito impreso, caja para montaje, radiadores para los SCR, hilos, soldadura, etc.







