Utilizando un transmisor simple y su radito portátil como receptor usted podrá realizar el control remoto de juguetes, lámparas, proyectores de diapositivas y motores que podrán realizar la apertura de puertas, etc. La utilización de componentes comunes en un circuito bastante simple hace que este control remoto sea bastante accesible incluso a los no dotados de experiencia previa en montajes de este tipo.

En realidad, se trata de un control remoto de sólo un canal y cuyo alcance no sobrepasa algunos metros ya que opera en una frecuencia muy baja, pero vale como curiosidad y como proyecto didáctico. En el sitio del autor se pueden encontrar muchas versiones de este proyecto, algunas con varios canales y mucho mayor alcance, en función del grado de complejidad.
Los controles remotos convencionales presentan serias dificultades de montaje al principiante en vista de la complejidad de sus circuitos receptores, pues de su sensibilidad y estabilidad depende la eficiencia del sistema. (figura 1)

En este artículo damos una solución fuera de lo común para este problema, una solución que es sin embargo accesible a todos: aprovechar, sin necesidad de hacer modificaciones, la radio portátil común de ondas medias como receptor de radio mando.
El transmisor sólo tendrá que ser montado, pero su simplicidad es bastante grande hasta el punto de no exigir ni mucho tiempo del montador ni el gasto de cantidad elevada para la compra del material.
Es evidente que, dada la simplicidad del circuito, no podemos tener la emisión de control de largo alcance, como los modelos más avanzados de radios controles. Para esta unidad, utilizando un receptor común de 2 pilas, de buena sensibilidad, tendremos un alcance máximo eficaz del orden de 10 metros.
Las posibles utilizaciones prácticas para este control, incluso en vista de su carácter experimental, son muchas:
El lector podrá usarlo para encender una lámpara a distancia, en un montaje experimental para demostrar su principio de funcionamiento o en fiestas, como magia. (figura 2)

En el caso de que se produzca un cambio en la calidad de la información, se debe tener en cuenta que, En la época no existían estos circuitos y no muchos recursos para su montaje y un proyecto de este tipo realmente impresionaba a las personas.
Usted podrá utilizar este mando a distancia para, desde su coche, accionar un motor que abre la puerta de su garaje. (figura 3)

Otra posibilidad consiste en hacer la conexión de su proyector de diapositivas al receptor, ya distancia controlar el cambio de diapositivas a medida que sea dando explicaciones sobre su origen. (figura 4)

Conectado al disparador de su cámara fotográfica le permitirá controlarla a distancia, pudiendo incluso tomar sus propias fotografías, sin el peligro de no haber suficiente tiempo para adaptarse, como en el caso de las máquinas con temporizador. (figura 5)

Como el montaje se dirige al principiante, su descripción se realiza detalladamente, con lo que se evita cualquier tipo de dificultad.
Con ello, incluso los pocos dotados de experiencia en montajes electrónicos podrán realizar este proyecto sin dificultad.
COMO FUNCIONA
Podemos analizar un sistema de control remoto inalámbrico, dividiéndolo en circuitos responsables de determinadas funciones. (figura 6)

Partimos de un circuito transmisor que es responsable de la emisión de la señal de radio que debe actuar sobre el receptor ya su vez accionar el dispositivo controlado.
El transmisor debe elegirse en función de la finalidad del proyecto.
Para aviones o modelos que pueden alejarse del controlador, se debe utilizar un transmisor estable y potente, mientras que para otras aplicaciones, se pueden utilizar transmisores más simples. En el caso comercial, la frecuencia del transmisor también es importante, siendo normalmente elegida la banda de los 27 MHz.
En nuestro caso, como el receptor debe operar en ondas medias, huimos a la regla y usamos un transmisor para sus frecuencias, es decir, entre 550 kHz y 1 600 kHz. Este transmisor se ajusta para operar en un punto en el que no hay estaciones operando, es decir, en una frecuencia libre.
La señal emitida por este transmisor debe ser modulada para que el receptor pueda accionar convenientemente el circuito de control. Esta modulación es hecha en el propio transmisor por medio de un oscilador de relajación con transistores unijuntura, circuito que ya tuvimos oportunidad de analizar en otros montajes. (figura 7)

Estos dos circuitos, el modulador formado por el transistor unijuntura y el oscilador de alta frecuencia que genera la señal de ondas medias, forman el transmisor.
El receptor consiste en un radio portátil común que se sintoniza en la frecuencia del transmisor. La señal captada, modulada, aparece en la salida del auricular del radito bajo la forma de una corriente alterna de baja frecuencia a la que se aplicara directamente al auricular o al altavoz se oye como un sonido continuo (de aproximadamente 1 kHz).
Esta corriente se aplica a un circuito de disparo que acciona un SCR y este SCR puede controlar cualquier circuito de corriente alterna hasta una potencia de 400 W en 110 volts y 800 W en 220 volts. (figura 8)

Así, al apretar el interruptor que acciona el transmisor, la señal dispara el SCR y éste conduce la corriente conectando el dispositivo a él conectado.
En la parte correspondiente a los usos y ajuste enseñamos las diversas posibilidades de conexión a los circuitos de control.
MONTAJE
Para el montaje de este control remoto, además de los componentes electrónicos a ser adquiridos conforme a la lista de material y de las herramientas (soldador de 30 vatios máximo, alicates y destornillador), el lector necesitará un radito portátil. No se preocupe, porque el radito portátil se utilizará sin ninguna modificación y cuando usted quiera puede desconectarlo del control y usarlo normalmente para escuchar sus programas preferidos.
Comience el montaje por el transmisor.
Para el caso de los principiantes, recomendamos el montaje en un puente de terminales aislados, pero para los montadores que sepan confeccionar placas de circuito impreso recomendamos esta técnica por el alto grado de miniaturización que se puede obtener, para el transmisor.
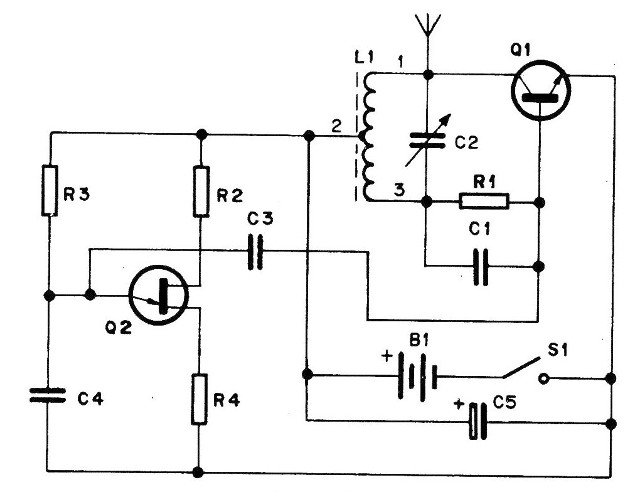
En la figura 9 tenemos el diagrama completo del transmisor.

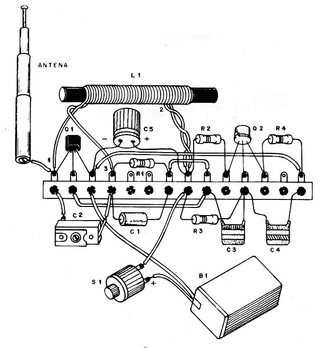
En la figura 10 tenemos la sugerencia para el montaje en puente de terminales.

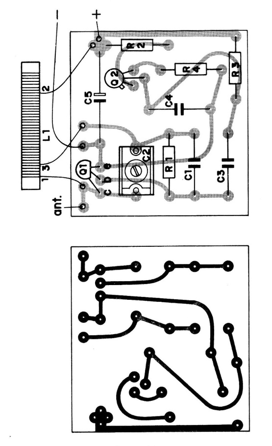
En la figura 11 la sugerencia para montaje en placa de circuito impreso.

La alimentación del transmisor se realiza a partir de una tensión de 9 volts que puede obtenerse de una pequeña batería. Como el transmisor sólo funciona en el momento en que accionamos el interruptor el consumo del control no es muy grande.
El punto más importante para un correcto funcionamiento del transmisor se refiere a la construcción de la bobina.
Esta bobina se hace enrollando alrededor de 100 vueltas de alambre esmaltado 28 (o si el lector no puede conseguirlo, hilo común fino de capa plástica) en un bastón de ferrita cilíndrica de aproximadamente 8 cm de longitud o mayor. Esta bobina posee una toma en su 30 ° espira, como muestra la figura 12.

En posesión de la bobina, solde sus terminales en el puente como muestra el dibujo, y luego los demás componentes, observando la posición de los transistores. El trimmer utilizado en el ajuste de frecuencia debe quedar un poco lejos del puente para evitar un posible contacto suyo con cualquier conexión.
El interruptor S1 es del tipo "botón de timbre" (interruptor de presión) que se utiliza para accionar el transmisor y por lo tanto realizar el control.
Después del montaje del transmisor, conferidas sus conexiones, usted podrá probarlo según instrucciones dadas más adelante.
A continuación, describimos el montaje del circuito de control y su conexión en el radito portátil.
El circuito también se monta sobre la base de un puente de terminales. En el caso, ilustra el control de una lámpara, pero en su lugar se puede conectar cualquiera de los circuitos que se dan más adelante. El diagrama se muestra en la figura 13.

El montaje en puente de terminales se muestra en la figura 14.

Por supuesto, también en este caso se puede utilizar una placa de circuito impreso, pero dado el número reducido de componentes, en su mayoría voluminosos, esta técnica no permitirá la obtención de muchas mejoras en lo que se refiere a la miniaturización del sistema.
El más importante a ser observado en el circuito de control es la posición del SCR y del transformador.
El transformador utilizado es del tipo empleado en salidas de receptores de radio con una impedancia de primario del orden de 5 000 ohmios y un secundario de 8 ohmios. El devanado secundario de hilo esmaltado único se conecta a la radio, mientras que el primario de hilo flexible de cubierta de plástico se conecta al circuito de control (SCR).
Si la potencia a controlar es superior a 100 W, el SCR debe estar dotado de un disipador que se puede fijar a este componente una placa de aluminio de 8 x 8 cm.
Ningún ajuste será necesario en el circuito de disparo, ya que éste es controlado en el propio receptor.
AJUSTES Y USO
Completado el montaje, tanto del receptor y del circuito de disparo, compruebe todas las conexiones, y si todo está en orden, puede pasar primero a prueba del transmisor.
Para este propósito, conecte el radio portátil a su máximo volumen y sintonice en una frecuencia de alrededor de 1 500 kHz en los que no haya ninguna estación operando. El circuito de control permanece apagado.
A continuación, apriete el botón de mando del transmisor y al mismo tiempo ajuste el tornillo del trimmer con un destornillador hasta que capte la señal del transmisor en la radio, lo que se caracterizará por medio de un silbido continuo. Compruebe que la señal captada corresponde a la señal real, ya que puede haber la captura de armónicos, que son señales más débiles de frecuencias múltiples. El receptor debe quedar a una distancia de aproximadamente 1 metro del transmisor.
Si el transmisor está bien, conecte el circuito de disparo a la red y conecte el jack a la radio en la salida del auricular. La radio debe entonces tener su volumen ajustado de modo que los ruidos ambientes no provoquen el disparo involuntario del circuito controlado.
Presione entonces el botón de control del transmisor (S1). El circuito controlado debe responder inmediatamente.
El alcance del control dependerá de diversos factores, siendo el primero la sensibilidad del receptor, el segundo la posibilidad de ruidos ambientes interferir en el control y la tercera el correcto montaje y ajuste del circuito transmisor.
Para la utilización con el relé el diagrama es dado en la figura 15, pudiendo esa configuración servir para el accionamiento de cualquier dispositivo de modo independiente del aparato receptor y del circuito de disparo.

Transmisor:
Q1 - BC548, BC238 o equivalente - transistores
Q2 - 2N2646 - transistor unijuntura
R1 - 10 k ohms x 1/4 W - resistor (marrón, negro, naranja)
R2 - 470 ohms x 1/4 W - resistor (amarillo, violeta, marrón)
R3 - 22 k ohms x 1/4 W - resistor (rojo, rojo, naranja)
R4 - 100 ohms x 1/4 W - resistor (marrón, negro, marrón)
C1 - 3 300 pF - capacitor de poliéster o policarbonato (3n3)
C2 - trimmer común (5 - 25 pF) o cerca de ello
C3 - 10 kpF - capacitor de poliéster (10 nF)
C4 - 0,5 uF - capacitor de poliéster (470 nF)
C5 - 50 uF x 9 V - capacitor electrolítico (47 uF)
B1 - batería de 9 volts
S1 - interruptor de presión
L1 - bobina (ver texto)
Varios: puente de terminales, hilos, soldadura, conector para la batería, núcleo de ferrita para la bobina, etc.
Circuito de disparo
SCR - C106, MCR1O6, TlC106 - diodo controlado de silicio (*)
D1 - 1N4004 o equivalente - diodo de silicio
R1 - 47 k ohms x 1/4 W - resistor de carbón (amarillo, violeta, naranja)
T1 - transformador de salida para válvula 6AQ5
C1 - 3,3 kpF - capacitor de poliéster o policarbonato (3n3)
Varios: cables, toma, puente de terminales, jack de auricular según el receptor de radio, etc.
(*) Recomendamos el TIC106B o D para la red 110 V o TIC106D para la red de 220 V. Los capacitores de poliéster también pueden ser cerámicos.



