Para los que están montando amplificadores pero que no saben cómo agregarles un buen preamplificador, damos un circuito con tres sensibilidades que sirven para cápsulas magnéticas, cerámicas u otros tipos de señales de entrada.
Por sus características, el amplificador operacional 741 puede usarse en una variedad infinita de aplicaciones prácticas.
Incluso en audio, donde pocos son los que realmente saben explotar las posibilidades de este circuito integrado, encontramos aplicaciones muy interesantes como el preamplificador de audio que describiremos en este artículo.
Con una salida de intensidad grande, compatible con la entrada de la mayoría de los amplificadora de audio comunes, este amplificador puede presentar diferentes características de entrada y de ecualización bastando para esto hacer la conexión correcta de la red de realimentación.
Así, con el simple cambio por medio de una llave conmutadora de la red de ecualización podemos tener tres características diferentes de entrada, lo que hace que este preamplificador pueda usarse con cápsulas magnéticas, cápsulas cerámicas y transductores de alta intensidad de señal o sintonizadores.
Los lectores que están buscando un preamplificador para su equipo de sonido y desean algo simple pero eficiente, ésta es nuestra sugerencia. Por las características que detallamos a continuación, los lectores pueden tener idea de cómo usarlo.
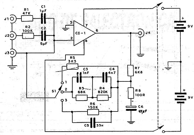
Posición 1 – ganancia unitaria (para señales intensos)
Posición 2: 5 mV de sensibilidad de entrada, con. Ecualización RIAA y 500 mV de salida.
Posición 3: 220 mV de sensibilidad de entrada para. una salida de 100 mV/100k.
Tensión de alimentación: simétrica de 3 + 3 a 15 + 15 V.
Funcionamiento
La ganancia de un amplificador operacional depende del tipo de realimentación que tenga el mismo, como muestra la figura 1.

Si la realimentación se hace directamente, como muestra la figura 2, la ganancia será unitaria, e sea, tendremos la misma amplitud de la señal para la entrada y salida.

Evidentemente, existe ganancia de potencia en el caso porque en esta configuración tenemos una impedancia de entrada. muy alta, del orden de 1 M para el 741 y una baja impedancia de salida, del orden de 50 ohm para el mismo integrado.
Se puede tener una ganancia intermedia entre el máxime (sin realimentación) y mínima) (con realimentación directa] con la elección adecuada de los relación existente entre los resistores R1 y R2.

En el caso de la realimentación hecha por un resistor, la ganancia del integrado queda lijada para toda una banda de frecuencias, manteniéndose constante en la misma hasta el límite establecido por las características internas del mismo. En la figura 4 tenemos un gráfico en el que podemos observar de qué modo se comportan los 741 en relación a la frecuencia de las señales amplificadas y de las ganancias que tiene el mismo en una aplicación.

Vea que, en este caso, las ganancias son constantes en la banda de operación.
En una aplicación en que tengamos señales de audio, no siempre es necesario amplificar la ganancia uniforme. Los lectores saben que los preamplificadores precisan ecualizar la serial amplificada, o sea, amplificar las frecuencias de un modo propio para que nuestro oído pueda oírlas mejor.
Esto ocurre porque las grabaciones no se hacen según la curva de sensibilidades del oído, del mismo modo que los transductores usados, o sea, cápsulas de diversos tipos, tampoco responden del mismo modo a las diferentes frecuencias que deben captar la ecualización de los diversos tipos se hace entonces adaptando la curva de respuesta del circuito al modo en que las señales deban ser reproducidas.
Para volver al integrado 741 selectivo o no lineal en relación a las diferentes frecuencias, en los circuitos de realimentación se agregan capacitores, como muestra la figura 4A.

Si usamos un capacitor en paralelo con el resistor, en vista de la mayor realimentación negativa en las altas frecuencias (los capacitores dejan pasar las altas frecuencias con mayor facilidad) obtenemos una curva en que existe un refuerzo de los graves.
El valor del capacitor usado determina la intensidad del refuerzo usado, o sea, cuanto mayor fuera el valor del capacitor mayor será la atenuación obtenida en los agudos.
Si usamos una red, como muestra la figura 5 tendremos una curva de atenuación diferente, justamente como en el caso de la ecualización RlAA en que determinadas bandas de frecuencia deben ser reforzadas.

Los capacitores y los resistores tienen entonces valores elegidos de modo de obtener el comportamiento deseado.
En nuestro circuito práctico usamos los tres tipos indicados de realimentación, conforme el tipo de señal amplificado. El amplificador operacional en este circuito exige el empleo de una fuente simétrica que puede ser formada por dos baterías de 9 V como muestra la figura 6 o bien de la figura 7.


Montaje
Todos los componentes para este montaje pueden conseguirse con facilidad, incluso el circuito integrado que se presenta en dos tipos de cubiertas.
Recomendamos el montaje en placa de circuito impreso en vista del menor volumen ocupado y de la sensibilidad del circuito a la captación de zumbidos.
Los diseños que mostramos están realizados en función del integrado en cubierta DIL de 8 pinos que es la más común.
Los alambres de entrada deben ser blindados y cortos para evitar la captación de zumbidos. Del mismo modo el cable de salida de conexión al amplificador debe ser blindado.
En la figura 8 tenemos entonces el circuito completo de nuestro preamplificador con la fuente formada por dos baterías de 9 V.

El montaje en placa de circuito impreso aparece en la figura 9. Los lectores con menos experiencia en montajes de este tipo deben usar un zócalo para el circuito integrado con el lin de protegerlo contra el exceso de calor en el soldado.

Veamos algunas precauciones más para el montaje:
1. Use cable blindado para las conexiones de entrada y salida, y enchufes de acuerdo con los transductores que vaya a alimentar.
2. Conecte los blindajes de los cables a la tierra común al amplificador.
3. Observe la polaridad del capacitor electrolítico del montaje.
Con relación a los componentes usados, los resistores pueden ser todos de 1/8 W y los capacitores tanto de poliéster metalizado como cerámicos.
En la fuente de alimentación, si se la usa, es necesario un buen filtrado, lo que será garantizado por el uso de capacitores de valores elevados.
En la figura 10 tenemos nuestra sugerencia de caja para el montaje con las conexiones internas. Si la caja fuera metálica debe ser puesta a tierra para evitar la captación de zumbidos.

Uso
El uso del preamplificador debe hacerse de acuerdo con el tipo de señal con que va a trabajar. Si se aplica en sus entradas una señal de intensidad mayor quela admitida, el preamplificador puede presentar distorsión.
Si la señal fuera menor que la necesaria para la excitación del circuito, éste no presentará salida suficiente para alimentar al amplificador obteniéndose así un volumen muy bajo de reproducción.




