Este circuito reúne en un solo montaje un sistema que consta de una cerca que al ser tocada dispara una alarma a través de un sensor o por el toque y al mismo tiempo la electrifica, produciendo un choque en el que intenta violarla. El circuito es relativamente simple y bastante seguro, utilizando componentes comunes de fácil obtención.
Describimos un sistema de alarma y electrificador de cercas que se detecta cuando alguien mueve el hilo apoyándose en el sensor o incluso toca en él y con ello, hace que la alarma sea disparada por un cierto tiempo y al mismo tiempo electrifica la cerca.
Una de las características de este circuito es su alimentación por batería que lo hace bastante seguro, pues no usa la red de energía, lo que presenta restricciones legales.
Es claro que un sistema cargador permanente puede ser incorporado, siempre que sea aislado de la red de energía, o aunque se utilice una fuente con un transformador que garantice la seguridad.
La idea básica es mantener la cerca activada sólo como un sensor de tacto.
En el momento en que se toca, se dispara un circuito de alarma y, al mismo tiempo, un variador aplica alta tensión en la misma, produciendo así una descarga en el atacante.
Como funciona
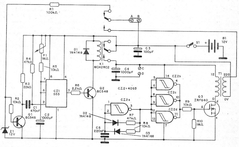
En la figura 1 tenemos el diagrama de bloques del aparato, a partir de la onde explicaremos su principio de funcionamiento.

El primer bloque representa el circuito sensor de toque que tiene como base un transistor y un circuito integrado 555 en la configuración de monoestable, excitando un segundo transistor Q2, que tiene por carga de colector un relé.
Con el relé desenergizado, en la condición de espera, el relé conecta a través de los contactos NF la cerca a la entrada del circuito.
Observe que en este circuito la tierra corresponde al positivo a la masa, hecho a través del terminal B. Si hay un toque en el hilo, o aún si se hace un contacto de él con la tierra, a través de un sistema sensor que describiremos más adelante, Q1 es llevado a la conducción y con ello el perno 2 de disparo del 555 es momentáneamente aterrizado, disparando.
El resultado de esto es que la salida del 555 pasa al nivel alto por un tiempo que depende de C2 y del ajuste de P1, activando entonces el relé.
Con el disparo del relé, el cable sensor que es la cerca, inmediatamente se desconecta de la entrada del circuito y, al mismo tiempo, a través de otro par de contactos, el inversor que corresponde al segundo bloque se enciende.
Vea que la alimentación se establece y, al mismo tiempo, la salida de alta tensión se conecta a la cerca.
El bloque inversor del electrificador se basa en un circuito integrado 4093 y un transistor de efecto de campo de potencia Q3.
Para mayor ahorro de energía de la batería, el circuito oscilador tiene un ciclo activo del 20% determinado por la relación entre R8 y R7.
En la figura 2 tenemos la forma de onda del electrificador.

De esta forma, el transistor conduce satura sólo por un tiempo muy corto, produciendo un pulso de alta tensión, pero con una corriente media reducida.
La señal rectangular obtenida en la salida de CI-2A, que es el oscilador, es amplificada digitalmente por las otras tres puertas del 4093 y aplicada a la conducción del transistor de potencia.
Este transistor de efecto de campo posee una resistencia drenaje-fuente muy baja, lo que garantiza un excelente rendimiento al circuito.
La carga de drenaje del transistor es un transformador con primario de 220 V y secundario de 12 V con una corriente de 500 a 800 mA.
Los pulsos aplicados por el transistor a la bobina de 12 V del transformador, por no ser senoidales, inducen en el bobinado de 220 V una tensión mucho mayor, que puede sobrepasar los 400 V en algunos casos.
En este enrollamiento, sin embargo la corriente es baja no ofreciendo peligro a quien llevar choque, apenas haciéndolo muy desagradable.
Para proteger la entrada del circuito contra una eventual aplicación de alta tensión en el sensor, utilizamos un diodo zener.
Montaje
En la figura 3 tenemos el diagrama completo de la alarma con el electrificador.
Para el montaje, sugerimos la utilización de una placa de circuito impreso con el patrón mostrado en la figura 4.
En el montaje, observe las posiciones de los circuitos integrados, de los transistores y de los terminales del transformador.
También se deben observar las polaridades de los diodos y de los capacitores electrolíticos.
Los capacitores electrolíticos son para 16 V o más y los resistores de 1/8 W con cualquier tolerancia.
El relé utilizado es del tipo DIL con corriente de accionamiento de 50 a 100 mA.
Si se utilizan relés equivalentes, se debe cambiar el diseño de la placa.
La batería recomendada es del tipo recargable de 12 V, pequeña o incluso una batería de moto.
Para la cerca se debe utilizar un hilo sólido desencapado aislado a través de aisladores de porcelana o plástico, como se muestra en la figura 5.

El sensor de tacto, que debe conectarse en varios puntos de la cerca, consiste en una anilla de hilo desencapado conectada como se muestra en la figura 6.

El sensor debe colocarse de forma que no sea perceptible, para no posibilitar el desarme del circuito por el corte de su hilo.
Para utilizar el disparo por el toque del hilo, que es más interesante, utilice las conexiones mostradas en la figura 7.

El cable al sensor no debe ser muy largo y eventualmente se debe conectar un trimpot de 1 M en paralelo con el zener para ajustar la sensibilidad si la alarma tiende al disparo errático.
En la figura 8 damos una fuente de alimentación para la carga constante de la batería.

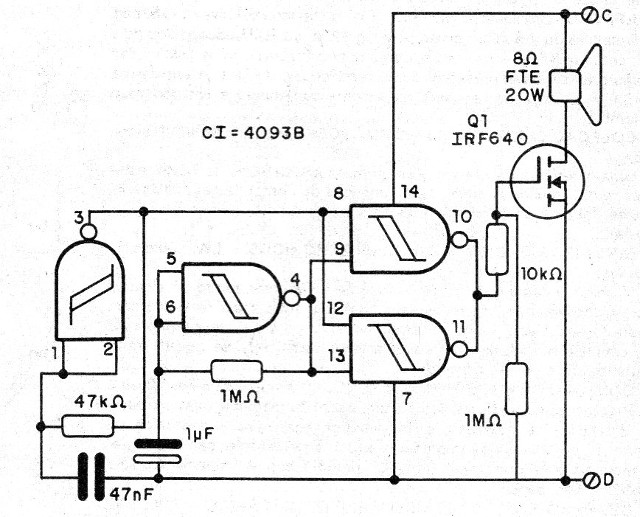
Finalmente, para completar el proyecto mostramos una sirena que produce un fuerte sonido intermitente en un altavoz cuando se dispara la alarma.
Esta sirena se muestra en la figura 9.

El altavoz debe ser de tipo pesado con al menos 15 cm para una mayor calidad de sonido y el MOSFET puede ser de cualquier tipo.
CI-1 - 555 - circuito integrado
CI-2 - 4093 - circuito integrado
Q1, Q2 - BC548 - transistores NPN de uso general
Q3 - IRF640 o equivalente - MOSFET de potencia
D1, D2, D3 - 1N4148 - diodos de uso general
Z1 - 12 V - diodo zener
R1 - 100 k ohms - resistor - marrón, negro, amarillo
R2, R5, R8, R9 - 10 k ohms - resistores - marrón, negro, naranja
R3 - 22 k ohms - resistor - rojo, rojo, naranja
R4, R7 - 47 k ohms - resistores - amarillo, violeta, naranja
R6 - 2k2 ohms - resistor - rojo, rojo, rojo
R10 - 1 M ohms - resistor - marrón, negro, verde
P1 - 1M ohms - trimpot
C1 - 470 nF - capacitor de cerámica o poliéster
C2 - 1 000 uF - capacitor electrolítico
C3 - 220 nF - capacitor de cerámica o poliéster
K1- Relé de 12 V - ver texto
S1 - Interruptor simple
B1 - Batería de 12 V
T1 - Transformador - ver texto
Varios:
Placa de circuito impreso, material para la cerca, aisladores, caja para montaje, hilos, soldadura, etc.





