Los amplificadores de audio con alimentación en el rango de 4 V a 12 V, con potencias de hasta 1 W, se utilizan en una infinidad de aplicaciones tales como juguetes, intercomunicadores, receptores experimentales o de bajo costo, fonógrafos, instrumentos musicales portátiles, seguidores y señales , alarmas, etc. El circuito aquí propuesto se basa en el LM386, de National, un componente extremadamente popular para este tipo de aplicación.
Los amplificadores de potencia en el rango de 200 mW a 1 000 mW son ideales para aplicaciones en las que se utilizan pilas o baterías en la alimentación o en proyectos experimentales, juguetes e intercomunicadores.
El LM386 de National, es un componente ideal para esta aplicación, dada su facilidad de obtención, bajo costo y la necesidad de pocos componentes externos para obtener un amplificador completo.
Además de todo, el LM386 tiene la ganancia programada externamente a través de un capacitor (C2), lo que permite adecuarlo a las más diversas aplicaciones.
En este artículo damos la configuración básica del LM386, con ganancia 200 y alimentación de 4 V a 12 V.
Para reducir la ganancia debemos intercalar en serie con C2 resistores de hasta 10 k ohmios, o bien abrir el circuito, retirando C2, cuando llegamos al mínimo de 20.
Características:
Tensión de alimentación: 4 a 12 V - para el LM386N-1, 3 y LM386M-1
Tensión de alimentación: 5 a 18 V - para el LM386N-4
Corriente de reposo (6 V): 4 mA (tip)
Ganancia de tensión: 20 a 200 (ver texto)
Potencia de salida: 6 V / 8 ohms LM386N-1, LM386M-1: 325 mW (tip)
Potencia de salida: 9 V / 8 ohms LM386N-3: 700 mW (tip)
Potencia de salida: 16 V / 8 ohms - LM386N-4: 1000 mW (tip)
Rango pasante: 300 kHz
Distorsión armónica total (6 V, 8 ohms, 125 mW): 0,2% (tip)
Resistencia de entrada: 50 kohms (tip.)
Disipación total: LM386N: 1,25 W
Disipación total: LM386N: 0,73 W
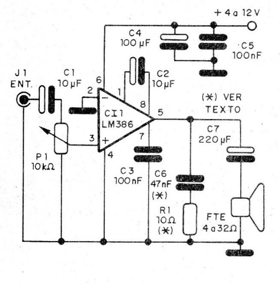
En la figura 1 tenemos el diagrama completo del amplificador sugerido por National Semiconductor.

En el circuito indicado la señal se aplica a la entrada no inversora a través del potenciómetro de volumen P1. La ganancia del circuito es determinada por el capacitor entre los pines 1 y 8.
Sin este capacitor tenemos la ganancia mínima de 20. Con el capacitor, tenemos la ganancia máxima de 200.
C6 y R1 se utilizan sólo en el caso del LM386N-4, sirviendo para mantener constante la impedancia de carga en el rango de frecuencia de operación.
Con aumentos elevados es importante el uso de C3 para evitar inestabilidades del circuito, pero con ganancias bajas como, por ejemplo, sin el capacitor C2, el capacitor C3 también puede ser eliminado.
Se sugiere una disposición de componentes en placa de circuito impreso en la figura 2.

Los capacitores electrolíticos deben tener una tensión de trabajo por lo menos 50% mayor que la tensión usada en la alimentación. Los demás capacitores pueden ser de poliéster o cerámicos.
El potenciómetro es logarítmico y puede incluir la clave que enciende y apaga la alimentación. Los cables de entrada de señal deben ser blindados.
Para probar este amplificador es sólo alimentarlo con tensiones de acuerdo con la versión y aplicar una señal en la entrada.
Esta señal puede venir de un inyector, de la salida de un MP3 o incluso de un micrófono de cristal. Comprobado el funcionamiento y sólo utilizar el aparato en la aplicación deseada.
Semiconductores:
Cl1 - LM386 - ver el texto
Resistores:
R1 - 10 ohms - ver texto
P1 - potenciómetro de 10 k ohms
Capacitores:
C1, C2 - 10 uF - electrolíticos
C3, C5 - 100 nF - poliéster o cerámico
C4 - 100 uF - electrolítico
C6 - 47 nF - poliéster o cerámico
C7 - 220 uF - electrolítico
FTE - altavoz de 4, 8 o 16 ohms
J2 - Jaque de entrada de acuerdo con la aplicación
Placa de circuito impreso, zócalo para el circuito integrado, botón para el potenciómetro, hilos, soldadura, etc.



