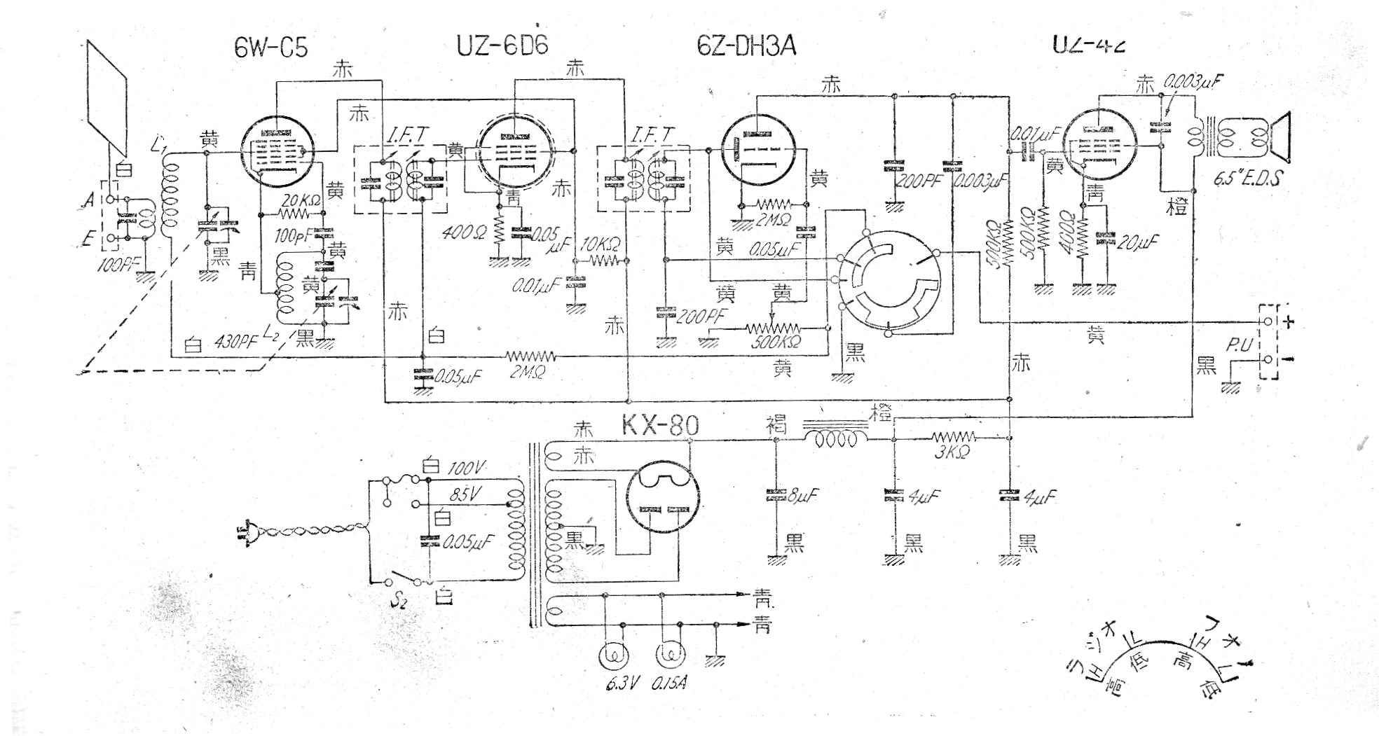
Este receptor super-heterodino valvulado fue encontrado en una documentación japonesa de 1950. El circuito incluye la fuente de alimentación y las válvulas usadas de la época son poco conocidas actualmente. El circuito incluye una entrada para tocadiscos con fonocaptor de cristal.




