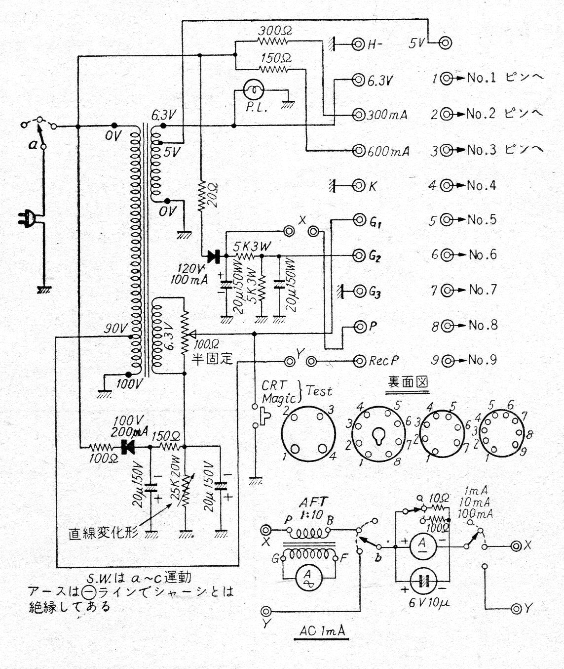
Esta fuente para ser usada en la bancada de proyectos valvulados es de una documentación de 1962. Proporciona diversas tensiones. Una idea es su montaje si el lector tiene el transformador encontrado en algún equipo fuera de uso.
Esta fuente para ser usada en la bancada de proyectos valvulados es de una documentación de 1962. Proporciona diversas tensiones. Una idea es su montaje si el lector tiene el transformador encontrado en algún equipo fuera de uso.