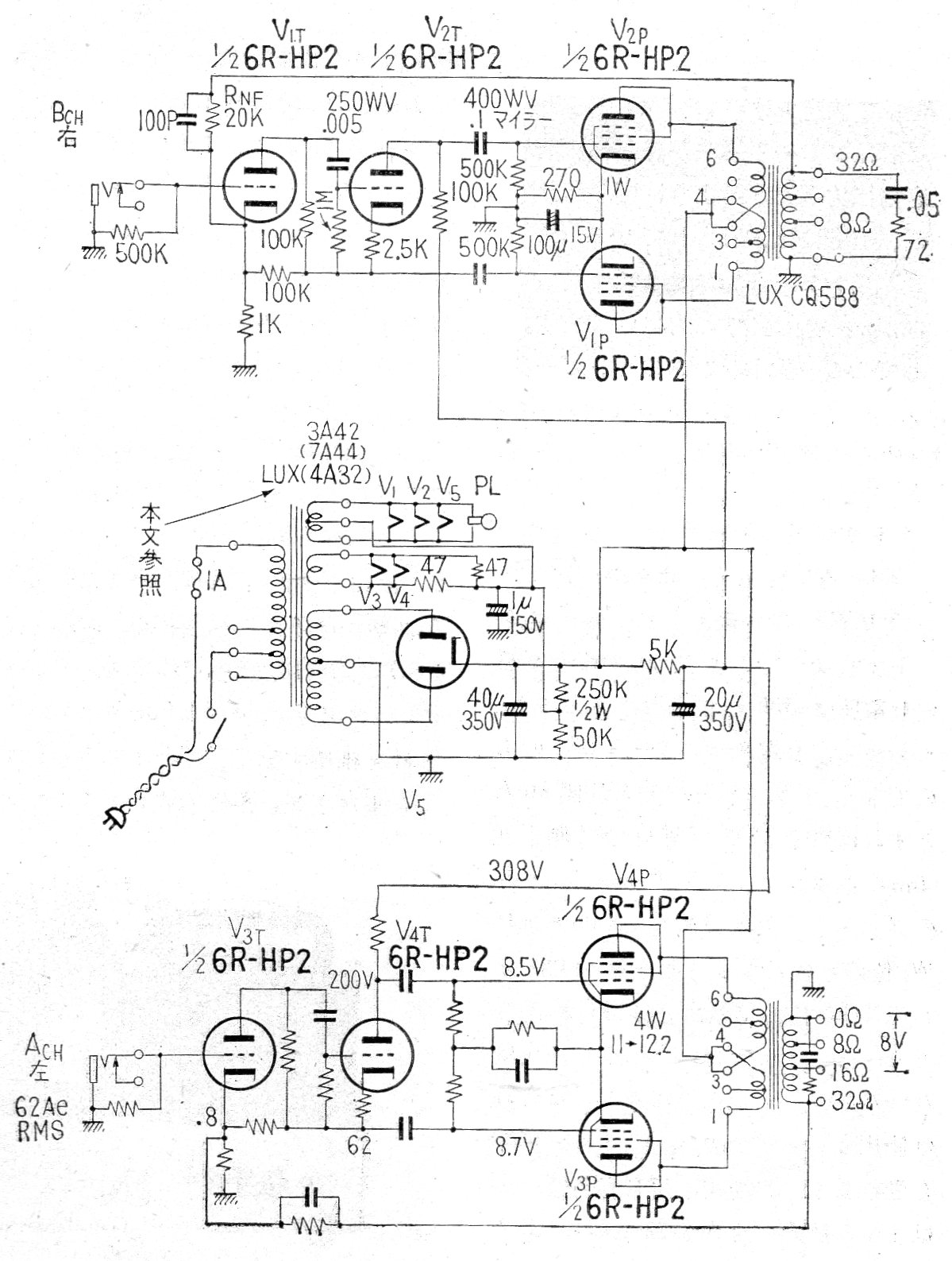
Las válvulas de salida de este amplificador encontrado en una documentación de 1962 son poco conocidas y difíciles de obtener actualmente. El circuito es de una publicación japonesa de la época y los transformadores tampoco pueden ser encontrados en la actualidad.




