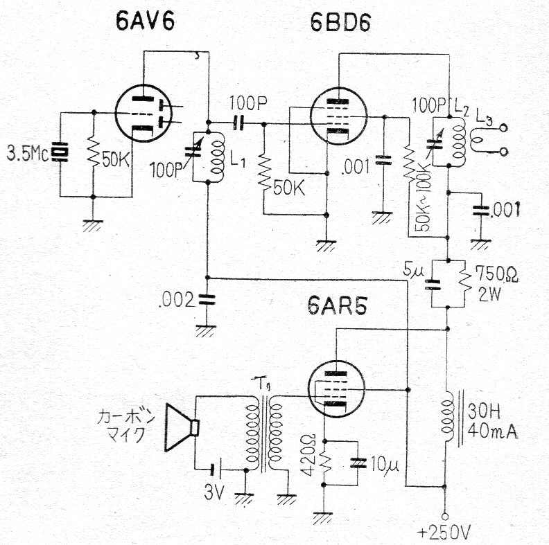
Este transmisor para el rango de los 80 metros o 3,5 MHz de radioaficionados fue encontrado en una publicación japonesa de 1962. El circuito utiliza válvulas que aún se pueden encontrar y la fuente de alimentación no es dada. Las bobinas tampoco son detalladas, pero se pueden obtener sus características en proyectos similares del sitio.




