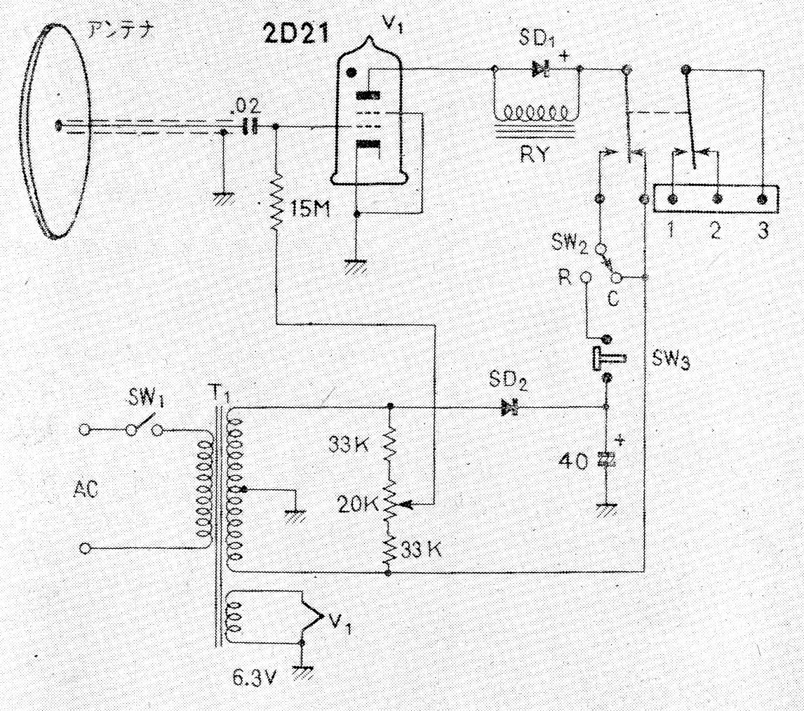
Este circuito hace uso de una válvula especial de gas. Se ha encontrado en una revista Radio TV & Electronics, edición japonesa de los años 60. Los componentes son difíciles de obtener y el relé es del tipo sensible a 100 V.

 

Relé Capacitivo Valvulado
Relé Capacitivo Valvulado | Haga click en la imagen para ampliar |