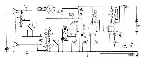
Este receptor es de un modelo de 1923. La alimentación todavía es con una batería de 63 V para los circuitos de placa más 3 V para los circuitos de filamento, sin embargo, se puede elaborar una fuente. Las baterías con esta tensión ya no existen y si se utilizan otros tipos en serio el costo será muy elevado, pues el consumo es alto. La bobina tiene 50 + 50 espiras de hilo 28 en un tubo de cartón o PVC de 2,5 cm de diámetro. L2 por 22 vueltas, L3 por 22 espiras, L4 por 15 vueltas y L5 por 51 vueltas de hilo 28, todas en un tubo de 2,5 cm lado a lado. L3 es móvil para controlar el acoplamiento. Los componentes críticos son las válvulas y los transformadores drive y de salida.




