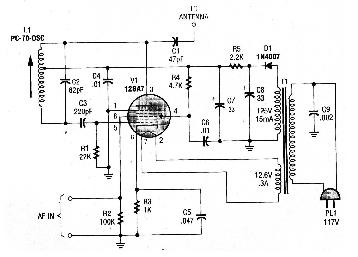
Este transmisor valvular fue encontrado en una publicación reciente como una posibilidad de realizar un montaje valvular de los años 30. El circuito utiliza una12AS7 como osciladora y la bobina está formada por 30 + 70 espiras de hilo 28 en un bastón de ferrita. La antena es un cable con un máximo de 5 metros de longitud. El componente crítico además de la válvula es el transformador. El núcleo de la bobina debe ser móvil para hacer el ajuste de la frecuencia. Se puede tener un núcleo fijo, sustituyéndose C2 por un capacitor variable. El alcance debe llegar a unos 100 metros.




